- Спасибо получено: 0
Помогите определить номиналы деталей!
- regent
-
Автор темы
Less
Больше
20 окт 2009 21:42 #1
от regent
regent создал тему: Помогите определить номиналы деталей!
Сразу говорю я чайник!
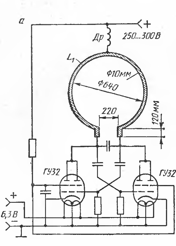
Есть схема генератора, очень нужно собрать, из того что есть на схеме есть только две лампы, более или менее прямые руки, накальный транс на требуемое напряжение, питание на лампы подаю из розетки через выпрямитель и фильтрующий конденсатор. А вот номиналы сопротивлений и конденсаторов я не знаю и пока еще не умею рассчитывать!
Очень нужно получить частоту 20кГц, или близкую к ней! Но не звуковую... уж простите за примитивизм моего вопроса, обещаю учиться!
Главное собрать генератор именно по этой схеме, потому что я уже сижу с паяльником, срок поджимает. А у меня в руках только две коробочки с лампами. А кому не сложно, будьте добры растолкуйте мне как рассчитываются номиналы деталей в таком генераторе...
Добавлю, что мне сказали что на 20кГц, таким образом не сделать, тогда скажите на какой частоте будет работать такой генератор? какая для него рабочая будет?
Нужно просто как воздух. Помогите уж...
Есть схема генератора, очень нужно собрать, из того что есть на схеме есть только две лампы, более или менее прямые руки, накальный транс на требуемое напряжение, питание на лампы подаю из розетки через выпрямитель и фильтрующий конденсатор. А вот номиналы сопротивлений и конденсаторов я не знаю и пока еще не умею рассчитывать!
Главное собрать генератор именно по этой схеме, потому что я уже сижу с паяльником, срок поджимает. А у меня в руках только две коробочки с лампами. А кому не сложно, будьте добры растолкуйте мне как рассчитываются номиналы деталей в таком генераторе...
Добавлю, что мне сказали что на 20кГц, таким образом не сделать, тогда скажите на какой частоте будет работать такой генератор? какая для него рабочая будет?
Нужно просто как воздух. Помогите уж...
Вложения:
Пожалуйста Войти или Регистрация, чтобы присоединиться к беседе.
- mao-sin
-
Less
Больше
- Спасибо получено: 0
21 окт 2009 03:58 #2
от mao-sin
mao-sin ответил в теме Помогите определить номиналы деталей!
Это - генератор УКВ диапазона (десятки-сотни МГц), а нужная Вам частота - фактически ультразвук. Естественно, заставить этот генератор работать на частоте в 1000 раз меньшей невозможно. Пытай Яндекс на тему "схема ультразвукового генератора", в картинках он есть.
Пожалуйста Войти или Регистрация, чтобы присоединиться к беседе.
Модераторы: Doc