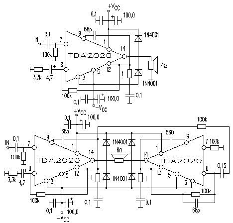
Усилитель TDA2020 20W

 

 

VCC MAX=(-+)22V

P0=20W

ICCO TYP=60mA

Rin=5 MOhm

VCC TYP=(-+)17V

RL=4 Ohm

ICCO MAX=-

Gain=30dB

VCC RNG=(-+)5...22V

TDH=10%

IMAX=3,5A

Noise=4mkV

 

Обсудить эту статью на форуме (0 ответов).
Вся информация, предоставленная на данном ресурсе разрешена к ознакомлению детям школьного возраста. Все практическое использование может быть связана с повышенной электрической опасностью и разрешено детям только под присмотром взрослых.