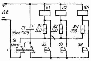
Релейный переключатель рода работы предназначен для магнитофона с электрическим управлением лентопротяжным механизмом. Его достоинства - простота схемы и экономичность использования контактных групп реле (все они используются только для коммутации исполнительных цепей в магнитофоне).
В момент подачи питания все pеле оказываются под напряжением, но ни одно из них не срабатывает, так как токи через их обмотки значительно меньше токов срабатывания. Это достигнуто соответствующим выбором сопротивлений резисторов R1-RN.
Выбранный режим работы включают одной из кнопок S2-SN, но только после того, как предварительно на короткое время будет нажата кнопка S1 и конденсатор С1 зарядится до напряжения источника питания. При нажатии на кнопку выбранного режима конденсатор С1 разряжается через обмотку соответствующего реле, оно срабатывает и остается в этом состоянии, так как ток через его обмотку превышает ток отпускания. Для возврата устройства в исходное состояние достаточно нажать на кнопку S1. Ее контакты разорвут цепь питания сработавшего ранее реле и подключат конденсатор С1 на зарядку, подготовляя тем самым условия для включения следующего режима.
В переключателе применены реле РЭС-9 (паспорт РС4 524 003). При использовании других реле необходимо заново подобрать резисторы R1-RN так, чтобы токи через обмотки были меньше токов срабатывания, но больше токов отпускания. Емкость конденсатора С1 выбирают из условия надежного срабатывания только одного реле. Это исключает возможность одновременного включения нескольких реле при случайном нажатии на несколько кнопок.
Релейный переключатель рода работы
Doc
Просмотров: 4385