
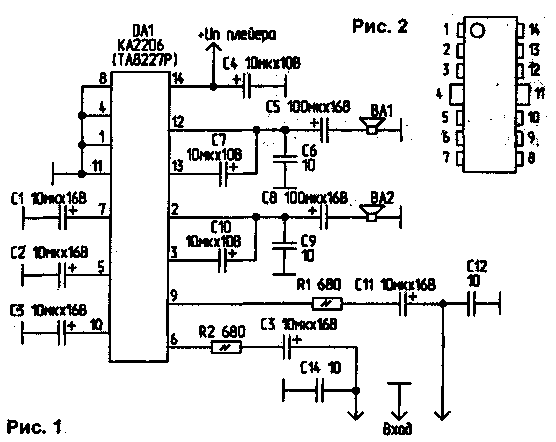
Бывает, хочется послушать музыку во дворе с друзьями. Но тащить большой магнитофон неудобно, а плейер предназначен для одного. Предлагаю простую схему усилителя с выходной мощностью около 3 Вт (рис.1). Главное достоинство схемы - низкое напряжение питания (как и у плейера - 3...6 В). Эту схему можно использовать в минимагнитофоне, чтобы повысить его мощность. Динамики можно использовать любые, но с мощностью не менее 3 Вт и с сопротивлением 4 Ом. Вместо КА2206 можно использовать ИМС ТА8227Р. Цоколевка микросхемы приведена на рис.2.
Н.ХАЦКЕВИЧ, г. Белове Кемеровской обл.