Шумоподавитель Долби

Шумоподавитель Долби относится к числу наиболее эффективных шумопонижающих устройств, однако требует жесткой привязки уровней сигнала как в режиме записи, так и в режиме воспроизведения.

http://www.radio-portal.ru/https://vpn.radio-portal.su/cache/r4-23_images_stories_pictures_thumb_medium600_0.png

http://www.radio-portal.ru/images/stories/pictures/r4-23.png
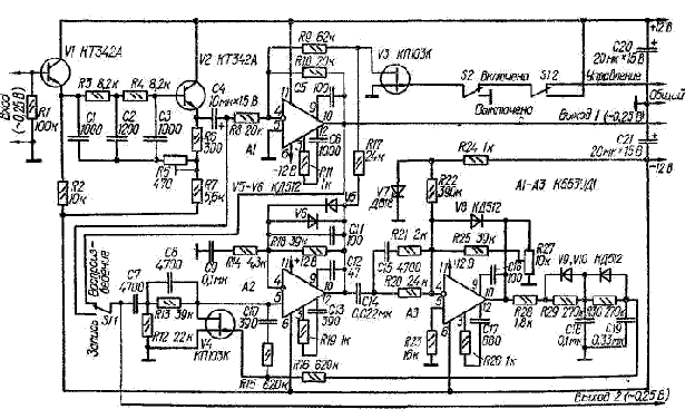
Устройство (рис. IV 23) состоит из входного эмиттерного повторителя (VI), активного режекторного фильтра (V2), подавляющего поднесущую частоту (31,25 кГц) при записи стереофонических передач; сумматора (А1), канала регулирования, канала формирования управляющего сигнала и электронного выключателя (V3), который в случае необходимости можно заменить обычным механическим выключателем В свою очередь, канал регулирования состоит из фильтра верхних частот R12C7 с постоянной времени т = 106 мке, управляемого аттенюатора R13V4 и усилителя-ограничителя на ОУ А2 и диодах V5, V6, а канал формирования управляющего сигнала - из усилителя на ОУ A3 и выпрямителя на диодах V9, V10.

Вместо указанных на схеме транзисторов КТ342А в шумоподавителе можно использовать другие транзисторы этой серии, а также транзисторы серии КТ3102. Транзисторы КП103К можно заменить транзисторами этой серии с буквенными индексами Л, М, Н; при этом необходимо, чтобы напряжение отсечки транзистора, используемого в управляемом аттенюаторе (V4), было не менее 0,9 В. Вместо диодов КД512 можно применить диоды КД503, КД521 и т. п. ОУ А1-A3 могут быть любого типа, но с соответствующими цепями коррекции.

Налаживание шумоподавителя сводится к установке подстроечным резистором R27 напряжения на затворе транзистора V4, равного его напряжению отсечки. Для этого устанавливают движок резистора в верхнее (по схеме) положение, переключатель S1 - в положение Запись, а переключатель S2 - в положение Включено, и подают на вход переменное напряжение 7,9 мВ (-30 дБ от номинального, равного 250 мВ) частотой 3 кГц. При этом напряжение сигнала на выходе 1 должно быть равно 22 мВ. Перемещая движок резистора R27 вниз (по схеме) находят такое его положение, при котором напряжение на выходе 1 едва заметно начинает уменьшаться. В этом положении движок фиксируют.

Обсудить эту статью на форуме (0 ответов).
Вся информация, предоставленная на данном ресурсе разрешена к ознакомлению детям школьного возраста. Все практическое использование может быть связана с повышенной электрической опасностью и разрешено детям только под присмотром взрослых.