Давно уже известен тот факт, что заряд электрохимических источников питания асимметричным током, при соотношении Iзар : Iразр = 10:1, в частности кислотных аккумуляторов, приводит к устранению сульфатации пластин в батарее, т.е. к восстановлению их емкости, что, в свою очередь, продлевает срок службы батареи.
Не всегда есть возможность находиться возле зарядного устройства и все время контролировать процесс зарядки, поэтому зачастую либо систематически недозаряжают батареи, либо перезаряжают их, что, конечно же, не продлевает срок их службы.
Из химии известно, что разность потенциалов между отрицательной и положительной пластинами в аккумуляторной батарее составляет 2,1 В, что при 6 банках дает 2,1 х 6 = 12,6 В.
При зарядном токе, равном 0,1 от емкости батареи, в конце заряда напряжение повышается до 2,4 В на одну банку или 2,4 х 6 = 14,4 В. Повышение зарядного тока ведет к повышению напряжения на аккумуляторе и повышенному разогреву и кипению электролита. Заряд же током ниже 0,1 от емкости не позволяет доводить напряжение до 14,4 В, однако длительный (до трех недель) заряд малым током способствует растворению кристаллов сульфата свинца. Особенно опасны дендриты сульфата свинца, "проросшие" в сепараторах. Они и вызывают быстрый саморазряд батареи (с вечера зарядил
аккумулятор, а утром не смог запустить двигатель). Вымыть же дендриты из сепараторов можно только растворением их в азотной кислоте, что практически нереально.
Путем длительных наблюдений и экспериментов была создана электрическая схема, которая, по мнению автора, позволяет довериться автоматике. Опытная эксплуатация в течение 10 лет показала эффективную работу устройства. Принцип работы заключается в следующем:
1. Заряд производится на положительной полуволне вторичного напряжения.
2. На отрицательной полуволне происходит частичный разряд батареи за счет протекания тока через нагрузочный резистор.
3. Автоматическое включение при падении напряжения за счет саморазряда до 12,5 В и автоматическое отключение от сети 220 В при достижении напряжения на батарее 14.4 В.
Отключение — бесконтактное, посредством симистора и схемы контроля напряжения на батарее.
Важное достоинство метода заключается в том, что пока не подключена батарея (автоматический режим), блок не может включиться, что исключает короткое замыкание при замыкании проводов, подводящих зарядный ток к аккумуляторной батарее.
При сильно разряженной батарее включение блока возможно посредством переключателя "АВТОМАТ-ПОСТОЯННО".
Еще одно очень важное достоинство — отсутствие сильного "кипения", что в совокупности с автоматическими отключением и включением позволяет оставлять включенное устройство без присмотра на длительное время. Автор про-экспериментировал с двухнедельным режимом постоянного включения в режиме "АВТОМАТ".
В целях пожарной безопасности необходимо, чтобы зарядное устройство было в металлическом корпусе, сечение подводящих проводников к батарее — не менее 2,5 мм2. Обязателен также надежный контакт на клеммах батареи.
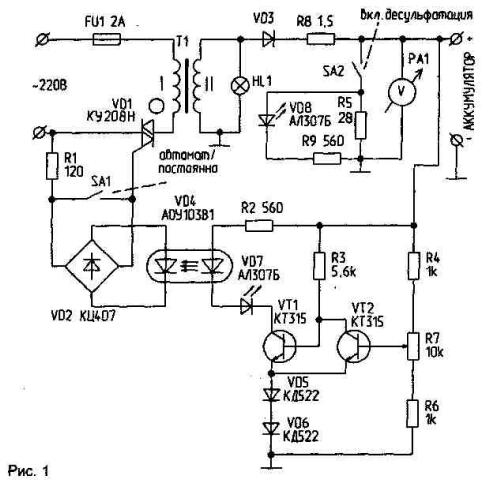
Напряжение сети 220 В подается через предохранитель FU1 и симис-тор VD1 на первичную обмотку силового трансформатора. Со вторичной обмотки переменное напряжение U2=21 В выпрямляется диодом VD3 и через балластный резистор R8 сопротивлением 1,5 Ом поступает на клемму "+" батареи, к которой подключены вольтметр РА1 на 15 В, тумблер SA2 "ВКЛ.ДЕСУЛЬФАТА-ЦИЯ" и схема контроля и управления, представляющая собой триггер Шмитта с гистерезистором около 1,8 В, определяемым падением напряжения на диодах VD5, VD6 и переходе база-эмиттер транзистора VT2. Транзистор VT1 при напряжении на аккумуляторе 12,6 В включается, и через оптрон VD4 включает симистор VD1, что приводит к включению трансформатора Т1 и подаче напряжения на заряжаемый аккумулятор.
Подключение тумблером SA2 резистора R5 обеспечивает асимметричность формы зарядного тока. Свето-диоды VD8 и VD7 индицируют включение блока в режимы "ДЕСУЛЬФА-ТАЦИЯ" и "ВКЛ." соответственно. Резистором R7 устанавливается момент отключения блока при напряжении на вольтметре 15 В (=0,5 В падает на подводящих проводах). Мостик VD2 обеспечивает включение симис-тора на обеих полуволнах сетевого напряжения и нормальную работу трансформатора. Тумблер SA1 служит для включения режима "ПОСТОЯННО".
Детали. Силовой трансформатор — Р=160 Вт, Uii=21 В, провод — ПЭВ-2-2,0. R8 — проволочный (нихром) диаметром 0,6 мм. R5 — ПЭВР на 10...15 Вт. Диод VD3 — любой из Д242...Д248 с любым буквенным индексом на радиаторе площадью S=200 см2. Остальные резисторы типа — МЛТ, СП; симистор — КУ208Н, без радиатора. S1 — любой, например МТ1. S2 — ТВ1-1. HL1 —любая лампа на 12 В. РА1 — измерительная головка на 15 В.
Источник : РАДИОЛЮБИТЕЛЬ 10/98, c.30-31.