По принципу действия эта система относится к устройствам, в которых энергия, расходуемая на искро-образование, накапливается (в отличие от батарейной и транзисторной систем) не в магнитном поле катушки зажигания, а в электрическом поле специального накопительного конденсатора, который с помощью коммутирующего элемента (тиристора) в определенные моменты подключается к ней.
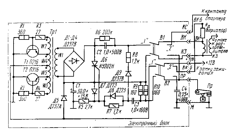
Рис. 33. Принципиальная электрическая схема конденсаторной (ти-ристорнои) системы зажигания
Принципиальная электрическая схема конденсатор-нон (тиристорной) системы зажигания с непрерывным накоплением энергии (рис. 33) в принципе мало чем отличается от схемы, впервые опубликованной в одном из американских журналов, а также в отечественных изданиях. Основное ее отличие состоит в более тщательном подборе элементов, что значительно повышает эксплуатационную надежность и уменьшает габариты устройства.
В частности, в схеме применены менее мощные транзисторы (П216), изменены номиналы резисторов в их базовых цепях, уменьшены габариты трансформатора, в выпрямителе использованы диоды с обратным напряжением 600 В, применен один мощный тиристор (вместо двух) на большее рабочее напряжение, введены переключатели Bl, B2.
Все это позволило разработать более компактную конструкцию, которая находилась в опытной эксплуатации на автомобиле в течение ряда лет. Схема сохраняет работоспособность при колебаниях питающего напряжения в пределах 9-15 В.
Ее можно использовать на любом автомобиле с напряжением питания электрооборудования +12 В. По сравнению со стандартной системой зажигания она не требует никаких дополнительных приборов, кроме электронного блока.
Схема может работать с катушками зажигания типа Б1, Б7, Б7А, Б13, Б21, Б21А, Б117 (автомобиль "Жигули": ВАЗ-2101, 2102, 2103, 21011). Рабочий диапазон температур от -40 до +65° С. Система зажигания состоит из электронного блока ЭБ, катушки зажигания КЗ с вариатором (или без него), контактов прерывателя Пр.
Основой системы является электронный блок, преобразующий сигналы прерывателя в импульсы высокого напряжения с амплитудой 400 В, которые затем поступают на обычную катушку зажигания, повышающую выходное напряжение до 25-30 кВ.
Электронный блок состоит из преобразователя напряжения на транзисторах 77, Т2 и трансформаторе Тр1; высоковольтного выпрямителя на диодах Д1-Д4;
накопительного конденсатора С2; бесконтактного ти-ристорного коммутатора Д6; схемы управления тири-стором Д6, выполненной на конденсаторе СЗ, диодах Д7-Д9 и резисторах R5, R7-R9; двух переключателей Bl и B2, предназначенных для быстрого перехода в случае необходимости с электронного зажигания (положение 1) на обычное батарейное (положение 2) и наоборот.
Преобразователь напряжения выполнен по схеме симметричного мультивибратора с индуктивной связью на мощных германиевых транзисторах 77, Т2 с нагрузкой в цепи эмиттера, в качестве которой используется первичная обмотка трансформатора Тр1. Несмотря на то что транзисторы 77, Т2 работают в ключевом режиме (режиме насыщения), на них выделяется значительная мощность в моменты переключения из проводящего состояния в непроводящее и наоборот.
Коллекторные цепи транзисторов Т1, Т2 можно соединить с корпусом прибора. Это позволяет крепить транзисторы непосредственно без изоляционной прокладки на корпусе электронного блока, используя последний в качестве радиатора.
Транзисторы 77, Т2 рассчитаны на кратковременные (около 1 мс) четырехкратные перегрузки по току, возникающие в каждом цикле искрообразования при срыве генерации преобразователя в моменты включения тиристора Д6. Резисторы Rl, R2 служат для подачи начального смещения, а резисторы R3, R4 ограничивают ток базы соответствующего транзистора.
трансформатор Тр1 рассчитан так, что коллекторный ток транзисторов 77, Т2 вызывает насыщение его сердечника. Это явление улучшает КПД преобразователя, а также способствует повышению устойчивости его работы в различных условиях эксплуатации авто мобпля. Частота генерации преобразователя - 800 Гц
Выпрямитель преобразователя выполнен по мостовой схеме на силовых диодах Д237В, получает питание от вторичной обмотки Тр1 и рассчитан на максимальное выходное напряжение 500 В. Он работает на нагрузку, состоящую из накопительного конденсатора С2 с малыми токами утечки и резистора R6, предназначенного для разряда конденсатора С2 при выключении питания электронного блока.
Энергия, накопленная в конденсаторе С2, передается в первичную обмотку катушки зажигания при включении тиристора Д6, выполняющего функцию электронного коммутатора. Момент включения тиристора Д6 определяется моментом размыкания контактов прерывателя.
При замкнутых контактах прерывателя тиристор Д6 надежно закрыт отрицательным смещением - 0,7В, образующимся при протекании тока в прямом направлении через диод Д7. Резистор R5 ограничивает величину тока через диод Д7 и "привязывает" управляющий электрод тиристора к нулевому потенциалу. Накопительный конденсатор С2 заряжен в этот момент от выпрямителя до высокого потенциала UВ (см. табл. 4), который зависит от напряжения питающей сети автомобиля.
Когда контакты прерывателя замкнуты, через них протекает ток, определяемый прямым сопротивлением диода Д5 и величиной резисторов R9, RIO. В нашем случае ток равен примерно 150 мА, а конденсатор СЗ через диод Д7 и резистор R7 заряжен практически до напряжения +12 В источника питания *.
Как только контакты прерывателя разомкнутся, напряжение, до которого заряжен конденсатор СЗ, прикладывается (в положительной полярности) через диод Д8 и резисторы R9. RIO к управляющему электроду тн-ристора Д6'. Тиристор открывается, и конденсатор С2 разряжается на первичную обмотку катушки зажигания, что сопровождается возникновением высоковольтного импульса U2макс во вторичной обмотке.
Цепь R8Д9 пропускает отрицательный импульс от первичной обмотки катушки зажигания, который полностью перезаряжает конденсатор СЗ в противоположной полярности, как только открывается тиристор Д6. Этим мгновенно снимается положительное смещение с управляющего электрода тиристора Д6 и исключается возможность многократного переключения последнего, когда контакты прерывателя еще разомкнуты.
Таким образом, благодаря цепочке Р8Д9 положительное напряжение на управляющий электрод тиристора Д6 подается в виде короткого импульса длительностью около 2-3 мкс, что обеспечивает образование лишь одной искры в момент размыкания контактов. Диод Д5 и конденсатор С/ образуют развязывающий фильтр низкой частоты, предотвращающий проникновение помех в цепь питания.
*Постоянная времени заряда конденсатора СЗ выбрана рав-ной 120 мс, чтобы избежать возникновения дополнительного запускающего импульса из-за "дребезга" контактов прерывателя после их замыкания.
В табл. 5 приведена экспериментальная зависимость тока, потребляемого электронным блоком, от числа оборотов коленчатого вала для четырехцилиндрового двигателя при напряжении источника питания 12 В.
Из таблицы можно сделать вывод о принципиальном отличии этой системы (в смысле потребления тока от источника питания) от батарейной и транзисторной систем зажигания.
В самом деле, в батарейной системе зажигания (если вал двигателя неподвижен, а контакты прерывателя замкнуты) ток через первичную обмотку катушки зажигания достигает максимального значения и равен примерно 4 А (потребляемая мощность около 50 Вт). В этих же условиях для транзисторной системы зажигания ток первичной обмотки равен примерно 7 А (потребляемая мощность около 80 Вт).
При увеличении оборотов двигателя ток разрыва уменьшается и среднее значение тока, потребляемого от источника, снижается до 1,5-2 А и 3-4 А соответственно для батарейной и транзисторной систем.
В конденсаторной же системе при неработающем двигателе и любом положении контактов прерывателя потребляемый ток от источника питания равен примерно 0,5 А (потребляемая мощность около 6 Вт). Этот ток увеличивается прямо пропорционально скорости вращения вала, достигая при 6000 об/мин примерно 2 А (потребляемая мощность около 25 Вт).
Помимо очевидной экономичности, конденсаторная система имеет некоторые дополнительные преимущества.
Одно из них состоит в следующем. Если в автомобиле с батарейным (или транзисторным) зажиганием забыли выключить замок зажигания, а контакты прерывателя при этом случайно окажутся замкнутыми, то может выйти из строя катушка зажигания, так как через нее длительное время будет протекать значительный ток. В конденсаторной системе такая ситуация не вызывает никаких вредных последствий, не считая некоторой разрядки аккумуляторной батареи током 0,5-0,6 А.
Другое преимущество заключается в том, что конденсаторная система обеспечивает уверенный запуск двигателя рукояткой при сильно разряженной аккумуляторной батарее, поскольку она потребляет ничтожный ток при неподвижном вале двигателя. Запустить двигатель в таких же условиях при батарейной (или транзисторной) системе зажигания не представляется возможным.
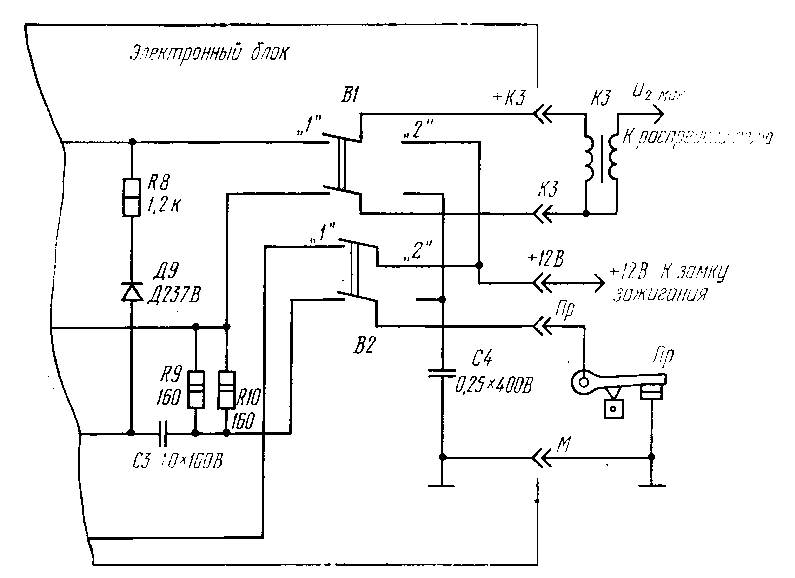
Рис. 34. Схема подключения катушки зажигания без вариатора к конденсаторной системе зажигания (для автомобилей "Жигули" всех моделей)
На рис. 34 приведена правая часть принципиальной схемы электронного блока конденсаторной системы, предназначенной специально для автомобиля "Жигули" всех моделей, которая отличается коммутацией катушки зажигания при переводе системы в режим обычного батарейного зажигания (положение 2). Это обусловлено тем, что система зажигания автомобиля "Жигули" не имеет вариатора в первичной цепи катушки зажигания.
Конденсатор С4 на схемах рис. 33, 34 прн установке переключателей В1 и В2 в положение 2 оказывается включенным параллельно контактам прерывателя и выполняет роль искрогасительного конденсатора. Стандартный же конденсатор при установке электронного блока должен быть отключен.
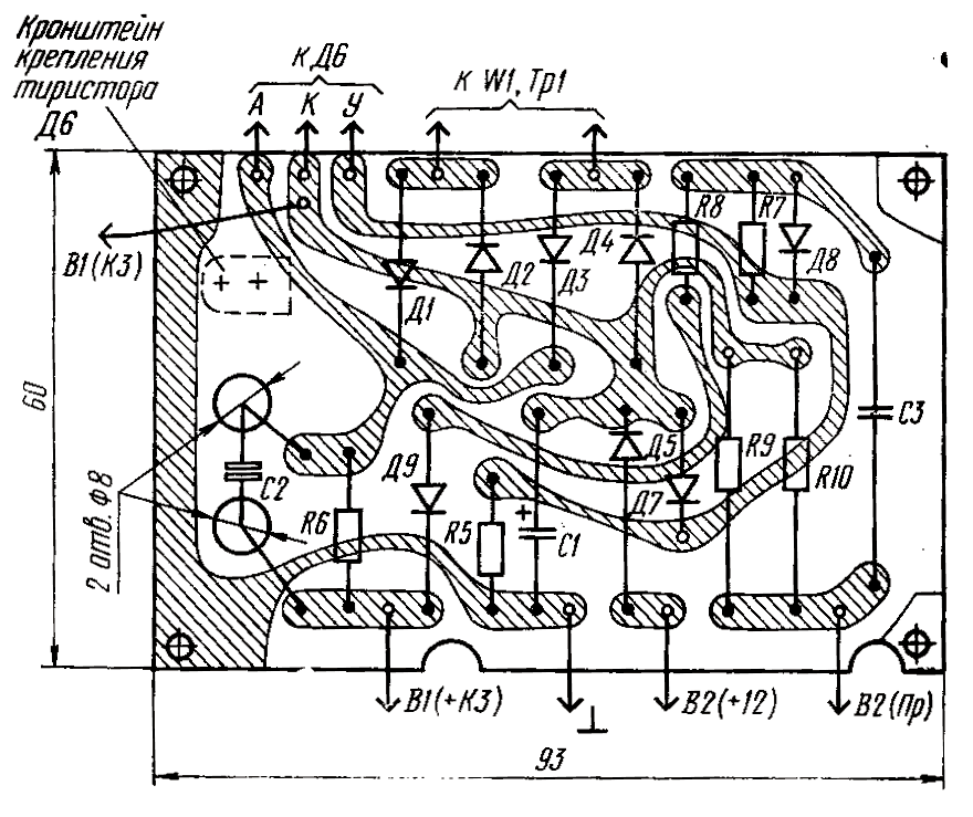
Рис. 35. Монтажная плата и схема соединений электронного блока конденсаторной системы зажигания
Конструктивно электронный блок выполнен в виде прибора, имеющего габариты 100Х100Х50 мм. Корпус прибора изготовлен из листового материала (сплав АМЦАМ) толщиной 2-3 мм.
Внутри корпуса размещается трансформатор Тр1, конденсаторы С2, С4 и печатная плата, показанная на рис. 35 в натуральную величину. Транзисторы T1, T2 укрепляются винтами МЗ на боковой стенке снаружи корпуса. Там же крепятся переключатели В1 и В2. Резисторы R1-R4 монтируются непосредственно между выводами транзисторов и трансформатора Тр1. Для подключения внешних цепей из корпуса прибора через изоляционную втулку выводится пучок проводов, длина которых зависит от места установки прибора под капотом автомобиля. Прибор крепится жестко (без амортизаторов); должен обеспечиваться хороший тепловой контакт с элементами конструкции автомобиля.
При необходимости транзпсторы П216 можно заменить на П216А, П217А, П217В.
Все резисторы - типа МЛТ или МТ; конденсаторы С2 и С4 - типа МБГО соответственно на рабочее напряжение 500 и 400 В; конденсатор С1 - типа К50-6, а конденсатор СЗ - типа МБМ на рабочее напряжение 160 В. Переключатели В1. В2 - типа ТП2-1 или МТ-2.
Трансформатор Тр1 - тороидального типа, выполнен на сердечнике ОЛ 20/32-10 мм, сечение железа- 0,6 см^2. Обмотки трансформатора имеют следующие данные: w1=1700 витков провода ПЭВ-2 0,18; w2, w3 - по 15 витков ПЭВ-2 0,31, мотать одновременно в два провода; w4, w5 - по 50 витков провода ПЭВ-2 0,78. Намотка трансформатора ведется в одну сторону, последовательность намотки соответствует нумерации обмоток. Обмотки изолируют друг от друга слоем кабельной бумаги. После намотки трансформатор полезно про питать лаком для уменьшения гигроскопичности и увеличения электрической прочности.
Несколько практических рекомендаций. Используя конденсаторную систему зажигания, следует увеличить зазоры свечей зажигания примерно до 1 мм независимо от модели автомобиля. Кроме того, при проведении профилактических работ не надо обильно пропитывать маслом фильц кулачка прерывателя во избежание замасливания его контактов. Выполнение этого условия является гарантией надежной работы системы зажигания.
Установку (или проверку) угла опережения зажигания производят в положении 2 переключателей В1, В2 электронного блока с помощью лампы накаливания, включенной параллельно контактам прерывателя, по обычной методике. После окончания работы переключатели вновь переводят в положение 1 ("электронное зажигание"), а октан-корректором устанавливают опережение зажигания на 1° позже, чем рекомендовано заводом-изготовителем для батарейного зажигания. Объясняется это тем, что выработка искры при электронном зажигании происходит чуть раньше (в самом начале размыкания контактов прерывателя), чем при батарейном. Окончательную корректировку опережения зажигания производят на ходу автомобиля.
Наладка блока сводится к проверке генерации преобразователя напряжения (при работе преобразователя слышен негромкий писк с частотой 700-800 Гц) и контролю потребления тока от источника питания (см. табл. 5) в зависимости от числа оборотов двигателя.
При использовании заведомо исправных деталей и правильной распайке концов трансформатора Тр1 электронный блок начинает работать сразу при установке его на автомобиль и соединении с приборами электрооборудования в соответствии с принципиальными схемами рис. 33, 34.
Следует заметить, что такая система'электронного зажигания установлена на автомобиле "Жигули" ВАЗ-2101, который эксплуатируется круглогодично. Об эффективности ее работы можно судить хотя бы по следующим данным. При пробеге свыше 100 тыс. км не было отмечено ни одного отказа системы зажигания, а контакты прерывателя выглядят как новые. За все время работы системы потребовалось лишь один раз (через 50 тыс. км) проверить правильность установки зажигания и зазор между контактами прерывателя. Незначительное изменение зазора было вызвано износом текстолитовой подушечки прерывателя.
Предупреждение. Тахометр автомобиля "Жигули" ВАЗ-2103 при использовании конденсаторной (или транзисторной) системы зажигания работать не будет, так как амплитуда импульсов, поступающих на него с контактов прерывателя, в этом случае равна 12 В.
|