Сигнализатор превышения скорости предупреждает водителя автомобиля о превышении заданной скорости движения. Кроме этого прибор (рис. 1.4) подскажет водителю, что нужно отпустить ручной тормоз во время движения, а после поворота - выключить указатель поворотов.
Прибор рассчитан для автомобилей марки "Жигули", но его можно использовать и на автомобилях других марок.

Основные параметры Напряжение питания, В 10,8...15
Устанавливаемые значения скорости, км/ч 40, 60, 70, 90
Погрешность прибора, % ╠5
Потребляемый ток, А 0,1
Габариты, мм 180 x 100 x 46
Масса, кг 0,5
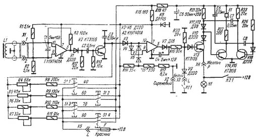
Входным сигналом служит ЭДС, наведенная переменным магнитным полем вращающегося магнита спидометра в катушке-датчике, закрепляемой на корпусе спидометра. Прибор содержит следующие узлы: измерительное устройство, состоящее из формирователя импульсов на микросхеме АI, поступающих с катушки-датчика L1, транзисторного ключа V2, компаратора на микросхеме А2, источника опорного напряжения на резисторах R14, R15, R17, измерительной RС-цепи на резисторах R4-R7, R8--R11 и конденсаторе СЗ и стабилизатора напряжения на стабилитроне V8; выпрямителя на диоде V7 и конденсаторе С4; транзисторный ключ V13 и устройство звуковой сигнализации - мультивибратор на транзисторах V14, V15, нагрузкой которого является головной телефон В1.
Прибор работает следующим образом. Допустим, контакты реле K1.1 включения контрольной лампы ручного тормоза и контакты К2.1 указателей поворота разомкнуты. После включения питания одним из кнопочных выключателей S1.1-S1.4 до начала движения сигнал от катушки L1 к формирователю импульсов А1 не поступает и на выходе усилителя переменного напряжения нет. Следовательно, транзистор V2 закрыт, и напряжение на его коллекторе равно напряжению стабилизации стабилитрона V8 (8...9,5 В). Это напряжение через диод V3 поступает на неинвертирующий вход 10 компаратора А2. Оно больше опорного напряжения, поступающего на инвертирующий вход 9 компаратора с делителя R14, R15, R17 через диод V6, и поэтому на выходе 5 компаратора напряжение близко к напряжению стабилизации стабилитрона VS. Это напряжение через диод V7, резистор R19 и диод V10 поступает на базу транзистора V13 и открывает его. Участок коллектор - эмиттер открытого транзистора V13 через диод V12 и контрольную лампу HI указателей поворота шунтирует базу транзистора V14 мультивибратора, вследствие чего устройство звуковой сигнализации не работает.
Конденсатор СЗ заряжается до напряжения стабилизации стабилитрона V8 через одну из цепочек R4 R8, R5 R9, R6 RI0, R7 R11 в зависимости от того, какой из выключателей S1.1-S1.4 включен.
После начала движения автомобиля от катушки датчика L1 на вход усилителя-ограничителя А1 начинает поступать синусоидальный сигнал, частота которого пропорциональна частоте вращения магнита спидометра или, что то же самое, скорости движения автомобиля. На выходе усилителя-ограничителя появляется последовательность положительных импульсов прямоугольной формы с амплитудой, близкой амплитуде напряжения стабилизации стабилитрона V8, Эти импульсы проходят через диод VI и конденсатор С2 к базе транзистора V2 и открывают его. Конденсатор СЗ в течение времени действия импульса быстро разряжается через переход коллектор - эмиттер открытого транзистора V2.
Во время паузы между импульсами транзистор V2 закрыт, и конденсатор СЗ заряжается через резисторы R4, R8, R5, R9, R6, RIO, R7, R11. Напряжение, до которого успеет зарядиться конденсатор СЗ, зависит от сопротивления зарядной цепи и от частоты вращения магнита спидометра. Чем больше скорость, тем до меньшего напряжения зарядится конденсатор СЗ.
Когда скорость движения автомобиля меньше значения, установленного на приборе, конденсатор за время паузы успевает зарядиться до напряжения, превышающего опорное напряжение на инвертирующем входе 9 компаратора А2. На выходе компаратора появляется последовательность положительных импульсов. Длительность каждого из этих импульсов определяется временем, в течение которого напряжение на конденсаторе СЗ или, точнее, на неинвертирующем входе 10 компаратора А2 превышает опорное напряжение на его инвертирующем входе 9. Эти импульсы выпрямляются диодом V7 и через резистор R19 и диод V10 открывают транзистор 413. В этом случае устройство звуковой сигнализации не работает.
По мере увеличения скорости движения автомобиля пауза между импульсами уменьшается, конденсатор СЗ успевает зарядиться до меньшего напряжения, и длительность положительных импульсов на выходе компаратора А2 уменьшается. Когда скорость движения автомобиля достигает значения, установленного на приборе, конденсатор СЗ за время паузы успевает зарядиться только до напряжения, равного (или меньше) - опорному. Положительные импульсы на выходе компаратора А2 исчезают, транзистор V13 закрывается, и устройство звуковой сигнализации начинает работать, предупреждая водителя о превышении заданной скорости.
При движении с затянутым ручным тормозом или невыключенными указателями поворота в качестве индикатора используют только устройство звуковой сигнализации и транзисторный ключ V13. При включении ручного тормоза начинают периодически замыкаться контакты К1.1 реле включения контрольной лампы, шунтирующие через диод V9 цепь подачи положительного напряжения к базе транзистора V13, который начинает периодически закрываться. При этом устройство звуковой сигнализации работает синхронно с контрольной лампой ручного тормоза.
При включении указателей поворота периодически замыкаются контакты К2.1 реле, включающего контрольную лампу HI указателей поворота. При замыкании контактов полное напряжение питания поступает к эмиттеру транзистора V13, который закрывается независимо от того, какое напряжение имеется в это время на его базе, и устройство звуковой сигнализации работает синхронно с прерывателем указателей поворота. Катушка L1 содержит 80 витков провода ПЭВ-2 - 1, намотанных на каркасе диаметром 12 мм и длиной 30 мм.