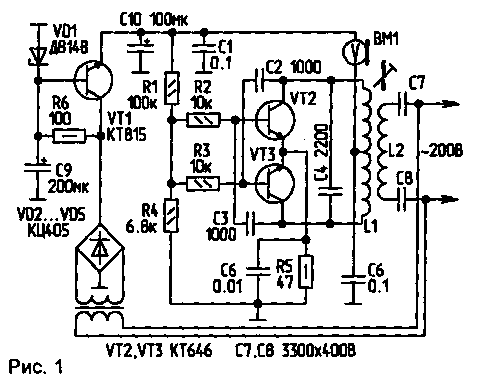
Применение такого рода устройств оправдывает себя при переговорах в пределах одного дома или соседних домов, т.к. применять радиостанцию на таких расстояниях нецелесообразно. Принцип действия этих устройств основан на том, что по проводам электрической сети можно передавать электромагнитные колебания с частотой от 10 кГц до 100 кГц, и они могут беспрепятственно распространяться до ближайшего трансформатора. В простейшем виде это устройство представляет собой генератор ВЧ (рис. 1) и детекторный приемник с УНЧ. (рис. 2) Автогенератор собран по обычной двухтактной схеме. Он модулируется по амплитуде угольным микрофоном ВМ1, включенным в цепь питания коллекторов VT2, VT3. Катушки L1...L4 размещены в сердечниках СБ-12 или аналогичных. Важно, чтобы L1 и L4 были идентичными по количеству витков, диаметру провода и способу намотки. L1 содержит 100 витков с отводом от середины. Провод — диаметром 0,1...0,15 мм. Обе половины катушки наматываются в разных секциях каркаса, т.е. половина — в одной секции и половина — в другой. L2 содержит примерно 50 витков провода диаметром 0,1...0,15 мм и наматывается поверх L1. L4 — 100 витков; наматывается аналогично L1, но без отвода. L3 — 50 витков, поверх L4. Для увеличения дальности действия можно применить УВЧ в приемнике, а также усилитель мощности в передатчике. Для более качественной модуляции можно применить модулятор на транзисторах, желательно с микрофонным компрессором. Не следует сильно увеличивать мощность, так как это приводит к появлению помех в аппаратуре, питаемой от сети. Не следует также повышать частоту выше 150 кГц, так как это приводит к появлению помех в эфире.