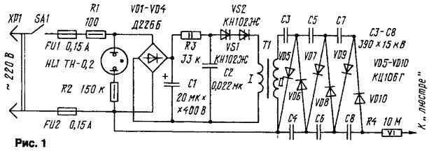
В. УТИН, г. Щелково Московской обл. В февральском номере журнала редакция обратилась к читателям с просьбой присылать свои варианты схемотехнических решений блока питания "Люстры Чижевского". На эту просьбу одним из первых откликнулся автор публикуемой статьи, предложивший несколько вариантов таких блоков. И среди них - блок питания с использованием промышленного телевизионного умножителя напряжения. Кстати, такой же вариант использовал в своей конструкции А. Михайловский из Санкт-Петербурга - об этом он сообщил редакции. Известно, что постоянное напряжение отрицательной полярности на "люстре" должно быть не менее 25 кВ, практически же в домашних условиях на "люстру" желательно подводить напряжение около 30 кВ. Исходя из этих цифр были разработаны предлагаемые блоки питания. Схема первого варианта блока питания приведена на рис. 1. Сетевое напряжение, поступающее через вилку ХР1 и выключатель SA1, подается на мостовой выпрямитель, выполненный на диодах VD1-VD4. Выпрямленное напряжение фильтруется конденсатором С1. В итоге на этом конденсаторе присутствует постоянное напряжение около 300 В, которое используется для питания релаксационного генератора, составленного из элементов R3, С2, VS1, VS2. Нагрузка генератора - обмотка I трансформатора Т1. С его обмотки II импульсы амплитудой примерно 5 кВ и частотой следования 800 Гц поступают на умножитель напряжения, собранный на диодах VD5-VD10 и конденсаторах С3-С8. Получившееся на выходе умножителя постоянное напряжение около 30 кВ подается через токоограничительный резистор R4 на "люстру". Неоновая лампа HL1 - индикатор включения блока питания. Резистор R1 ограничивает броски тока, неизбежные при зарядке конденсатора С1. Предохранители FU1 и FU2 срабатывают при выходе из строя элементов выпрямителя либо высоковольтного умножителя напряжения. Таблица 1
Трансформатор Т1 - переделанный строчный трансформатор от черно-белого телевизора. Его высоковольтную обмотку II оставляют, остальные удаляют и вместо них наматывают обмотку I - 24 витка провода ПЭВ диаметром 0,5...0,8 мм. Для такого варианта подойдет практически любой строчный трансформатор, поскольку данные- их вторичных обмоток различаются незначительно (для некоторых из них они приведены в табл. 1). К тому же выходное напряжение блока при необходимости можно увеличить добавлением еще одного каскада умножения. Нижний по схеме вывод обмотки II - это ее начало, вывод расположен ближе к магнитопроводу. Таблица 2
Динисторы VS1, VS2 - серии КН102 либо устаревшие Д228. Исходя из сведений, приведенных в табл. 2, включают последовательно столько динисторов, сколько может обеспечить суммарное напряжение включения около 200 В. Конденсаторы С3-С8 - ПСО, КОБ или другие емкостью не менее 100 пФ на номинальное напряжение не ниже 10 кВ; С1, С2 - на напряжение не ниже 400 В. Вместо указанных на схеме диоды VD1-VD4 могут быть Д237Б, Д237В, КД105Б, КД105В. При монтаже высоковольтной части блока желательно предусмотреть заливку умножителя компаундом с высоким удельным сопротивлением, например, парафином. В этом отношении перспективным представляется вариант использования готового умножителя УН 8,5/25-1,2, используемого в цветных телевизорах. Правда, в телевизоре он предназначен для получения плюсового напряжения, поступающего на анод кинескопа, нам же нужно минусовое напряжение для питания "люстры".
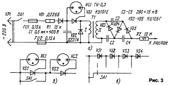
Если использовать только доработанный умножитель, напряжение на выходе его не превысит 25 кВ. Поэтому к умножителю придется добавить еще один каскад на диоде VD7 и конденсаторе С5. Номиналы конденсаторов С3 и С4 (типов К15-У1, К15-4, К15-13, К73-13) соответствуют тем, что стоят в умножителе. Схема еще одного варианта блока питания приведена на рис. 3. Релаксационный генератор в нем выполнен на элементах R1, VD1, С1, HL1, VS1. Он работает при положительных полупериодах сетевого напряжения, когда конденсатор С1 заряжается до напряжения включения аналога динистора на неоновой лампе HL1 и тринисторе VS1. Диод VD2 демпфирует импульсы самоиндукции первичной обмотки повышающего трансформатора Т1 и позволяет повысить выходное напряжение блока питания. При показанных на схеме трех каскадах умножения выходное напряжение достигает 26 кВ. Неоновая лампа - не только элемент аналога динистора, но и сигнализатор включения блока в сеть.
Высоковольтный трансформатор - самодельный, его наматывают на отрезке стержня диаметром 8 и длиной 60 мм из феррита М400НН. Вначале наматывают первичную обмотку - 30 витков провода ПЭЛШО 0,38, а затем вторичную - 5500 витков ПЭЛШО 0,05 или большего диаметра. Между обмотками и через каждые 800...1000 витков вторичной обмотки прокладывают слой изоляции из обычной поливинилхлоридной изоляционной ленты. В любом из описанных блоков возможно введение дискретной (а при желании - и плавной) многоступенчатой регулировки выходного напряжения коммутацией включенных в последовательной цепи аналогов динисторов (рис. 3,б) либо динисторов (рис. 3,в). В первом варианте обеспечиваются две ступени регулирования, во втором - до десяти (при использовании динисторов КН102А с напряжением включения 20В). В качестве высоковольтного провода, соединяющего блок питания с "люстрой", автор использовал телевизионный антенный кабель РК диаметром 8 мм со снятыми наружной изоляцией и экранирующей оплеткой. Радио N 10 (1997) |
Варианты блока питания "люстры Чижевского"
Doc
Просмотров: 8333
Чтобы "перевернуть" умножитель,
достаточно сделать в нем еще один вывод - Д (рис. 2) аккуратным высверливанием и
спиливанием компаунда для обеспечения доступа к нужной точке внутреннего монтажа
умножителя. Для этого умножитель располагают так, чтобы перед вами было
неперевернутое обозначение типа и выводов (прорезь для крепления умножителя на
плате окажется при этом справа), тогда расположение элементов в компаунде будет
соответствовать расположению их на приведенной принципиальной схеме. Два
горизонтальных выступа по краям умножителя являются местами расположения
конденсаторов, а интересующая нас точка Д находится у левого края верхнего
выступа.