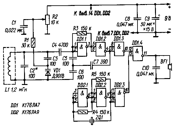
Принцип действия описываемых ниже приборов основан на сравнении значений частоты колебаний двух генераторов: образцового и перестраиваемого, изменяющего частоту под действием на его колебательный контур искомого металлического предмета. По сравнению с другими известными методами - мостовым (регистрируется разбаланс измерительного моста, в одно из плеч которого включена поисковая катушка), сдвига фаз (измеряется фазовый сдвиг колебаний образцового и перестраиваемого генераторов), передатчик-приемник (регистрируется переизлучаемая предметом РЧ энергия) - метод сравнения значений частоты (иными словами, метод биений) менее эффективен, однако более прост в реализации. Построенные с его использованием металлоискатели компактны, не требуют тщательной настройки и мер по жесткой стабилизации частоты, неприхотливы в эксплуатации, благодаря чему и получили широкое распространение. Предлагаемые вниманию читателей устройства выполнены на доступной элементной базе и могут быть с успехом использованы в строительстве, коммунальном хозяйстве для поиска скрытых под слоем земли, мусора или снега люков и крышек колодцев, решеток водостока и т.д. Металлоискатель, принципиальная схема которого изображена на рис. 1 (вариант 1), собран всего на одной микросхеме К176ЛП2. Один из ее элементов (DD1.1) использован в образцовом генераторе, другой (DD1.2) - в перестраиваемом. Колебательный контур образцового генератора состоит из катушки L1 и конденсаторов С1, С2, перестраиваемого - из поисковой катушки L2 и конденсатора С4; первый перестраивают переменным конденсатором С1, второй - подборкой конденсатора С4. На элементе DD1.3 выполнен смеситель колебаний с образцовой и переменной частотами. С нагрузки этого узла - переменного резистора R5 - сигнал разностной частоты поступает на вход элемента DD1.4, а усиленное им напряжение ЗЧ - на головные телефоны BF1. Прибором можно обнаружить пятикопеечную монету на глубине до 60 мм, а крышку канализационного колодца - на глубине до 0,6 м. Несколько большей чувствительностью обладает металлоискатель, собранный по схеме, показанной на рис.2 (вариант 2). Здесь в качестве смесителя и усилителя колебаний разностной частоты применена микросхема К118УН1Д (DA1). Образцовый и перестраиваемый генераторы этого прибора также идентичны по схеме, каждый из них выполнен на двух инверторах (DD1.1, DD1.2 и DD2.1, DD2.2 соответственно), элементы DD1.3 и DD2.3 - буферные (ослабляют влияние смесителя на генераторы). Образцовый генератор настраивают на заданную частоту переменным конденсатором С1, перестраиваемый - подборкой конденсатора С2. Повысить чувствительность металлоискателя, в котором использован метод биений, можно, настроив образцовый генератор на частоту в 5... 10 раз большую, чем частота перестраиваемого. В этом случае возникают биения между колебаниями образцового генератора и ближайшей по частоте (5...10-й) гармоникой перестраиваемого генератора, и расстройка последнего, скажем, всего на 10 Гц приводит к увеличению частоты разностных колебаний на 50... 100 Гц. Именно таким способом достигнута повышенная чувствительность прибора, схема которого изображена на рис.3 (вариант 3). Пятикопеечную монету с его помощью можно обнаружить на глубине до 100 мм, а крышку колодца - на глубине до 0,65 м. Образцовый генератор металлоискателя выполнен на двух элементах микросхемы DD2 и настроен на частоту 1 МГц. Требуемую стабильность частоты обеспечивает кварцевый резонатор ZQ1. В перестраиваемом генераторе использованы два элемента микросхемы DD1. Его колебательный контур L1C2C3VD1 настроен на частоту в несколько раз меньшую, чем образцовый генератор. Для настройки контура применен варикап VD1, напряжение на котором регулируют переменным резистором R2. Смеситель выполнен на элементе DD1.4, в качестве буферных использованы элементы DD1.3 и DD2.3. Как и в обеих предыдущих конструкциях, индикатором поиска служат головные телефоны BF1. Каждый из металлоискателей смонтирован на печатной плате из фольгированного стеклотекстолита толщиной 1,5 мм. Платы рассчитаны на установку постоянных резисторов МЛТ-0,125 (МЛТ-025, ВС-0,125), конденсаторов КТ-1 (С2-С7 - в первом, С2, С5-С8 - во втором, С2, С3, С5-С7 - в третьем), КМ-4 или К10-7В (соответственно С8-С10; С3, С4, С9-С12, С15, С16; С2, С3, С5-С7) и К50-6 (остальные). Для перестройки генераторов по частоте применены переменные конденсаторы с твердым диэлектриком от малогабаритных транзисторных приемников "Мир" (в первом устройстве) и "Планета" (во втором). Разумеется, возможно использование и любых других подходящих по габаритам и значениям минимальной и максимальной емкости конденсаторов, в том числе и подстроечных КПК-3 емкостью 25...150 пФ. 
Переменные резисторы R5 (рис.1) и R2 (рис.3) - малогабаритные любого типа. С целью уменьшения размера смонтированных плат по высоте оксидные конденсаторы С11 первого металлоискателя и С9 третьего установлены параллельно платам (их выводы согнуты под углом 90°). Кварцевый резонатор смонтирован на отдельной плате из стеклотекстолита, закрепленной параллельно основной со стороны деталей. Катушки L1 металлоискателей, собранных по схемам на рис.1 и 2, намотаны на ферритовых (600НН) кольцевых магнитопроводах типоразмера К8х6х2. В первом катушка содержит 180 витков провода ПЭЛШО 0,14, во втором - 50 витков ПЭЛШО 0,2. Намотка в обоих случаях - равномерная по всему периметру магнитопровода. В первом устройстве катушка приклеена клеем БФ-2 непосредственно к печатной плате, во втором (из-за недостатка места) - к небольшому уголку, согнутому из листового полистирола толщиной 1,5 мм и приклеенному этим же клеем к плате. Поисковая катушка каждого из трех металлоискателей намотана в кольце, согнутом из винипластовой трубки внешним диаметром 15 и внутренним 10 мм. Наружный диаметр кольца первого прибора - 250, второго и третьего - 200 мм, числа витков - соответственно 100 и 50, провод - ПЭЛШО 0,27. После намотки кольцо обернуто лентой из алюминиевой фольги для электростатического экранирования (необходимого для устранения влияния емкости между катушкой и землей). При намотке ленты следует помнить, что электрический контакт между ее концами недопустим (в противном случае образуется замкнутый виток). Для защиты от повреждений фольгу обматывают одним-двумя слоями поливинилхлоридной изоляционной ленты. Вид готовой катушки, изготовленной описанным способом, показан на рис. 4. Следует отметить, что диаметр поисковой катушки может быть как меньше, так и больше указанных значений. С его уменьшением "зона захвата" сужается, но прибор становится более чувствительным к мелким предметам, с увеличением же, наоборот, "зона захвата" расширяется, а чувствительность к мелким предметам снижается. Для индикации поиска во всех приборах применены головные телефоны ТОН-2. Питать металлоискатели можно от батареи "Крона" или 7Д-0,115, а если не смущают габариты, то и от соединенных последовательно двух батарей 3336 или шести элементов 316, 332. Вместе с источником питания смонтированную плату и органы управления помещают в небольшую плоскую металлическую коробку (латунь, луженая жесть толщиной 0,4... 0,6 мм) и закрепляют последнюю на штанге, изготовленной из дюралюминиевой трубы внешним диаметром 16... 20 мм (можно использовать старую лыжную палку). К ее противоположному концу крепят поисковую катушку. Угол между плоскостью ее витков и осью штанги - 55...80°. Для удобства хранения и транспортировки металлоискателя поисковую катушку целесообразно сделать съемной, предусмотрев для этой цели подходящий коаксиальный разъем. С платой устройства катушку желательно соединить коаксиальным кабелем (его погонная емкость меньше и более стабильна, чем у экранированного провода). Налаживание металлоискателя по схеме на рис.1 сводится к настройке его генераторов на частоту примерно 100 кГц. Перестраиваемый генератор настраивают на эту частоту подбором конденсатора С4, образцовый - конденсатора С2, установив предварительно ротор конденсатора С1 в среднее положение. Образцовую частоту подбирают такой, чтобы частота звукового сигнала в телефонах оказалась в пределах 500... 1000 Гц. Аналогично, но на частоту около 300 кГц, настраивают генераторы второго прибора (перестраиваемый - подборкой конденсатора С2, образцовый - самим переменным С1). Перестраиваемый генератор третьего металлоискателя настраивают (подбирая конденсатор С2 при среднем положении движка резистора R2) на частоту 100...200 кГц. Задача сводится к тому, чтобы при возможно большем отношении частот образцового и перестраиваемого генераторов получить громкий сигнал разностной частоты в телефонах. Частоту перестраиваемого генератора контролируют частотомером на выходе элемента DD1.3 или волномером, поднесенным к поисковой катушке L1. Частота кварцевого резонатора ZQ1 может быть любой в пределах 0,5...1,8 МГц, однако если она больше 1 МГц, между образцовым генератором (вернее, выходом буферного элемента DD2.3) и смесителем целесообразно включить делитель частоты на микросхеме серии К176 или К561, понижающий образцовую частоту до 0,5...1
Металлоискатель
Doc
Просмотров: 7747