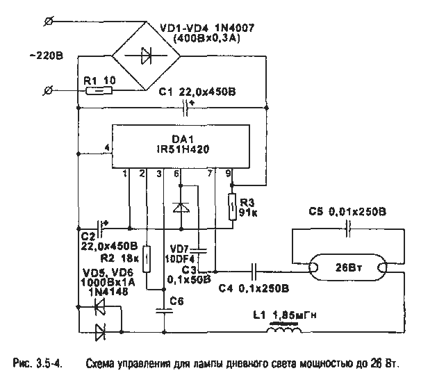
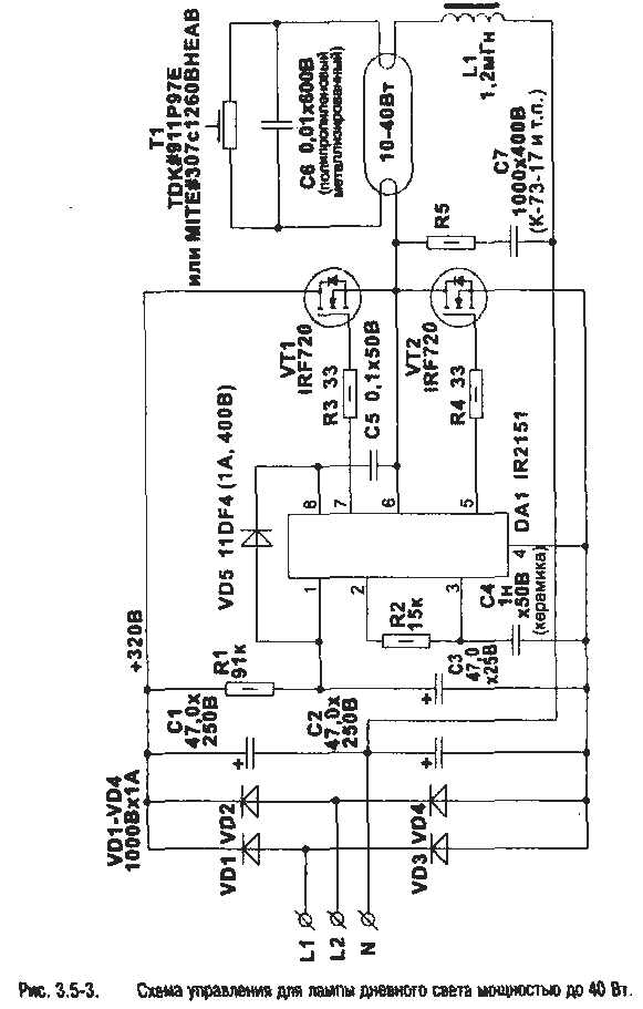
Современные газоразрядные приборы Примерно 25% электроэнергии, вырабатываемой в мире, расходуется системами искусственного освещения, чтo делает эту область чрезвычайно привлекательной для приложения сил в области повышения эффективности использования и сокращения потребления электроэнергии. В настоящее время наиболее распространенными экономичными источниками света являются газоразрядные лампы, которые все чаще применяются вместо обычных ламп накаливания. Принцип действия таких ламп заключается в люминесцентном свечении заключенного внутри лампы газа при протекании через него тока (осуществлении высоковольтного пробоя), что обеспечивается подачей высокого напряжения на электроды лампы. Газоразрядные лампы можно разделить на два вида, первый — это лампы высокой интенсивности свечения, среди которых наиболее распространены: ртутные лампы, натриевые лампы высокого давления и металлогалогенные лампы, второй вид — это люминесцентные лампы низкого давления. Лампы низкого давления используются для освещения в большинстве случаев повседневной жизни — в административных зданиях, офисах, жилых домах: их отличает насыщенный белый свет. близкий к дневному (отсюда название — "лампы дневного света"). Лампы высокого давления используются для внешнего освещения — в уличных фонарях, прожекторах и т.п. Если обычная лампа накаливания, когда она включена, представляет собой постоянную резистивную нагрузку, то все газоразрядные лампы имеют отрицательные импедансные характеристики. которые требуют стабилизации тока. Кроме того, необходимо учитывать такие моменты как: резонансный режим работы, защита при выходе лампы из строя; высоковольтное зажигание, специальное управление силовой шиной. Основной режим, соблюдение которого необходимо люминисцентной лампе на протяжении всего срока эксплуатации — это токовый режим (в идеале, необходима стабилизация мощности на протяжении всего периода эксплуата- ции лампы). Как правило, лампы питаются от переменного напряжения для уравнивания износа электродов (в случае питания постоянным напряжением, срок службы короче на 50%). Магнитный и электронный балласты Для управления газоразрядными лампами традиционно использовался т.н. магнитный балласт (см. схему на рис. 3.5-1), однако ввиду его неэффективности и ненадежности, в последнее времявсе большее распространение получают схемы электронного управления — электронный балласт, который позволяет значительно повысить КПД и срок службы осветительных систем, сделать свет более ровным и естественным для глаз. Базовая схема электронного балласта с последовательным резонансом приведена на рис. 3.5-2. Применяя электронные бал-ласты, можно управлять лампами любой мощности, в схему можно встраивать любые дополнительные устройства (например, фотореле, включающее освещение в сумерках и выключающее на рассвете). Схема управления для лампы дневного света мощностью до 40Вт Для управления лампой дневного света (ЛДС) мощностью до 40 Вт предназначена схема, приведенная на рис. 3.5-3. Напряжение питания ~220 В подается на входы L1 и L2. Выпрямленное диодами VD1 -VD4 постоянное напряжение составляет порядка 320 В. Конденсаторы С1 и С2 работают как емкостный входной фильтр. Возможно использование и сети ~110В, в этом случае питание подается на входы L1 (L2) и N. а диоды VD1. VD3 (VD2, VD4) с конденсаторами С1 и С2 работают как однопо лупериодный удвоитель напряжения. DA1 (IR2151) — это схема управления МДП-транзистора ми с внутренним генератором, который работает прямо от шины питания через R1. Внутренний стабилизатор фиксирует напряжение питания на уровне 15 В. Предусмотрена блокировка затворов при падении напряжения питания ниже 9 В. При номинальном постоянном напряжении шины питания 230 В выходной прямоугольный импульс имеет эффективное напряжение 160 В, а частота устанавливается подбором R2 и С4 для приближения к резонансной частоте лампы. Лампа работает в своей последовательной резонансной схеме, состоящей из последовательно включенной катушки индуктивности L1 и шунтирующего конденсатора С6, который стоит параллельно термистору с положительным температурным коэффициентом. Термистор (для этих целей может также использоваться неоновая лампочка) имеет малое сопротивление в холодном состоянии и очень высокое в горячем, когда нагревается благодаря протекающему через него току. Назначение термистора — обеспечить плавное нарастание напряжения на электродах лампы при включении. В случаях, когда лампа горит постоянно или очень редко включается/выключается, термистор можно убрать. В этом случае лампа включается мгновенно, что может привести к ее быстрому износу.
Сверхминиатюрная схема управления для лампы дневного света мощностью до 26Вт Следующая принципиальная схема, приведенная на рис. 3.5-4, позволяет управлять лампой дневного света (ЛДС), имея при этом сверхминиатюрные размеры, так как в ней не применяются силовые инверторы (ИС IR51H420 объединяет в одном корпусе ИС IR2151 и МДП-ключи). Максимальная мощность лампы в этом случае не должна превышать 26 Вт, чего вполне достаточно для освещения одного рабочего места. |
Источники питания ламп дневного света и других газоразрядных приборов
Doc
Просмотров: 9051