Таймер для периодического включения нагрузки

Уезжая в отпуск, некоторые владельцы квартир оставляют дома автомат, который каждый вечер на несколько часов включает освещение в квартире, создавая иллюзию присутствия хозяев. Зачастую это служит своего рода сторожевым устройством от непрошенных гостей.

Другой пример - отказ в работе термостата компрессионного холодильника, в результате чего либо в холодильной камере нет холода, либо мотор работает беспрерывно и вскоре сгорает. Выходом из положения (временным - до покупки термостата, или постоянным, если холодильник старой модели) может стать автомат, периодически включающий холодильник.

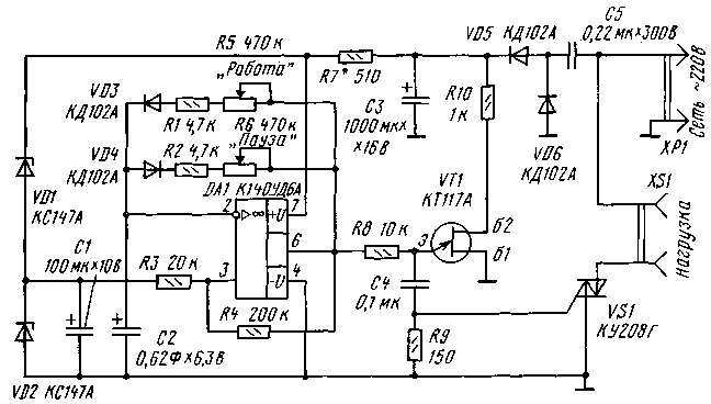
В устройстве имеются два независимых регулятора, которыми устанавливают продолжительность "Работы" (R5) и "Паузы" (R6).

Основой автомата является мультивибратор на операционном усилителе (ОУ) DA1, управляющий работой генератора коротких импульсов, выполненного на однопереходном транзисторе VT1, - он, а свою очередь, обеспечивает открывание симистора VS1. Питается генератор от сети через выпрямитель на диодах VD5, VD6 с балластным конденсатором С5. Для питания мультивибратора установлен параметрический стабилизатор, состоящий из балластного резистора R7 и стабилитронов VD1, VD2.

Мультивибратор собран по известной схеме с времязадающим конденсатором С2 и независимыми цепями его зарядки (VD3, R1, R5) и разрядки (VD4, R2, R6). Конденсатор разряжается и заряжается не полностью, а между двумя значениями напряжения (примерно 5,2 и 4,2 В), определяемого резисторами R3 и R4 и напряжением питания ОУ. Это сделано для того, чтобы не превысить рабочее напряжение конденсатора и иметь возможность реализовать малые выдержки при малом зарядном и разрядном токах.

Мультивибратор вырабатывает прямоугольные импульсы, длительность их и пауз между ними зависит, как было сказано выше, от установленных сопротивлений переменных резисторов. Когда на выходе ОУ будет напряжение, близкое к питающему (режим "Работа"), начнет работать генератор на однопереходном транзисторе. Импульсы напряжения с него будут поступать на управляющий электрод симистора - он открывается в начале каждого полупериода, и на нагрузку поступает практически все сетевое напряжение. Частота следования импульсов значительно превышает частоту сети, поэтому симистор устойчиво работает с нагрузкой в виде электродвигателя холодильника.

Поскольку для нормальной работы симистора на переменном напряжении на его управляющий электрод надо подавать импульсы отрицательной полярности, схема включения однопереходного транзистора несколько отличается от традиционной - управляющий электрод симистора подключен к эмиттерной цепи транзистора.

Когда на выходе ОУ окажется напряжение, близкое к нулю (режим "Пауза"), генератор перестанет работать и симистор не откроется. Нагрузка будет обесточена.

Для указанных на схеме номиналов элементов и конкретного экземпляра конденсатора С2 продолжительность режима "Работа" определяется по формуле: tp = 0,1(R1+R5)C2, а режима "Пауза" - по формуле: tn = 0,1(R2+R6)C2. Продолжительность каждого режима можно изменять от двух минут до трех часов.

При неработающем автомате конденсатор С2, естественно, разряжен, а сразу после включения таймера он должен зарядиться до напряжения примерно 5,2 В. Это означает, что продолжительность первого цикла "Работа" будет примерно в R4/R3 раз больше установленной резистором R5. Для холодильника такая задержка даже полезна, поскольку он успеет набрать нужный холод. Следует учитывать еще одно обстоятельство, связанное с первым включением таймера в сеть, - пока заряжается конденсатор СЗ, устройство может работать неустойчиво. Лучше всего подключать нагрузку к таймеру через 10...20 с после начала его работы.

В автомате допустимо применить: конденсатор С2 - К58-96, К58-9в; С1, СЗ - К52, К50-35; С4 - КМ, КЛС, К73; С5 - К73; переменные резисторы - СПО, СП4 с характеристикой А (линейная); постоянные - МЛТ, С2-33. Однопереходный транзистор - КТ117А- КТ117Г; диоды VD3, VD4 - КД104А, a VD5.VD6 - любые выпрямительные с допустимым обратным напряжением не менее 300 В. Симистор - КУ208В, КУ208Г; при мощности нагрузки до 300 Вт его используют без радиатора, а если она больше (но не более 1,1 кВт) - установить на радиатор соответствующих размеров.

Большинство деталей размещено на печатной плате из одностороннего фольгирован-ного стеклотекстолита. Плату укрепляют внутри корпуса, на лицевой стенке которого устанавливают переменные резисторы и розетку для включения нагрузки.

Возможен вариант замены конденсатора С5 резистором МЛТ-2 сопротивлением 12 кОм и монтажа симистора на общей печатной плате. Диод VD6 следует удалить.

Налаживание таймера сводится к подбору резистора R7 (при работающем генераторе на однопереходном транзисторе) такого сопротивления, чтобы напряжение на конденсаторе СЗ было на треть больше, чем на катоде стабилитрона VD1. Если сопротивление окажется больше 1 кОм, придется увеличить емкость конденсатора С5.

Затем проводят градуировку шкал переменных резисторов. Сделать это лучше так: измерить сопротивление резистора R1 и определить длительность цикла "Работа" (to) при нулевом сопротивлении резистора R5, а дальше градуировать шкалу резистора R5 по формуле: t=to(R1+R5)/R1, измеряя общее сопротивление последовательно включенных резисторов R1 и R5. Аналогично градуируют шкалу резистора R6.

Для увеличения продолжительности каждого цикла надо уменьшать зарядный и разрядный токи, т. е. увеличивать номиналы резисторов R1, R2, R5, R6, а также увеличить номинал резистора R3 (при этом увеличится напряжение, до которого будет заряжаться конденсатор С2, но оно не должно превышать рабочего). Кроме того, следует применить ОУ с меньшими входными токами. К примеру, чтобы увеличить максимальную продолжительность выдержки до одного или нескольких дней, рекомендуется стабилитроны КС147А заменить на КС133А, в качестве ОУ применить К140УД12, номиналы резисторов R5, R6 увеличить в несколько раз, а R3 - в 10...20 раз.

Параллельно конденсатору С5 желательно подключить резистор сопротивлением 510...750 кОм 0,25 Вт, а последовательно с С5 - токоограничительный резистор 36...47 Ом 0,5 Вт.

 

Источник : И. АЛЕКСАНДРОВ, г. Курск (Радио 12-98)

Обсудить эту статью на форуме (0 ответов).
Вся информация, предоставленная на данном ресурсе разрешена к ознакомлению детям школьного возраста. Все практическое использование может быть связана с повышенной электрической опасностью и разрешено детям только под присмотром взрослых.