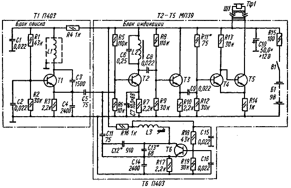
Прибор позволяет обнаруживать массивные металлические предметы на глубине до 0,8 м независимо от характера покрытия (снег, земля, асфальт и пр.). Металлоискатель состоит из измерительного генератора, опорного генератора, смесительного каскада, эмиттерного повторителя, триггера Шмитта и головных телефонов. Катушка L1 измерительного генератора является датчиком, реагирующим на металлические предметы. Вблизи от таких предметов меняется частота сигнала генератора, что вызывает изменение частоты сигнала на вы╜ходе смесителя. Поскольку контур смесителя настроен на 1 кГц (разностная частота измерительного и опорного генераторов при отсутствии металлических предметов), то изменение частоты измерительного генератора приведет к уменьшению разностной частоты сигнала и снижению его амплитуды на выходе смесителя. В головных телефонах будет прослушиваться меняющийся тон сигнала, уменьшающийся по громкости. В непосредственной близости от массы металла напряжения сигнала будет недостаточно для срабатывания триггера и звук прекратится вовсе. Измерительный генератор собран на транзисторе Т1, частота которого 510 кГц. Колебательный контур генератора состоит из катушки L1 и конденсаторов СЗ, С4. Опорный генератор выполнен на транзисторе Т6, его колебательный контур состоит из катушки L3 и конденсаторов С12-С14. Смеситель собран на транзисторе Т2, в его нагрузке (контур L2, С6) выделяются колебания разностной частоты. Эмиттерный повторитель (ТЗ) служит для согласования смесителя с триггером на транзисторах Т4, Т5. Триггер срабатывает при напряжении 0,5 В. Поисковая катушка L1 выполнена в виде кольца диаметром 300 мм. Витки катушки заключены в дюралюминиевый электростатический экран диаметром 8 мм. Для изготовления катушки берут 10 отрезков провода ПЭВ-2 диаметром 0,96 мм, длиной 1250 мм. Этот жгут пропускают сначала в поливинилхлоридную трубку длиной 1000 мм, а затем в дюралюминиевую трубку длиной 960 мм и изгибают в виде кольца. Концы проводов соединяют между собой последовательно. Экран не должен образовывать короткозамкнутого витка. Катушка смесителя (L2) намотана на кольцевом сердечнике из феррита марки М2000НМА типоразмера К38 X 24 X 7 мм. Катушка имеет 200 витков провода ПЭВ-2 диаметром 0,47 мм. Катушка L3 содержит 135 витков провода ПЭЛШО диаметром 0,1 мм. В ней необходимо предусмотреть подстроечный латунный сердечник.