Акустический автомат

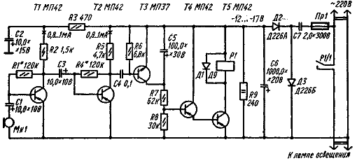
Транзисторы Т1 и Т2 образуют усилитель НЧ, на вход которого подаются сигналы от микрофона. Транзисторы Т4 и Т5 входят в состав реле времени, на выходе которого установлено электромагнитное реле Р1. При громких звуках открывается транзистор ТЗ, разряжая конденсатор С5. Во время разряда этого конденсатора срабатывает реле Р1 и своими контактами Р1/1 включает нагрузку. В отсутствие сигнала транзистор ТЗ закрыт, конденсатор С5 заряжается, обмотка Р1 обесточивается, и контактами Р1/1 разрывается цепь питания нагрузки. Реле Р1 - РЭС-10 (РС4.524.302) или РСМ-1 (Ю.171.81.01).

 

Обсудить эту статью на форуме (0 ответов).
Вся информация, предоставленная на данном ресурсе разрешена к ознакомлению детям школьного возраста. Все практическое использование может быть связана с повышенной электрической опасностью и разрешено детям только под присмотром взрослых.