"Люстра чижевского" своими руками

Возможно, среди читателей найдутся создатели своих конструкций аналогичного устройства. Просим их прислать в редакцию описания разработок, поделиться опытом конструирования и использования "Люстры Чижевского".


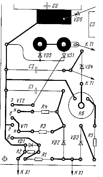
Провод МГШВ-0,75 к "люстре" выведен из корпуса через изолятор, выточенный из фторопласта, но можно использовать любую толстостенную

 трубку из изоляционного материала. 

 

 В отличие от [1], "люстру" целесообразно изготавливать в следующем порядке. Вначале в качестве игл нужно заготовить соответствующее число канцелярских булавок с колечком. Колечки залудить, окуная их в расплавленный припой, на поверхность которого предварительно насыпают твердый хлористый цинк (он при этом плавится). Можно просто перед лужением окунать колечки в раствор хлористого цинка (паяльную кислоту).

Далее необходимо изготовить кольцо диаметром 700...1000 мм, согнув его из металлической трубки диаметром 6...20 мм и соединив концы трубки встык с помощью отрезка металлического стержня подходящего диаметра и заклепок. Вырезать из гофрированного картона круг, свободно проходящий в кольцо. Круг разметить сеткой со стороной квадратов 35...45 мм и в узлы сетки воткнуть иглы, после чего через колечки игл протянуть луженую медную проволоку в двух направлениях и пропаять колечки. Круг вставить в кольцо и концы проволоки намотать на него, витки желательно пропаять. Аккуратно снять картонный круг, немного растянуть сетку для получения нужного прогиба - "люстра" готова.

Устанавливают "люстру" на расстоянии не менее 800 мм от потолка, стен, осветительных приборов и 1200 мм от места нахождения людей в комнате. Целесообразно расположить ее над кроватью, закрепив на двух туго натянутых между стенами комнаты лесках диаметром 0.8...1 мм. Лески удобно натянуть треугольником - два крючка для ее крепления устанавливают на стене, к которой "люстра" ближе, один - на противоположной стене. Саму "люстру" крепят к леске небольшими проволочными крючками.

сточник напряжения желательно установить на высоте около двух метров, например на шкафу.

 

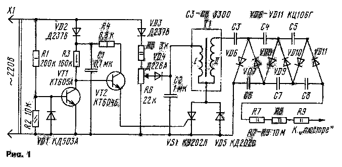
Перед первым включением устройства переменный резистор R6 следует установить в нижнее по схеме положение. Включив источник с подключенной к нему "люстрой", плавно увеличивают напряжение, подаваемое на нее, поворачивая ось резистора R6. После появления запаха озона уменьшают напряжение до его исчезновения.

Если в источнике высокого напряжения наблюдается коронирование, определите в темноте его место и замажьте расплавленным парафином (конечно, при обесточенном источнике).

Полезно проверить работоспособность "люстры", как это рекомендовано в [1], а при наличии статического вольтметра - измерить напряжение на ней. Оно должно .быть порядка 30 кВ.

Следует помнить, что крупные металлические предметы в комнате, в которой работает аэроионизатор, например, люстра или кровать, а также люди, могут накапливать электрический заряд. Искра, возникающая при прикосновении к ним, может быть весьма болезненной.

Кроме того, после накопления заряда осветительной люстрой, возможен пробой изоляции ее электропроводки, безвредный, но сопровождающийся достаточно громким щелчком.

Поэтому целесообразно заземлить металлические предметы, лучше через резисторы сопротивлением несколько мегаом. Металлический каркас осветительной люстры можно соединить через такой же резистор с одним из сетевых проводов.

Аэроионизатор автор включает перед сном на два часа, используя для этих целей таймер, описанный в [2].

 

 

ЛИТЕРАТУРА
1. Иванов Б. "Люстра Чижевского" - своими руками. - Радио, 1997, N 1, с. 36, 37.
2. Алешин П. Простой таймер. - Радио, 1986, N 4, с. 27.

Радио N 2, 1997 г.

Обсудить эту статью на форуме (0 ответов).
Вся информация, предоставленная на данном ресурсе разрешена к ознакомлению детям школьного возраста. Все практическое использование может быть связана с повышенной электрической опасностью и разрешено детям только под присмотром взрослых.