Речевой информатор

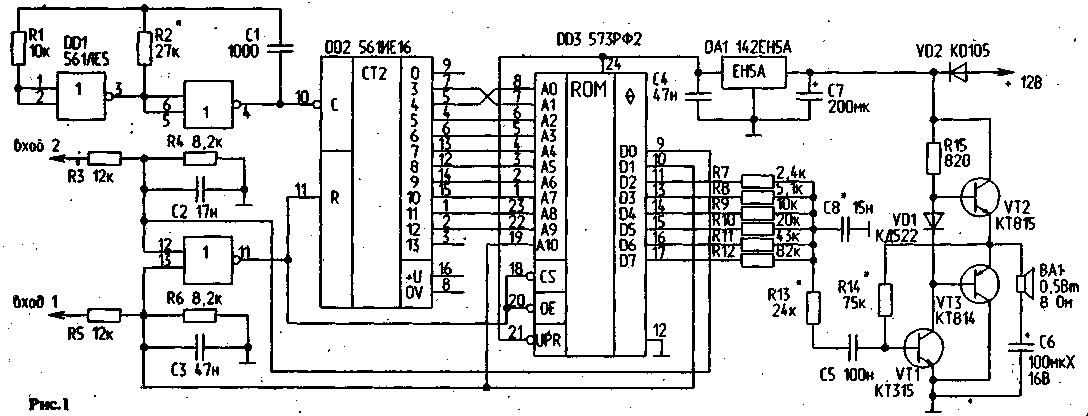
Вниманию читателей предлагается автомобильный вариант информатора — речевой индикатор работы указателей поворота автомобиля, сопровождающий включение ламп указателей словами "ле-вый" и "правый" — в зависимости от направления поворота, названный автором "Гном" — невидимый помощник водителя или инструктора автошколы (рис. 1).

inform1

inform1

 

Устройство работает следующим образом: после подачи напряжения питания +12 В начинает работать тактовый генератор на 2-х элементах DD1. На входах устройства "1" и "2"— 0В, поэтому счетчик DD2 бло-кирован по входу R. Микросхема ППЗУ DD3 находится в состоянии "не выбрано", а ее выходы — в высокоимпедансном состоянии.

С приходом на один из входов устройства напряжения + 12 В с включенной группы ламп указателей поворота сигналом с. выхода DD1.3 разблокируется счетчик DD2 и выбирается ППЗУ DD3. Сигналами логической "1" с выходов Q0 или Q1 ППЗУ, в зависимости от того, по какому входу запущено устройство, удерживается выбранное состояние до прихода логического "0" на выходах Q0 и Q1 ППЗУ одновременно. Это необходимо дай полной выдачи сообщения, даже если запускающий уровень+12 В на входах "1" или "2" будет снят.

Собственно сообщение выбирается сигналом по входу А10 ППЗУ — младшая или старшая половина массива. В разрядах Q2...Q7 ППЗУ записаны мгновенные значения звукового сигнала в двоичном коде. Перебор адресов осуществляется с частотой около 1,9кГц, что обеспечивает генерацию двух сообщений длительностю около 0,5 с каждое.

Информация с выходов Q2...Q7 ППЗУ преобразуется простейшим ЦАПом в виде набора резисторов с соотношением номиналов 1:2:4:8:16:32 в аналоговый речевой сигнал, который подается на вход УНЧ на VT1 ...VT3 через цепочку R13C5, определяющую тембр звука и его громкость. Элемент С8 подавляет гармоники тактовой частоты и формирует тембр ВЧ. Стабилизатор DA1 питает стабильным напряжением+5 В микросхемы D01 ...DD3

Детали:
DD1 —К561ЛЕ5; вместо DD2 К561ИE16 можно использовать 2 К561ИЕ10 с изменением схемы включения; DD3 — К573РФ2(5) или ее аналог 2716; DA1 — КР142ЕН5А(В); диод VD1 — любой маломощный кремниевый; VD2 — любой на ток 300—500 мА; резисторы — типа МЛТ-0,25 с допуском 5 %, важно лишь возможно точнее (< 2 %) обеспечить оговоренное выше соотношение номиналов элементов ЦАПа в старших трех разрядах (R7...R9). Транзистор VT1 — любой маломощный п-р-п с В-50...100; VT2 и VT3 можно заменить на ГТ404 и ГТ402 соответственно. Конденсаторы С1 ...С5, С8 — типа КМ5. КМ6, К10-7 или аналогичные; С6 и С7 — типа К50-6, К50-16, К50-35. Динамическая головка ВА1 — 0?5ГДШ-2-8 Ом или 0.25ГДШ-2-50 Ом.

Наладку устройства начинают с УНЧ, устанавливая подбором Rl 4 напряжение в точке К равным б В. Подбором диода VD1 добиваются отсутствия "ступеньки" при небольшом сигнале. Затем подбором R2 устанавливают период сигнала тактового генератора 68. ..70 мкс, контролируя его с помощью осциллографа. Подавая на вход "1" или "2" напряжение +12 В, убеждаются в снятии блокирующего уровня со входа R DD2 и выдаче сообщений. Подбором R2 устанавливают необходимый темп выдачи сообщения. Rl 3 — громкость, С5 и С8 — тембр НЧ и ВЧ соответственно под ваш тип динамической головки и ее акустическое оформление.

Авторский вариант собран на печатной плате 50х95 мм (рис.2) и размещен в корпусе 125х100х28 мм из алюминиевого сплава. М/схе-ма DA1 и транзисторы VT2 и VT3 в теплоотводах не нуждаются, т.к. в режиме молчания устройство потребляет ток не более 40 мА, а при выдаче сообщения — до 250 мА.

inform2

Кодировка ПЗУ приведена в табл.2 (см. ниже файл прошивки ПЗУ). При использовании других деталей, например, при замене счетчика К561ИЕ16, обратите внимание на соединение 2-х младших разрядов счетчика и ПЗУ, которое выполнено "накрест", т.е. адреса ПЗУ выбираются в следующем порядке: 0-2-1-3-4-6-5-7-..., что сделано для упрощения трассировки печатной платы и соответственно учтено в таблице прошивки ПЗУ.

Описанный информатор имеет и вариант с четырьмя сообщениями (добавлены м/схемы К561ЛА7 и К573РФ2 — по одной шт.) со смей печатной платой и модификацией прошивок.

Ограничение размера кодограммы величиной 2 Кбайт не является принципиальным, просто это емкость наиболее дешевого и доступного ППЗУ. Кодограммы подготовлены автором с использованием несложной приставки к ПК "Балтик" на базе быстродействующего АЦП типа К1108ПВ1 и программного обеспечения собственной разработки.

Обсудить эту статью на форуме (0 ответов).
Вся информация, предоставленная на данном ресурсе разрешена к ознакомлению детям школьного возраста. Все практическое использование может быть связана с повышенной электрической опасностью и разрешено детям только под присмотром взрослых.