Переключатель гирлянд с плавным включением

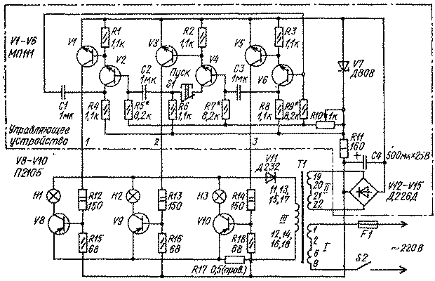
Принцип работы устройства (рис. IX. 1) основан на взаимодействии двух близких по частоте напряжений - электроосветительной сети (50 Гц) и получаемых от мультивибратора импульсов для управления транзисторными ключами в цепях питания гирлянд.

 

Световой поток и яркость свечения ламп изменяются с частотой, равной разности частот этих электрических сигналов. Моменты плавного загорания и погасания ламп в гирляндах сдвинуты во времени по отношению друг к другу, интервал между очередными загораниями и погасаниями ламп можно плавно регулировать в широких пределах - до 10 с и более. Управляющие импульсы формирует трехфазный мультивибратор (транзисторы VI-V6), питающийся напряжением от двухполупериодного выпрямителя (диоды V12-V15). Выпрямленное напряжение стабилизируется стабилитроном V7. Импульсы от мультивибратора подаются на силовые транзисторные ключи V8, V9, V10, в коллекторные цепи которых включены гирлянды ламп HI-Н2. Поочередно на 1/3 периода следования управляющих импульсов группы транзисторов VI, V2 и V8, V3, V4 и V9, V5, V6 и V10 переключаются из открытого состояния в закрытое. Переменным резистором R10 устанавливают желаемую частоту повторения управляющих импульсов. Для надежного запуска мультивибратора введена кнопка S1 Пуск.

Лампы накаливания в гирляндах соединяют параллельно или последовательно, в зависимости от их номинальных напряжений и тока накала. Силовые цепи, состоящие из транзисторных ключей V8-V10 и их нагрузок - гирлянд питаются пульсирующим напряжением от выпрямителя на диоде V11. Ток через лампы гирлянд протекает только при совпадении напряжений питания силовых цепей и управляющих импульсов тока в базовых цепях транзисторов V8, V9, V10. Ввиду разницы их частот происходит смещение во времени моментов загорання и погасания ламп и плавное изменение яркости их свечения.

Желаемую периодичность загорания и погасания гирлянд устанавливают переменным резистором R10 управляющего устройства. Если частота пульсаций светового потока окажется больше, чем требуется, подбирают резисторы R5*, R7* и R9*.

В блоке питания использован трансформатор ТА 163-127/220-50 (мощностью 86 Вт), выполненный на магнитопроводе ШЛ20 X 40. Согласно паспортным данным в режиме номинальной нагрузки напряжения обмоток 11-12 и 13-14 при токе 0,68 А и обмоток 15-16 и 17-18 при токе 0,71 А равны 28 В, а обмоток 19-20 и 21-22 при токе 0,71 А - 6 В. Каждая из гирлянд составлена из 10 ламп МН30-0,1 (на напряжение 30 В и ток 0,1 А). Транзисторы П210Б и диоды Д232 работают без теплоотводящих радиаторов.

Транзисторы П210Б можно заменить близкими им по максимальному току коллектора, напряжению между коллектором и базой, обратному току коллектора и статическому коэффициенту передачи тока базы. Допустимое напряжение между эмиттером и базой транзисторов V2, V4 и V6 управляющего устройства должно быть не менее 10 В.

Используя в силовой цепи кремниевые транзисторы, резистор R17 можно исключить, при этом сопротивления резисторов R15, R16, R18 могут быть больше в два раза.


Обсудить эту статью на форуме (0 ответов).
Вся информация, предоставленная на данном ресурсе разрешена к ознакомлению детям школьного возраста. Все практическое использование может быть связана с повышенной электрической опасностью и разрешено детям только под присмотром взрослых.