Переключатель гирлянд на одном тринисторе для одной гирлянды можно собрать по следующей схеме (рис. IX.4, а).
Резисторы, электролитический конденсатор и тринистор составляют замкнутую ячейку, работающую "на себя".
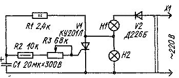
Элементы R1C1 образуют времязадающую цепь. В первоначальный момент после включения устройства в сеть тринистор закрыт и гирлянда HI не горит. Конденсатор С1 заряжается через резистор R1, и при определенном напряжении на нем тринистор открывается. Гирлянда загорается, одновременно конденсатор разряжается через резистор и открытый тринистор. Тринистор закрывается, гирлянда вновь гаснет. Процесс повторяется.
Гирлянду составляют из последовательно соединенных ламп с током потребления не более 0,4 А. При большем токе следует установить диод V2 более мощный, например Д242Б, а также применить тринисторы КУ202Л (М, Н).
При незначительном усовершенствовании схемы можно использовать переключатель для двух гирлянд с регулировкой длительности свечения (см. рис. IX 4, б).
Полного погасания каждой гирлянды во время паузы можно достичь, если гирлянду HI выбрать со значительно большим током потребления.