Простая цветомузыкальная приставка, предложенная А. Полозовым, может быть установлена на передней панели стереофонического магнитофона, электрофона или радиоприемника. 
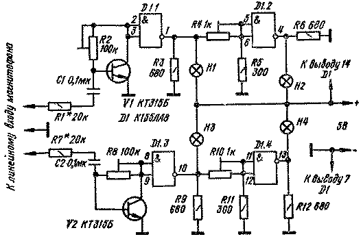
Приставка выполнена на двух транзисторах, одной логической микросхеме и четырех миниатюрных лампах накаливания. Сигналы, поступающие через резисторы R1, R7 и конденсаторы C1, С2 на вход устройства, усиливаются транзисторами VI и V2 и подаются на входы инверторов D1.1 и D1.3, в выходную цепь которых включены лампы накаливания HI и НЗ. Выходы этих инверторов через резисторы R4, R10 подключены к выходам инверторов D1.2 и D1.4, нагруженных лампами накаливания Н2 и Н4. При зажигании лампы HI лампа Н2 гаснет, при зажигании НЗ гаснет Н4 и наоборот. Таким образом, при поступлении на вход сигнала лампы HI, Н2, НЗ, Н4 как бы перемигиваются с частотой звукового сигнала. Лампы устанавливают за светорассеивающим экраном размером 650 X 50 мм, окрашивают соответственно в красный, синий, желтый и зеленый цвета.
Детали: лампы накаливания СМН-6,3-20; постоянные резисторы МЛТ-0,25, подстроечные ≈ СПО-0,5 или СП-0,4; конденсаторы С1 и С2 ≈ КМ или МБМ. Настройка сводится к регулировке резисторов R2 и R8 так, чтобы без сигнала лампы HI и НЗ находились у порога зажигания. Резисторами R4 и R10 добиваются гашения ламп Н2 и Н4 при полном свечении HI и НЗ.
Простая цветомузыкальная приставка
Doc
Просмотров: 6951