Простая цветомузыкальная приставка

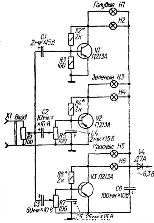
Простая цветомузыкальная приставка предназначена для работы с ламповым радиоприемником или магнитофоном. Подключают ее ко вторичной обмотке выходного трансформатора. Для питания используется выпрямленное диодом V4 переменное напряжение обмотки накала ламп (6,3 В).

Приставка - трехканальная. Канал на транзисторе V1 усиливает составляющие высших частот, на транзисторе V2 - средних, на транзисторе V3 - низших. Разделение спектра частот входного сигнала осуществляется простейшими фильтрами R3C1, R5C2C4 и R7C3C5. Нагрузками транзисторов служат миниатюрные лампы накаливания МН6,3-0,28, окрашенные в голубой, зеленый и красный цвета.

Переменными резисторами R5 и R7 балансируют яркость свечения с учетом спектра реального музыкального сигнала, переменным резистором R1 регулируют минимальную яркость свечения всех ламп при выбранной громкости звуковоспроизведения.

Налаживание начинают с подбора резисторов R2*, R4* и R6* (на это время их желательно заменить переменными резисторами сопротивлением 6,8... 10 кОм), Сопротивления резисторов должны быть такими, чтобы в отсутствие сигнала нити накала ламп HI-Н6 едва заметно светились. Добившись этого, движки резисторов R5, R7 устанавливают в среднее положение и подают на вход сигнал со вторичной обмотки выходного трансформатора. Установив регуляторами приемника или магнитофона нормальную громкость звучания и максимальный подъем высших частот, перемещают движок резистора R1 до тех пор, пока лампы HI, H2 не начнут вспыхивать в такт с музыкой. В последнюю очередь переменными резисторами R5 и R7 добиваются такого же яркого свечения ламп НЗ, Н4 и Н5, Н6.

Обсудить эту статью на форуме (0 ответов).
Вся информация, предоставленная на данном ресурсе разрешена к ознакомлению детям школьного возраста. Все практическое использование может быть связана с повышенной электрической опасностью и разрешено детям только под присмотром взрослых.