Цветомузыкальная установка на тринисторах

Цветомузыкальная установка на тринисторах развивает на нагрузке мощность до 2...3 кВт и может быть рекомендована для цветомузыкального сопровождения эстрадных номеров.

Мощные лампы накаливания в этом случае целесообразно смонтировать в прожекторах с цветными светофильтрами, направив их лучи на общий экран. Для сближения динамических диапазонов музыкального сигнала и яркости свечения ламп накаливания в установке применены компрессоры звукового сигнала.

 

 

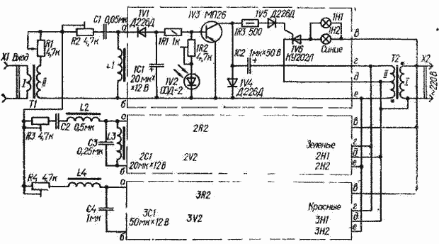
В основу принципа действия установки положен метод частотного разделения спектра сигнала на низкочастотную, среднечастотную и высокочастотную полосы. Первая из них выделяется фильтром верхних частот L1C1, вторая - полосовым фильтром L2C2L3C3, третья - фильтром нижних частот L4С4 В остальном каналы одинаковы по схеме. Излучателями света являются лампы накаливания 1Н2 (синего цвета), 2Н2 (зеленого) и ЗН2 (красного).

Компрессирование звукового сигнала осуществляется оптоэлектронной обратной связью. Для этого фотодиод и вспомогательная лампа каждого из каналов (в "синем" канале 1V2 и 1Н1) помещены в светонепроницаемые пеналы размерами примерно 30 X 35 X 200 мм (расстояние между ними подбирают опытным путем). С увеличением яркости свечения лампы обратное сопротивление фотодиода уменьшается. Это приводит к снижению яркости свечения ламп 1Н1 и 1Н2, т е. к сжатию динамического диапазона обрабатываемого сигнала. Глубину обратной связи регулируют подстроечными резисторами 1R2, 2R2, 3R2.

Уровень входного сигнала, поступающего от усилителя ЗЧ через повышающий трансформатор Т1, регулируют переменным резистором R1, цветовую балансировку каналов производят подстроечными резисторами R2-R4.

Трансформатор Т1 намотан на магнитопроводе Ш16 X 24 проводом ПЭЛ - 0,51. Обмотка I содержит 64, обмотка II - 100 витков. В качестве фазовращающего (Т2) можно использовать любой сетевой трансформатор с габаритном мощностью более 10 Вт и вторичной обмоткой, обеспечивающей напряжение 2 X 10 В. Катушки L1-L4 намотаны проводом ПЭЛ - 0,08 на ферритовых (600НН) стержнях диаметром 8 и длиной 20 мм: L1 и L3 содержат по 1600 витков, L2 - 2000, L4 - 3500 витков. Лампы оптопар (1Н1, 2Н1 и ЗН1) должны иметь возможно меньшую тепловую инерцию (их мощность не должна превышать 10... 15 Вт).

Изготовляя установку, следует иметь в виду, что ее элементы находятся под сетевым напряжением. Во избежание поражения током конструкция должна исключать возможность касания каких-либо неизолированных элементов электрической схемы.

Обсудить эту статью на форуме (0 ответов).
Вся информация, предоставленная на данном ресурсе разрешена к ознакомлению детям школьного возраста. Все практическое использование может быть связана с повышенной электрической опасностью и разрешено детям только под присмотром взрослых.