
Схема «светового ежа» показана на рис. 2. Габаритная мощность трансформатора Т1 (2, см. рис. 1) должна быть больше мощности лампы EL1 (5, см. рис. 1) не менее чем на 15—20 Вт. Напряжение на вторичной (II) обмотке трансформатора при подключенной лампе должно составлять 10,5—11,5 В. Так как потребляемый лампой ток достигает 8А, подключать ее к трансформатору следует проводом сечением не менее 2,5мм².Основа узла управления шаговым двигателем М2, вращающим рефлектор, — микроконтроллер DD1 PIC12C508A-04/P, в память программ которого с помощью программатора следует записать коды из файла прошивки. Данный микроконтроллер — однократно программируемый, поэтому выполнять эту операцию следует очень внимательно.
Сформированные микроконтроллером сигналы поступают на обмотки шагового двигателя М2 через транзисторные ключи микросхемы DD2. Каждый ее выход снабжен защитным диодом, причем общий катод диодов соединен с выводом 9. Таким образом, обмотки двигателя зашунтированы диодами, подавляющими коммутационные выбросы напряжения.
Программой предусмотрено пять различных скоростей и два направления вращения рефлектора. Различные сочетания этих параметров и создают световые эффекты. Если контакты выключателя SA1 замкнуты, смена сочетаний скорость/направление происходит периодически по программе. В противном случае (выключатель разомкнут) смена синхронизирована импульсами, поступающими на вывод 4 микросхемы DD1.
Формирователь импульсов в такт с ритмом музыкального произведения собран на микросхеме DA1 LM324. Каскад на ОУ DA1.1 усиливает принятый микрофоном ВМ1 звуковой сигнал музыкального сопровождения. Резистор R3 — регулятор усиления. Далее через фильтр R7C6R8C7 сигнал поступает на вход усилителя на ОУ DA1.2, охваченного АРУ (автоматической регулировкой усиления), поддерживающей амплитуду сигнала на выходе DA1.2 постоянной независимо от громкости музыки. Детектор АРУ собран на диоде VD5, фильтр — R12C8, исполнительный элемент — транзистор VT1. Амплитудный детектор на диоде VD6 с фильтром R16R17С14 и повторителем DA1.3 выделяют огибающую музыкального сигнала. Пороговое устройство на ОУ DA1.4 с узлом задержки повторного срабатывания превращает огибающую в прямоугольные импульсы, поступающие на вход GP3 микроконтроллера DD1. |

Печатная плата узла управления показана на рис. 3. Она рассчитана на установку постоянных резисторов МЛТ и керамических конденсаторов КМ, К10-17, КД-2. Оксидные конденсаторы — К50-35 или аналогичные импортные. Микроконтроллер PIC12C508A-04/P можно заменить на PIC12C509A-04/P. Микрофон ВМ1 — НМО1001А. Пригодны и другие электретные, используемые в современных телефонных аппаратах, например, CZN-15E.
Импортные интегральные стабилизаторы можно заменить на отечественные: LM7805 — КР142ЕН5А, LM7809 — КР142ЕН8А. Аналог микросхемы ULN2004AN — К1109КТ23. В качестве VT1 подойдут транзисторы серий КТ315 или КТ3102 с произвольными буквенными индексами. Диоды VD1—VD4 — выпрямительные на ток не менее 1 А. В качестве VD5—VD8 пригодны любые кремниевые маломощные диоды.
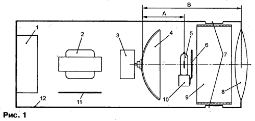
Диаметр рефлектора (4, см. рис. 1) — 100—150 мм. На меньшем трудно разместить достаточное число зеркальных фрагментов, а вращать слишком большой двигателю М2 будет не по силам. Заготовкой для основания рефлектора может служить алюминиевый отражатель от старого театрального прожектора. В крайнем случае можно изготовить основание самостоятельно из алюминиевого листа толщиной не более 1,5 мм и размерами не менее 100×100 мм. Необходим именно мягкий алюминий, а не плохо поддающийся деформации дюралюминий.
В деревянный ящик подходящего размера заливают цементный раствор, вдавливают в него на глубину 20—30 мм резиновый мяч диаметром 200—250 мм и дают затвердеть раствору. Удалив мяч и положив в углубление алюминиевую пластину, ударами полукруглой киянки придают заготовке сферическую форму. Не огорчайтесь, если она не получилась идеальной. Это не только не ухудшит, а даже разнообразит световые эффекты. В центре готового основания укрепите втулку для посадки на вал двигателя. Чтобы не создавать лишних световых бликов, перед наклейкой зеркальных фрагментов покройте внутреннюю поверхность основания матовой краской темного цвета.
К подготовке и наклейке зеркальных фрагментов необходимо подойти творчески — именно от этого зависит выразительность создаваемых эффектов. Чтобы получить лучи насыщенных цветов, в качестве зеркал используют отражательные дихроичные фильтры. Иногда их удается найти в магазинах, торгующих сценическим оборудованием. Если подходящие фильтры приобрести не удалось, придется ограничиться одноцветными лучами и применить обычные зеркала толщиной 1,5—2 мм от «косметичек» или упаковок пудры. Более толстые не подойдут — рефлектор получится слишком тяжелым. Зеркала разрезают на фрагменты приблизительно квадратной формы со стороной 15—20 мм и приклеивают их к внутренней поверхности основания.
В принципе, в качестве EL1 пригодна любая осветительная лампа мощностью 50—100 Вт, однако, чтобы получить яркие и четкие лучи, ее спираль должна быть плоской и плотной (витки — прилегать друг к другу). Кроме мощности, лампы классифицируют по цветовой температуре, чем она ниже, тем «краснее» свет. Обычные лампы накаливания характеризуются сравнительно низкой цветовой температурой, поэтому лучи цветов, лежащих в синей области спектра, покажутся тусклыми. У галогенных ламп этот показатель выше, но срок службы меньше.
Рекомендуется использовать галогенную лампу КГМ 12-100-2 мощностью 100 Вт. При номинальном напряжении 12В она служит более 350 ч. Возможные замены — лампы КГМ 12-100 (срок службы 85 ч), КГМ 12-50 (мощность 50 Вт) или FSR 12-100 фирмы General Electric. Можно воспользоваться и автомобильными лампами для противотуманных фар.
Долговечность лампы и прибора в целом во многом зависит от качества ламповой панели. При плохом контакте с гнездами штыревые выводы ламп нередко обгорают. Подходящую панель можно найти в импортном галогенном светильнике. Если же этого сделать не удалось, лампу крепят, зажав плоскую часть ее цоколя между двумя планками из стеклотекстолита, а на штыревые выводы плотно наматывают очищенный от изоляции одножильный медный провод. Пайка здесь бесполезна, так как температура выводов работающей лампы выше точки плавления припоя. Можно применить и подходящие винтовые зажимы, например, от сетевых распределительных колодок. В любом случае детали из нетермостойкой пластмассы должны быть удалены от лампы на значительное расстояние.
Устанавливая лампу, следует учитывать, что ее спираль должна быть обращена к рефлектору светящейся поверхностью наибольшей площади, а центр этой поверхности — находиться на оптической оси прибора, обозначенной на рис. 1 штрихпунктирной линией. Ширина защитного экрана на 5 мм больше диаметра колбы лампы.
Так как рабочая температура колбы галогенной лампы EL1 превышает 250°С, без принудительной вентиляции в замкнутом внутреннем пространстве «ежа» лампа может перегреться вплоть до размягчения и деформации колбы. Под воздействием высокой температуры нередко разрушается панель лампы, отказывают электронные компоненты блока управления двигателем. Для охлаждения прибора применен вентилятор ЕС8025М12 от блока питания компьютера.
Приводом рефлектора служит шаговый двигатель ДШР-39. Возможная замена — ПБМГ-200, применявшийся в приводах пятидюймовых гибких магнитных дисков для компьютеров. Пригоден и любой другой шаговый двигатель с сопротивлением обмоток 90—110 Ом.
Линза-объектив прибора — двукратная лупа с фокусным расстоянием 192 мм. Подойдет и другая диаметром не менее 100 мм и с фокусным расстоянием 150—300 мм. Приблизительно определить последнее можно, сфокусировав на какой-либо негорючей поверхности изображение солнечного диска. Расстояние от линзы до поверхности и есть фокусное.
Корпус «светового ежа» делают из любого листового металла. Пластмассу, фанеру и другие материалы с плохой теплопроводностью и термостойкостью применять не рекомендуется. Форма и размеры корпуса особого значения не имеют, но в нем должны поместиться все представленные на рис. 1 узлы и детали. Диаметр отверстия под линзу на 5—10 мм меньше ее диаметра. Линзу крепят по периметру тремя-четырьмя зажимами.
Предварительную сборку прибора производят без линзы. На удалении приблизительно 300 мм от рефлектора устанавливают белый (например, картонный) экран. Подают на лампу EL1 напряжение 20—30% номинального и, перемещая ее вдоль оптической оси, находят положение, при котором на экране будет видна наиболее кучная группа световых пятен минимального размера. Зафиксировав лампу в этом положении, замеряют расстояние А (см. рис. 1).
Далее устанавливают линзу и направляют прибор на стену, находящуюся на расстоянии 5—10 м. Не изменяя взаимного положения лампы и рефлектора, подбирают расстояние между ними и линзой таким образом, чтобы получить на стене множество четких изображений нити накаливания лампы EL1. Замеряют расстояние В (см. рис. 1). При правильной регулировке сумма А и В приблизительно равна фокусному расстоянию линзы. Окончательно собирая прибор, найденные расстояния необходимо точно соблюдать.
Налаживание узла управления начинают с проверки напряжения на выходах интегральных стабилизаторов DA2 (9 В) и DA3 (5 В). Замкнув выключатель SA1, с помощью осциллографа проверяют наличие прямоугольных импульсов периодически изменяющейся частоты на выводах 2, 3, 5 и 6 микроконтроллера DD1. Если их нет, микроконтроллер неисправен или неправильно запрограммирован. Аналогичные импульсы, но амплитудой приблизительно 12 В, должны быть на выводах 14, 13, 11, 10 микросхемы DD2. Если на одном из них импульсов нет, а напряжение равно нулю, причиной может быть обрыв обмотки двигателя М2.
Далее, убедившись, что постоянное напряжение между выводами микрофона ВМ1 находится в пределах 1—3 В, включают ритмичную музыку с явно выраженными низкочастотными составляющими. На экране осциллографа, подключенного к выходу ОУ DD1.1 (вывод 8), должна быть видна осциллограмма музыкального сигнала, амплитуду которого регулируют с помощью подстроечного резистора R3. При ее десятикратном изменении амплитуда сигнала на выходе DD1.2 (вывод 14) должна оставаться приблизительно равной 3 В. В противном случае необходимо проверить исправность транзистора VT1 и связанных с ним элементов, подобрать номинал резистора R12.
Постоянный уровень 2—3 В на выходе DA1.3 (вывод 1) во время звучания музыки должен сопровождаться всплесками в такт сильной доле произведения. Напряжение на выводе 6 DA1.4 — приблизительно 4 В — немного изменяется в зависимости от характера музыки.
Остается проверить наличие прямоугольных положительных импульсов на выходе DA1.4 (вывод 7). Их длительность зависит от параметров цепи C16R23 и должна составлять 100 мс. Устранить пропуски или несвоевременную выдачу импульсов удается подборкой номинала резистора R19.
Иногда узел управления срабатывает от шума, создаваемого вентилятором. В этом случае необходимо удалить микрофон ВМ1 от вентилятора или даже вынести его за пределы прибора.
ЕСЛИ НАДА ПРОШЫВКА ПОД КОНТРОЛЛЕР ПИШЫТЕ-СКИНУ: Адрес электронной почты защищен от спам-ботов. Для просмотра адреса в браузере должен быть включен Javascript. |