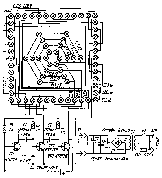
Эффект "бегущие огни" проявляется лишь при вполне определенном чередовании ламп нескольких гирлянд. В предлагаемом варианте переключающего автомата использовано три гирлянды, но каждая составлена, в свою очередь, из нескольких параллельно включенных групп ламп. В результате из всех ламп гирлянд скомпоновано панно в виде квадрата, внутри которого шестилучевая "звезда" (рис.1). Когда автомат включен, свет "бежит" по сторонам квадрата и расходится лучами внутри него.
Управляет лампами гирлянд трехфазный мультивибратор, выполненный на транзисторах VT1-VT3. Скорость переключения гирлянд зависит от номиналов деталей в базовой цепи транзисторов. Для облегчения запуска мультивибратора при включении автомата а сеть, в одном из плеч мультивибратора (в данном случае в каскаде на транзисторе VT2) установлен дополнительный конденсатор С4, емкость которого должна быть не менее 0,1 мкФ. 
Питается автомат от двухполупериодного выпрямителя на диодах VD1- VD4. Конденсаторы фильтра С5-С7 взяты большой емкости для получения более "чистого" постоянного напряжения, необходимого для устойчивой работы мультивибратора.
Транзисторы могут быть любые из серий КТ815, КТ817, но желательно с возможно большим коэффициентом передачи тока. Конденсатор С4 - МБМ, остальные - К50-6. Резисторы - МЛТ-0,125. Все лампы на напряжение 1 В и ток 0,068 А. Подойдут и другие с большим напряжением, но под них придется подобрать питающее напряжение. Для указанных ламп источник питания должен обеспечивать напряжение 9...18 В при токе нагрузки до 1 А. Причем чем меньше напряжение питания, тем меньше яркость ламп.
Основа конструкции - лист органического стекла толщиной 5...6 мм и размерами 475х475 мм, в котором просверлены отверстия диаметром 9,4 мм под лампы - они расположены в соответствии с рисунком. В отверстиях лампы закрепляют клеем (например, БФ-2), а выводы ламп соединяют отрезками монтажного провода в изоляции. Чтобы облегчить монтаж, а в дальнейшем и легче разбираться в нем, лампы каждого плеча мультивибратора желательно соединять проводниками своего цвета. Баллоны ламп можно окрасить цветным цапонлаком. Чтобы добиться большей яркости свечения получившегося панно, лист органического стекла со стороны монтажа покрывают белой нитроэмалью.
К торцам листа прикрепляют винтами М3 полоски дюралюминия толщиной 1...2 мм и шириной 40 мм, образующие боковые стенки конструкции. К трем планкам крепят, как к теплоотводам, транзисторы мультивибратора. А чтобы коллекторные цепи транзисторов не оказались соединенными между собой, в местах стыков планок должен быть зазор 2...3 мм.
Оксидные конденсаторы крепят скобами к нижней части листа с лампами, а резисторы и конденсатор С4 монтируют на стойках с лепестками или на небольшой плате. Блок питания собирают в отдельном корпусе, устанавливаемом во время работы сзади панно.
Ю. ДЕРИПОВ, г. Брянка, Ворошиловградской обл., Радио №11, 1988 г., стр.51
"Бегущие огни" на трехфазном мультивибраторе
Doc
Просмотров: 7651