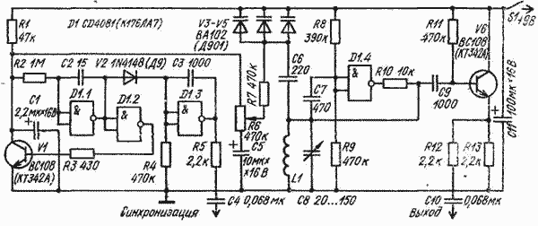
Генератор качающейся частоты предназначен для проверки и настройки трактов ПЧ.
Основные параметры
Частота основной настройки, кГц 465
Амплитуда выходного напряжения, В 2,5
Выходное сопротивление, кОм 2
Потребляемый ток, мА 3
Прибор состоит из высокочастотного генератора (инвертор D1.4), эмиттерного повторителя (транзистор V6), низкочастотного генератора (транзистор VI и элементы D1.1, D1.2) и формирователя синхронизирующих импульсов (инвертор D1.3).
Средняя частота определяется параметрами контура L1, С6, С8 и варикапами V3-V3. Необходимую девиацию устанавливают резистором R6.
Для синхронизации изображения на экране осциллографа используют импульсы положительной полярности, снимаемые с выхода D1.3.
В качестве катушки L1 можно использовать катушку фильтра ПЧ на 465 кГц от лампового радиоприемника.
Генератор качающейся частоты
Doc
Просмотров: 5593