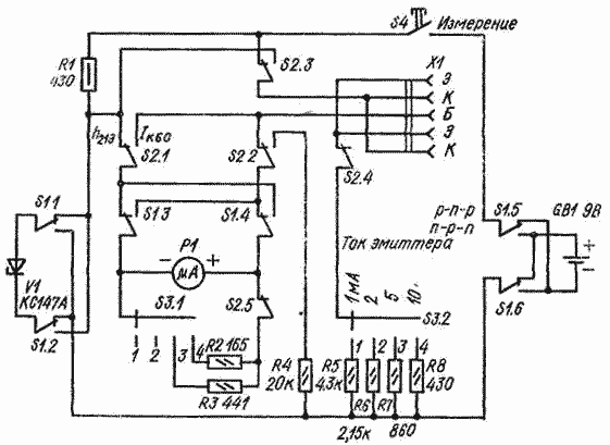
Испытатель маломощных транзисторов рассчитан на измерение статического коэффициента передачи тока при стабилизированном токе эмиттера. Такой способ измерения позволяет оценить усилительные свойства транзистора в режиме, близком к рабочему.
Основные
параметры
Измеряемый обратный ток коллектора, мкА
100
Диапазон измеряемых статических коэффициентов передачи
тока при токе эмиттера, мА:
1
10...100
5
20...200
10
20...200
Проверяемый транзистор подключают к разъему X1. Эмиттерный ток, при котором производят измерения, выбирают переключателем S3, меняющим сопротивление в эмиттерной цепи испытуемого транзистора. Для сохранения указанных пределов измерения статического коэффициента передачи тока (20...200) при токах 5 и 10 мА в третьем и четвертом положениях переключателя S3 параллельно микроамперметру подключают резисторы R2 и R3, в результате чего ток его полного отклонения увеличивается соответственно до 250 и 500 мкА.
Переключателем S2 испытатель переводят в режим измерения обратного тока: коллектора. Переключатель S1 служит для изменения полярности включения батареи питания, микроамперметра Р1 и стабилитрона VI при проверке транзисторов разной структуры.
Резистор R4, включаемый в цепь коллекторного перехода при измерении обратного тока, ограничивает ток через микроамперметр Р1 в случае, если переход окажется пробитым. Измерение параметров производится при нажатой кнопке S4.
Налаживание прибора сводится к подбору резисторов R2 и R3. Резистор R2 подбирают таким, чтобы верхний предел тока, при котором проводят измерения, составлял 500 мкА, a R3 - чтобы этот предел был равен 250 мкА. Шкалу для измерения коэффициента передачи тока рассчитывают по формуле
h21э=Iэ/Iб
где Iэ - ток, соответствующий выбранному режиму измерений; Iб - ток, отсчитанный по шкале стрелочного прибора (токи в миллиамперах). Расчет удобно производить при токе Iэ = 1 мА.
Полученные расчетные величины заносят в таблицу, которой пользуются в дальнейшем. Следует учитывать, что при токах эмиттера 2,5 и 10 мА значения коэффициента передачи по току следует умножить на 2.