Логический пробник для статических и динамических режимов

Логический пробник для статических и динамических режимов позволяет проверять логические уровни на выводах цифровых микросхем и определять, выше или ниже 25 Гц частота импульсов, подаваемых на вход пробника.

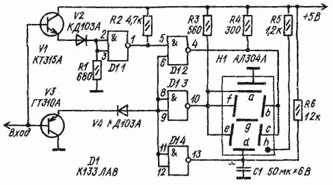
/images/stories/pictures/r7-23.pngПри отсутствии сигнала на входе элемента D1.1 низкий логический уровень, на входах D1.2 - D1.4 - высокий. Сегменты индикатора не светятся.

Если на вход пробника поступает уровень, соответствующий логической "1", на выходе элемента D1.1 будет логический "0", на выходе D1.2 - логическая "1", элементы D1.3 и D1.4 остаются в первоначальном состоянии. При этом светятся сегменты b и с и индицируется цифра "1". Когда на входе пробника будет логический "0", на выходе элементов D1.2-D1.4 появится высокий логический уровень и будут светиться сегменты а, b, с, d, e и f, т е будет индицироваться "О".

При подаче на вход пробника импульсов с частотой до 25 Гц чередование цифр "О" и "1" на индикаторе можно различить, при частотах свыше 25 Гц начинает сказываться влияние конденсатора С1. В результате яркость свечения сегмента d резко уменьшается и индицируется буква П, что означает присутствие на входе пробника импульсов с относительно высокой частотой.

Обсудить эту статью на форуме (0 ответов).
Вся информация, предоставленная на данном ресурсе разрешена к ознакомлению детям школьного возраста. Все практическое использование может быть связана с повышенной электрической опасностью и разрешено детям только под присмотром взрослых.