Логический пробник на одной микросхеме

Схема такого пробника изображена на рисунке. При отсутствии входного сигнала на входе элемента D1.1 - низкий логический уровень, на входе D1.2 - высокий, на входе D1.3 - низкий. Светодиоды HI и Н2 не светятся.

Если на вход пробника подана логическая "1", на выходе элемента D1.1 будет логический "0", через светодиод HI протекает ток, вызывающий его свечение. Элементы D1.2 и D1.3 остаются в первоначальном состоянии.

Если же на входе будет логический "0", то и на выходе элемента D1 3 также будет "0" и светиться начинает светодиод Н2. На выходе элемента D1.1 при этом будет высокий логический уровень и светодиод HI не будет светиться.

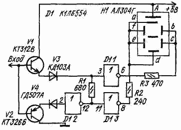
На следующем рисунке изображена принципиальная схема логического пробника, индикатором в котором является семисегментный индикатор. Состояние выходов логических элементов отображается на индикаторе в виде цифр "1" и "О".

Принцип работы этого пробника аналогичен предыдущему.

Транзистор V1 в описанных двух пробниках может быть любым маломощным кремниевым, a V2 - как германиевым, так и кремниевым. Если используется германиевый транзистор, то диод V4 должен быть кремниевым, например КД103А.

Обсудить эту статью на форуме (0 ответов).
Вся информация, предоставленная на данном ресурсе разрешена к ознакомлению детям школьного возраста. Все практическое использование может быть связана с повышенной электрической опасностью и разрешено детям только под присмотром взрослых.