Логический пробник с большим входным сопротивлением

В некоторых случаях проверки логических устройств необходимо, чтобы измерительный прибор, в данном случае - пробник, не изменял в процессе измерения режима работы проверяемого устройства. Для этого необходим пробник с большим входным сопротивлением.

http://www.radio-portal.ru/https://vpn.radio-portal.su/cache/r7-22_images_stories_pictures_thumb_medium600_0.png

http://www.radio-portal.ru/images/stories/pictures/r7-22.png
 

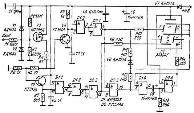
Через резистор R1 сигнал поступает на затвор полевого транзистора V3. Ограничителем входного напряжения служат диоды VI, V2, благодаря которым можно подключать пробник к цепям, находящимся под напряжением 250 В. После истокового повторителя сигнал подается на эмиттерные повторители (транзисторы V4 и V5), которые уменьшают взаимное влияние микросхем и сдвигают уровни входных сигналов, что необходимо для четкого срабатывания логических элементов D1.1 и D1.2.

При номиналах резисторов R2-R5, указанных на схеме, пороговые напряжения срабатывания "0" и "1" равны соответственно 0,4 и 2,4 В. Если в проверяемом устройстве выбраны другие значения "0" и "1", следует подобрать эти резисторы.

При входном напряжении, превышающем пороговое значение "1", на выходах элементов D1.1 и D1.2 появляется логический "0", и светится сегмент d на индикаторе Н1 (индицируется "1"). Если на входе пробника напряжение ниже порогового напряжения логического "0", на выходе D1.2 появляется логическая "1", на выходе D2А - логический "0", и зажигается сегмент f, а, b и g (индицируется знак "0"). Если напряжение на входе находится между 0,4 и 2,4В (промежуточный уровень), логическая "1" будет на выходах D2.1 и D2.2 и "0" - на выходе D2.3. Теперь светятся сегменты a, b, g (индицируется знак П) Импульсы на входе обнаруживаются ждущим мультивибратором (элементы D1.4, D2.4, С5 и R13). Когда входной сигнал переходит из "0" в "1" и обратно, на выходе элемента D2.3 формируются отрицательные импульсы. К выходу ждущего мультивибратора подключена точка (сегмент h). При частоте входных импульсов менее 20 Гц заметно мелькание точки, при частотах больше 20 Гц - точка светится непрерывно.

Если входные импульсы близки к меандру, одновременно с точкой светятся знаки "0" и "1", причем их относительная яркость зависит от скважности импульсов.

При большой или малой скважности светится один из этих знаков и точка.

Обсудить эту статью на форуме (0 ответов).
Вся информация, предоставленная на данном ресурсе разрешена к ознакомлению детям школьного возраста. Все практическое использование может быть связана с повышенной электрической опасностью и разрешено детям только под присмотром взрослых.