Перестраиваемый генератор прямоугольных импульсов

http://www.radio-portal.ru/https://vpn.radio-portal.su/cache/r7-35_images_stories_pictures_thumb_medium600_0.png

http://www.radio-portal.ru/images/stories/pictures/r7-35.png
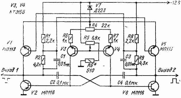
Перестраиваемый генератор прямоугольных импульсов состоит из мультивибратора на транзисторах V2, V6 и V3, V4 с перестраиваемой частотой следования и измеряемой скважностью импульсов и двух ключевых каскадов на транзисторах V1 и V5.

Порог срабатывания ключевых каскадов определяется диодом V7. Изменение скважности импульсов осуществляется переменным резистором R4, а перестройка частоты - резистором R5.

При указанных на схеме номиналах элементов генератор прямоугольных импульсов перестраивается линейно по частоте в интервале от 5 до 500 Гц и по скважности от 2 до 5. При сопротивлении нагрузки 620 Ом амплитуда импульсов практически постоянна и равна 5 В Ток, потребляемый генератором, составляет 3 мА.

Транзисторы МП116 можно заменить на МП114, МП115, а МП113 -на МП111, МП 112.

 

Обсудить эту статью на форуме (0 ответов).
Вся информация, предоставленная на данном ресурсе разрешена к ознакомлению детям школьного возраста. Все практическое использование может быть связана с повышенной электрической опасностью и разрешено детям только под присмотром взрослых.