Измерение частоты сигналов с большим периодом

При измерении частоты сигналов с большим периодом для получения высокой точности и возможности прослеживания динамики процесса необходимо вычислять частоту по значению периода между двумя соседними сигналами от датчика. Значение частоты получается в результате деления некоторой константы на текущее значение периода одновременно с процессом измерения, что важно при исследовании сигналов с изменяющейся частотой, таких, например, как частота сердечных сокращений. Возможность наблюдения процесса аритмии является весьма полезным свойством.
В [1] предложен метод измерения, основанный на принципе кусочно-линейной аппроксимации графика функции у=а/х, где происходит не деление, а вычитание на отрезках аппроксимации графика, что дает значительную абсолютную погрешность измерения. Предлагаемый в данной статье метод позволяет производить непосредственно операцию деления, тем самым получить большую точность.
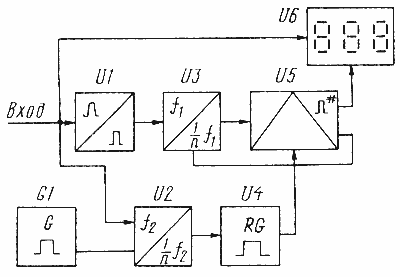
В основу предлагаемого метода положен принцип счетчика с изменяемой емкостью. Функциональная схема построения такого устройства показана на рис.1.

Рис.1

Операция деления а/х происходит следующим образом. В счетчик U2 записывается х число импульсов, приходящих от генератора G1 за один период между двумя соседними сигналами от датчика. Регистр U4 запоминает это значение на время счета. Устройство U1 формирует пачку импульсов, по числу равную значению а, и передает в счетчик U3. При совпадении кодов на выходах счетчика U3 и регистра U4, где записан код числа х, на выходе элемента U5 появится короткий положительный импульс, который сбросит показания счетчика U3. Таким образом, емкость счетчика будет определяться кодом числа х. Данный цикл продолжится, пока не закончится последовательность импульсов с устройства U1. Число импульсов, полученных на выходе элемента U5 за время счета, и будет искомым значением а/х.
Расчет частоты следования импульсов производится по формуле F = 60/Tп, где Тп - период в секундах между двумя импульсами. Нижний предел измерения определяется максимальным значением периода, равным (2n - 1)*t, где (2n - 1) - максимальная емкость счетчика, a dt- дискретность измерения периода, равная 1/fG1. Количество импульсов, вырабатываемых устройством U1, равно 60fG1.

Рис. 2 Принципиальная схема
Рис. 2 Принципиальная схема

Один из вариантов схемотехнической реализации предлагаемого способа показан на рис.2 при n =7 и dt = 0,01 с. Рассмотрим работу устройства при Тп=1с.
При поступлении на вход положительного импульса на выходе элемента DD1.3 образуется короткий отрицательный импульс, который переключит RS-триггер на элементах DD4.2 и DD4.3, и через инвертор DD1.4 установит счетчик DD5 в нулевое состояние. При появлении высокого уровня на выходе DD4.3 начнет работать генератор на элементах DD1.1 и DD1.2, а также прекратится запись в регистры DD7 и DD8, где сохранится значение предыдущего периода. При частоте 102,4 Гц генератора элементах DD2.1, DD2.2 и DD2.3 это значение равно 102.
Формирователь серии импульсов работает следующим образом. Импульсы от генератора на элементах DD1.1, DD1.2 поступают на входы счетчиков DD3 и DD6. При достижении счетчиком DD3 значения 6144 на выходе элемента DD1.4 появится отрицательный импульс, который переключит RS-триггер в исходное состояние, а он, в свою очередь, прекратит работу генератора. Время заполнения счетчика DD3 до значения 6144 и будет определять время счета.
Таким образом, на выходе счетчика DD6 поступит серия из 6144 импульсов. Когда счетчик достигает состояния 102, на выходах всех элементов DD9 и DD10 ("ИСКЛЮЧАЮЩЕЕ ИЛИ") появится уровень 0, а на выходах элементов DD11 - уровни 1. На выходе элемента DD2.4 сформируется уровень логического нуля, который через инвертор DD4.4 установит счетчик в исходное состояние, после чего запись в него будет продолжена. Следовательно, за 102 импульса, пришедших на счетчик, образуется один импульс сброса, а за 6144 - 60 таких импульсов. Подробно работа счетчика с управляемой емкостью рассмотрена в [2].
Нижний предел измерения равен 49 импульсам в минуту. Верхний предел будет определяться временем счета. При частоте генератора на элементах DD1.1, DD 1.2, равной 120 кГц, время счета равно 0,05 с. Точность и пределы измерения зависят от разрядности устройства и дискретности измерения периода, что позволяет использовать данное устройство в широком диапазоне частот.
Для настройки прибора на вход следует подать сигнал с частотой 1 или 0,5 Гц и подбором резистора R6 установить соответствующие показания устройства индикации. Если при расчете устройства возникает необходимость получения числа импульсов в серии, описываемых более чем двумя двоичными разрядами, вместо элемента DD4.1 нужно будет использовать многовходовый элемент "И-НЕ".
Используя данный метод, можно также строить устройства для деления одной последовательности импульсов на другую.

И.КОСТРЮКОВ, г. Москва
P.S. В предложенном варианте схемотехнического решения микросхемы DD9 - DD11 можно заменить двумя корпусами микросхем К561ИП2. В цепях питания микросхем следует установить два-три блокировочных конденсатора емкостью 0,01 мкф (на схеме не показаны).

ЛИТЕРАТУРА
1. Чекин В. Измерение частоты сигналов с большим периодом. - Радио, 1990,№6, с. 57-59.
2. Псурцев В. Счетчики с асинхронным сбросом. - Радио, 1984, №1, с.33, 34.

Обсудить эту статью на форуме (0 ответов).
Вся информация, предоставленная на данном ресурсе разрешена к ознакомлению детям школьного возраста. Все практическое использование может быть связана с повышенной электрической опасностью и разрешено детям только под присмотром взрослых.