Кварцевый калибратор

Для регулировки, настройки и градуировки шкал радиоприемных устройств и радиолюбительских измерительных генераторов и их поверки при длительной эксплуатации нужен источник сигналов более высокого класса точности и стабильности. Предлагаемый вариант кварцевого калибратора обеспечивает на выходе сетку модулированных гармоник основной частоты используемого кварцевого резонатора. Так, при использовании кварца с номинальной частотой 100 кГц на приемнике с KB диапазоном 16 - 19 м легко обнаруживается 160-я гармоника. Подобный прибор может быть полезен не только радиолюбителям, но в ряде случаев и в сервисных службах, на предприятиях.
Конструкция калибратора проста в схемотехническом отношении, не содержит дефицитных радиоэлементов, имеет небольшие габариты и проста в регулировке. В изготовленном автором экземпляре устройства испытания показали, что без дополнительных регулировок уверенно возбуждаются кварцевые резонаторы с частотой до 15 МГц, что позволяет расширить сетку калибрационных меток вплоть до частот телевизионных диапазонов метровых волн.
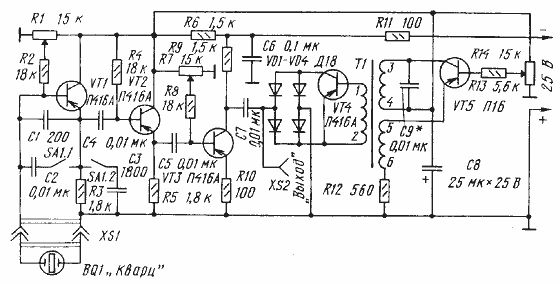
http://www.radio-portal.ru/images/stories/pictures/3212_1.pngСхема прибора приведена на рис.1. На транзисторе VT1 выполнен задающий генератор по схеме емкостной трехточки. Частота генерации определяется подключаемым к гнездам XS1 кварцевым резонатором. Для облегчения возбуждения резонатора на частотах ниже 2,5 МГц контакты переключателя SB1 следует замкнуть. Выход на режим генерации зависит от тока базы, который можно выбирать переменным резистором R1. Генерируемые колебания несинусоидальны.

На транзисторе VT2 выполнен эмитгерный повторитель, а на VT3 - усилитель с двусторонним ограничением сигнала. С последнего сигнал через конденсатор С7 подается на выходной разъем XS2 и в одну из диагоналей мостового модулятора на диодах VD1 - VD4 и транзисторе VT4.
В другую диагональ подан сигнал звуковой частоты, сформированный автогенератором на транзисторе VT5. В коллекторную, цепь генератора с самовозбуждением включен резонансный колебательный контур, состоящий из обмотки 3-4 трансформатора Т1 и конденсатора С9 и определяющий частоту генерации в пределах 1,5…2 кГц. Положительная обратная связь с обмотки 5-6 трансформатора подается в цепь эмиттера транзистора.
Плата кварцевого калибратора выполнена с использованием двустороннего фольгированного стеклотекстолита толщиной 1,5...2 мм. Монтаж односторонний, но фольгу с другой стороны платы снимать не следует, так как она выполняет роль экрана. В авторском варианте исполнения эта часть платы выполняет еще и роль передней панели. Тогда на ней необходимо предусмотреть конструкционное и графическое оформление органов управления и разъемов.
Радиоэлементы перед установкой на плату желательно проверить, особенно это относится к транзисторам. Их следует выбрать с коэффициентом передачи тока базы не менее 30. Кроме рекомендованных в конструкции кварцевого калибратора, вместо П416А можно применить транзисторы группы П308, ГТ308, КТ361, а вместо П16 - МП21, МП39, МП41 с допустимым напряжением между коллектором и эмиттером не менее 25 В.
При самостоятельном изготовлении трансформатора следует взять магнитопровод Ш4х5 и проводом ПЭЛ 0,07 намотать обмотки: 1-2 - 500, 3-4 - 2500 и 5-6 - 200 витков. Его можно выполнить на основе готового трансформатора от транзисторных малогабаритных приемников, напри мер, "Спидола", "ВЭФ-12", "Альпинист", "Сокол" и других. Трансформатор этих приемников достаточно будет дополнить обмоткой 5-6, пропорциональной по числу витков (см. данные самостоятельного изготовления) коллекторной его обмотке. Трансформатор этих приемников достаточно будет дополнить обмоткой 5-6, пропорциональной по числу витков (см. данные самостоятельного изготовления) к плате следует закрепить металлической полоской (хомутик) с двумя винтами.
Если монтаж выполнен без ошибок и радиоэлементы перед их установкой были проверены, то прибор начинает работать сразу. При регулировке устройства вначале следует проверить ток потребления, в рабочем режиме он может достигать 30...35 мА.
Для проверки генерации необходимо иметь набор кварцевых резонаторов: 0,1, 1 и 10 МГц. В качестве индикатора колебаний желательно иметь осциллограф или милливольтметр переменного тока с рабочими частотами не менее 10 МГц. Кварцевый резонатор подключить к гнездам, переменные резисторы R1 и R7 установить в положения минимального сопротивления между движком и общей шиной питания, а R14-в среднее положение. Вращая резистор R1 по осциллографу или вольтметру переменного тока, подключенных к выходному разъему XS2, добиваются возникновения генерации. Затем резистором R7 устанавливают требуемый размах колебаний и симметричность ограничений (определить возможно только по осциллографу).
При отсутствии измерительной аппаратуры контроль генерации колебаний к наличие гармоник можно вести обычным радиовещательным приемником, имеющим СВ и KB диапазоны. В этом случае к выходному гнезду кварцевого калибратора следует подключить отрезок любого провода длиной 1 м. Приемник разместить в непосредственной близости от провода (но ни в коем случае не подключать провод в гнездо антенны приемника - эффективное напряжение на выходе кварцевого калибратора может достигать 5 В и оно может оказаться опасным для полупроводниковых приборов входного устройства).

Обсудить эту статью на форуме (0 ответов).
Вся информация, предоставленная на данном ресурсе разрешена к ознакомлению детям школьного возраста. Все практическое использование может быть связана с повышенной электрической опасностью и разрешено детям только под присмотром взрослых.