Фазометр на ОУ



Многие электронные фазометры имеют весьма существенный недостаток, заключающийся в том, что их входы гальванически связаны. Эта особенность ограничивает область практического применения прибора.
Предлагаемый фазометр свободен от указанного недостатка. Этого удалось достигнуть заменой логического элемента сравнения оптроном. В приборе также обеспечена развязка измерительных каналов и по питанию. Все это расширяет функциональные возможности фазометра, приближая его к аналогичным приборам электродинамической системы. Он позволяет измерять угол сдвига фазы не только между напряжением и током, но и между двумя напряжениями или двумя токами.

Основные технические характеристики


Напряжение Uвх1 (Uвх2), прикладываемое к входу канала, В . . . 0,03...100
Ток Iвх1 (Iвх2) в цепи входа канала, А . . . 0,01...5
Частотная полоса измеряемых сигналов, кГц . . . 0,01...100
Погрешность измерения, не хуже, % ... ±3
Потребляемая мощность, Вт ... 1


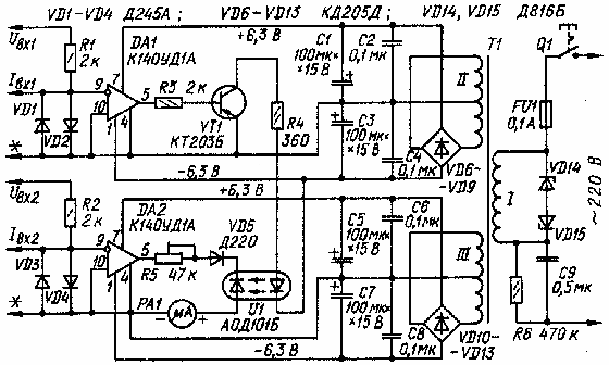
Принципиальная схема устройства показана на рис.1. Прибор состоит из двух измерительных каналов, близких по структуре. Входной сигнал в каждом из них ограничивают по амплитуде диоды (VD1-VD4), а компараторы на ОУ (DA1, DA2) преобразуют его в прямоугольные импульсы, противофазные входному напряжению, амплитуда которых постоянна и близка к напряжению питания.
Предположим, что угол сдвига фазы входных сигналов равен нулю (рис.2, а). Тогда в отрицательный полупериод выходного напряжения компаратора DA1 открывается транзистор VT1 и в цепи светодиода оптрона U1 протекает ток. Отрицательное выходное напряжение компаратора DA2 приложено к диоду VD5 в обратном направлении, поэтому ток в цепи микроамперметра РА1 не протекает.
При положительном напряжении на выходе компараторов транзистор VT1 закрыт, светодиод выключен оптрон U1 закрыт и ток в цепи микроамперметра РА1 также отсутствует. Таким образом, среднее значение тока, протекающего через микроамперметр за период входного напряжения, равно нулю.
Если же входные сигналы сдвинуты один относительно другого на некоторый угол (точки изменения знака выходного напряжения компараторов смещены во времени, рис.2, б), то в течение промежутка времени от t1 до t2, пропорционального углу сдвига фазы между входными сигналами, оптрон будет открыт. Среднее значение тока, протекающего за период входного напряжения через микроамперметр, пропорционально измеряемому углу сдвига фазы.

Рис. 1 Принципиальная схема

Измерительные каналы устройства питаются от отдельных выпрямителей, гальванически не связанных между собой. В цепь первичной обмотки сетевого трансформатора Т1 введены два стабилитрона (VD14, VD15), включенных встречно-последовательно. Поэтому амплитуда напряжения на первичной обмотке стабилизирована. Излишек сетевого напряжения гасит балластный конденсатор С9, а резистор R6 разряжает его после выключения прибора.
С выводов каждой из вторичных обмоток трансформатора снимают напряжение почти прямоугольной формы, которое выпрямляет диодный мост и сглаживает емкостный фильтр. Такое схемное решение блока питания обеспечивает очень низкий уровень пульсации, а среднее значение (постоянная составляющая) у него намного выше, чем у выпрямителей синусоидального напряжения. Это, в свою очередь, снижает требования к сглаживающим фильтрам и увеличивает жесткость внешней характеристики всего выпрямителя.
В устройстве применены резисторы МЛТ и СП3-1Б (R5). Вместо ОУ К140УД1А подойдут стандартные компараторы напряжения, например, К521СА3. Транзистор КТ203В можно заменить любым кремниевым структуры p-n-p с допустимым током коллектора 10...20 мА. Диоды VD1-VD4 выбирают в соответствии с предельным значением измеряемого тока, но они должны иметь возможно меньшее прямое падение напряжения. Стабилитроны VD14, VD15 можно заменить другими с напряжением стабилизации 30... 100 В и током стабилизации 30...10 мА соответственно, однако в этом случае необходимо изменить и число витков первичной обмотки трансформатора Т1 (при большем напряжении число витков увеличивают).
Трансформатор T1 выполнен на магнитопроводе Ш10Х20. Сетевая обмотка содержит 600 витков провода ПЭВ-1 0,21, а каждая вторичная - 2Х180 витков провода ПЭВ-1 0,13. Микроамперметр РА1 - магнитоэлектрической системы с током полного отклонения стрелки 50...100 мкА.
Электронный фазометр имеет равномерную шкалу, и его налаживание заключается в установке резистором R5 максимального угла отклонения стрелки микроамперметра. При этом вход фазометра подключают к источнику противофазного синусоидального напряжения, параметры которого соответствуют входному напряжению и частоте прибора.
При эксплуатации фазометра следует помнить, что максимальное напряжение, которое можно прикладывать между каким-либо входом одного измерительного канала и соответствующим входом второго, не должно превышать допустимого для оптрона (около 100 В).

Обсудить эту статью на форуме (0 ответов).
Вся информация, предоставленная на данном ресурсе разрешена к ознакомлению детям школьного возраста. Все практическое использование может быть связана с повышенной электрической опасностью и разрешено детям только под присмотром взрослых.