Медицинский термометр

Медицинский термометр предназначен для измерения температуры тела человека и может работать в двух поддиапазонах измерений.

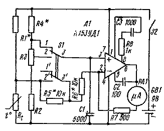
На первом из них измеряется температура в диапазоне +20...44╟С, а на втором контролируется отклонение температуры от предварительно установленного значения в диапазоне -2╟С. Термочувствительным элементом служит термистор Rt, включенный в одно из плеч моста, образованного резисторами R1, R2, R3 и R4. Напряжение разбаланса моста усиливается операционным усилителем А1 типа К153УД1, в цепь обратной связи которого включен микроамперметр с током полного отклонения 0,1 мА. Мост можно сбалансировать резисторами R1 и R4 при температуре 20╟С на первом поддиапазоне. На втором поддиапазоне резистор R5 замыкается накоротко и чувствительность прибора возрастает в 10 раз. В этом случае полному отклонению стрелки прибора соответствует изменение температур на 4╟С.

Переменным резистором R3 можно регулировать напряжение на неинвертиругощем входе операционного усилителя, устанавливая стрелку прибора на середине шкалы для наблюдения за отклонением температуры на 2╟С.

Сопротивления резисторов, составляющих мостовую схему, можно выбрать с учетом сопротивления термистора при температуре 20╟С:

R1= R4= R2+ R3= Rt

Питается прибор от батареи "Крона".

Термистор желательно выбирать малых размеров с со противлением при 20╟С в пределах 500...5000 Ом. Его покрывают тонким слоем эпоксидного клея, а выводы тщательно изолируют и подключают экранированным кабелем к входу прибора.
Обсудить эту статью на форуме (0 ответов).
Вся информация, предоставленная на данном ресурсе разрешена к ознакомлению детям школьного возраста. Все практическое использование может быть связана с повышенной электрической опасностью и разрешено детям только под присмотром взрослых.