Портативный прибор для электросна

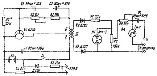
Схема портативного прибора для электросна показана на рисунке.

Прибор можно использовать как в стационарных, так и в походных условиях с питанием от батареи 9 В. Прибор состоит из блокинг-генератора, выполненного на транзисторах VI П216 (с любым буквенным индексом), и импульсного трансформатора. Частоту генератора можно изменять резистором R2 в пределах I-500 Гц, а напряжение и ток, действующие в цепи,- резисторами R7 и R8 соответственно.

В приборе применен амперметр со шкалой 1 мА. Трансформатор выполнен на сердечнике из пермаллоя площадью сечения 3 см2. Обмотка I содержит 86 витков провода ПЭЛ 00,6, обмотка II - 55 витков провода ПЭЛ 0,3, обмотка III - 980 витков провода ПЭЛ 0,1-0,12.

К прибору можно подключить головные телефоны, что иногда усиливает действие электрических импульсов на пациента при лечении бессонницы и некоторых видов неврозов. Величину тока подбирают в пределах 150- 250 мкА при напряжении 1 -16В, частота импульсов - 1-200 имп/с, причем в начале сеанса используется высокая частота, затем постепенно понижается до частоты пульса больного. Комбинированное применение нескольких влияющих факторов(имитация шума прибоя, звуковые сигналы метронома, а также ионы калия и брома) значительно повышает эффект от электросна.

Обсудить эту статью на форуме (0 ответов).
Вся информация, предоставленная на данном ресурсе разрешена к ознакомлению детям школьного возраста. Все практическое использование может быть связана с повышенной электрической опасностью и разрешено детям только под присмотром взрослых.