Устройство для отбора яда у пчел

В естественных условиях пчела выделяет яд при укусе, при этом она теряет жало и погибает. Процесс отбора яда можно обезопасить для пчел. Для этого достаточно раздражать пчелу импульсами электрического напряжения амплитудой 40-50 В при длительности импульсов 20-30 мкс. Такое напряжение подводят к тонким, близко расположенным друг от друга проволочкам, натянутым над стеклом и опущенным в улей. Пчела, севшая на проволочки, в ответ на раздражение через жало выпускает каплю яда, которая падает на стекло. Продолжительность сбора яда с одного улья составляет 5 мин, после чего пчелам необходимо дать часовой перерыв.

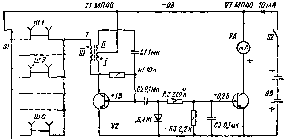
Схема устройства, вырабатывающего указанные импульсы, представляет собой блокинг-генератор, выполненный на транзисторе VI и трансформаторе Т1. Высоковольтные импульсы снимаются с повышающей обмотки III трансформатора. Для контроля за работой блокинг-генератора служит импульсный вольтметр, состоящий из диодного детектора и усилителя постоянного тока на транзисторе V2, нагрузкой которого является миллиамперметр со шкалой до 1...5 мА.

Детали. Транзисторы типа МП40-МП42, МП25, МП20, МП21 с любыми буквенными индексами; резисторы типа МЛТ-0,125; трансформатор выполнен на сердечнике Ш12 X 12; обмотка I содержит 60 витков, обмотка II - 250 витков, обмотка III - 1200 витков провода ПЭЛ-0,1. Проводники сетки натянуты в виде двух гребенок, вставленных одна в другую, и соединенных с прибором двухпроводным шнуром. Расстояние между проводниками сетки подбирают так, чтобы пчела могла касаться двух проводников одновременно.

Налаживание сводится к подбору резистора R2, чтобы при работе генератора совместно с соединительным проводом длиной до 20 м и сеткой устройства стрелка прибора находилась в центре шкалы. С помощью разъемов Ш1...Ш6 и переключателя S1 напряжение коммутируется в разные ульи.

Обсудить эту статью на форуме (0 ответов).
Вся информация, предоставленная на данном ресурсе разрешена к ознакомлению детям школьного возраста. Все практическое использование может быть связана с повышенной электрической опасностью и разрешено детям только под присмотром взрослых.