Прибор агронома

Прибор агронома позволяет измерять температуру, абсолютную влажность почвы и освещенность.

Основные параметры Интервал измеряемых температур, ╟С 0...50
Погрешность измерения температуры, С 0,5
Интервал измеряемой освещенности, лк 10-3...103
Точность измерения освещенности, % 5
Пределы измерения влажности, % 5...40
Точность измерения влажности, % 5
Питание (батареи 3336Л), шт 2


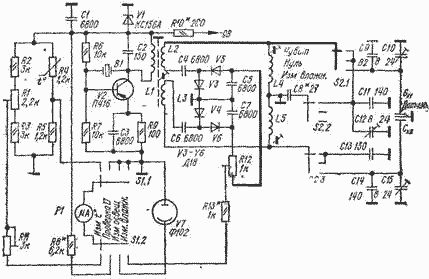
Датчиком температуры служит терморезистор R4, включенный в одно из плеч моста, образованного резисторами R1-R5. Балансируют мост при температуре 0╟С переменным резистором R1. С изменением температуры баланс нарушается. Ток разбаланса, пропорциональный температуре измеряемого объекта, протекает через измерительный прибор Р1.

Освещенность определяют фотоэлементом V7, При освещении его возникает ток, измеряемый тем же прибором Р1.

Датчик влажности - емкостный, дифференциальный. Его половины СХ1 и CX2 включены соответственно в контуры L5, С14, С15 и L4, С9, С10. Контуры через катушки L2 и L3 связаны с контуром генератора, собранного на транзисторе МП42.

Напряжения в положении Изм. влажн. переключателей S1 и S2, снимаемые с контуров L4, С9, С10, СX1 и L5, С14, С15, CX2, выпрямляются соответственно выпрямителями на диодах V3, V5 и V4, V6, собранными по схеме удвоения напряжения. Суммарное выходное напряжение с конденсаторов С5 и С7 через резисторы R12 и R13 подается на прибор P1 Первый контур настроен на частоту выше частоты генератора (9,125 МГц), второй - ниже.

С увеличением влажности почвы увеличиваются емкости датчика. При этом резонансная частота контора L4, С9, С10, СX1 приближается к частоте генератора, а частота контура L5, С14, С15, CX2 уходит от нее. Следовательно, напряжение ВЧ на первом контуре растет, а на втором падает. Температурный дрейф компенсируется конденсаторами С9 и С14 (с отрицательным ТКЕ), размещенными в датчике. В положениях Нуль и Чувств переключателя S2 контролируют отклонение стрелки прибора на начальную и конечную отметки шкалы перед измерением влажности.

В колебательных контурах прибора необходимо устанавливать керамические конденсаторы серого или голубого цвета. Конденсаторы С9 и С14 типа КТ 1а-М1300, терморезистор R4 - ММТ-1 или КМТ-1, фотоэлемент V7 - Ф102 в пластмассовом корпусе, диоды V3...V6 - любые высокочастотные, кварц В1 -РПК-7 с резонансной частотой 9,125 МГц, прибор Р1 -М24 на 100 мкА.

Все катушки намотаны на фторопластовых каркасах диаметром 9 мм, сердечники - СЦР-1. Катушки L1...L3 имеют соответственно 17,8 и 8 витков провода ПЭЛ 0,55 мм, намотка - виток к витку. Катушки L2 и L3 намотаны поверх катушки L1. Между L1 и L2, L3 проложен незамкнутый слой медной фольги. Катушки L4 и Z5 содержат соответственно 16 и 20 витков того же провода намотка - внавал. Длина намотки - 5 мм, расстояние между катушками - 20 мм.

Датчиком влажности служит цилиндр из нержавеющей стали, в который на изоляционном основании (фторопласт) установлены два электрода. Емкости CX1 и СX2 образуются между внутренними стенками цилиндра и электродами. Диэлектриком служит исследуемая проба грунта. Для налаживания измерителя нужны авометр и ламповый вольтметр ВК-7Б, образцовые термометр и люксметр, оборудование для определения влажности почвы весовым методом.

Терморезистор R4 помещают в тающий лед. Переменным резистором R1 устанавливают стрелку прибора Р1 на нулевую отметку шкалы. Затем терморезистор опускают в воду с температурой 50 ╟С и переменным резистором R11 добиваются отклонения стрелки прибора на конечную отметку шкалы. Эти операции повторяют несколько раз, после чего градуируют шкалу температур.

Затем переключатель S1 переводят в положение Изм. освещ и по образцовому люксметру (например, Н-16) градуируют шкалу прибора.

После этого проверяют работу кварцевого генератора. Контур L1C2 настраивают так, чтобы ВЧ напряжение на коллекторе транзистора V2 было максимальным. Переключатель S2 устанавливают в положение Нуль. Вращая сердечники катушек L4 и L5, добиваются, чтобы стрелка прибора Р1 установилась на нулевую отметку. Затем, заполнив датчик почвой с влажностью 5% и переведя переключатель S1 в положение Изм. влажн., подстроечными конденсаторами С10 и С15 вновь устанавливают стрелку на нулевую отметку шкалы. После этого датчик заполняют почвой с максимальной влажностью. Вращая движок резистора R12 и подбирая резистор R13*, добиваются отклонения стрелки прибора на конечную отметку шкалы. Далее строят градуировочный график прибора по влажности. Влажность почвы определяют весовым методом.

Наконец, установив переключатель S3 в положение Чувств. подбирают конденсатор СЗ и добиваются отклонения стрелки на конечную отметку шкалы.

Обсудить эту статью на форуме (0 ответов).
Вся информация, предоставленная на данном ресурсе разрешена к ознакомлению детям школьного возраста. Все практическое использование может быть связана с повышенной электрической опасностью и разрешено детям только под присмотром взрослых.