Данное переговорное устройство (ПУ ) имеет ряд достоинств. Первое - это обеспечение дуплексной связи, т.е. связи, как при обычном телефонном разговоре. Второе - достаточно большая дальность связи - до километра и более. Простота изготовления, минимум деталей, несложность настройки, с одной стороны, и широкие возможности применения (от дачного варианта до связи в офисах и между охраняемыми объектами) - с другой.
Из структурной схемы, показанной на рис.1, видно, что переговорное устройство состоит, из двух одинаковых наборов узлов, симметричных относительно соединяющей их двухпроводной линии связи. Усилители А и В позволяют увеличить сигнал с микрофона ВМ1 до такого значения, что даже линия длиной в километр не может ослабить его настолько, чтобы он стал не слышен в телефоне BF1 другого абонента.
О назначении резисторов Rа и Rв следует сказать особо, потому что благодаря им возможен дуплексный режим работы ПУ. Не будь их, низкоомные выходы усилителей А и В шунтировали бы телефоны и, по существу, стали нагрузкой для другого усилителя. При этом сигнал в телефоне практически не будет слышен.
Но с введением резисторов появляется другая проблема - как добиться громкого и разборчивого звука во время разговора? Для этого и нужна, по возможности, полная симметрия ПУ: использование в обеих телефонных трубках одинаковых микрофонов и телефонов, а также усилителей с равным напряжением на выходе Uа=Uв и резисторов Rа и Rв с равными сопротивлениями. В этом случае сигналы в линию от усилителей А и В тоже будут равными, а значит, станет возможна двусторонняя связь. |
 |
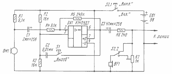
Принципиальная схема ПУ показана на рис.2. Усилитель собран на операционном усилителе (ОУ) К140УД7. Этот ОУ средней точности со встроенной коррекцией и защитой выхода от короткого замыкания в нагрузке. Рассмотрим работу усилителя. Сигнал с угольного микрофона ВМ1 амплитудой 30...60 мВ усиливается ОУ до напряжения 1 В. Коэффициент усиления ОУ задается резисторами R5 и R4 и подбирается равным 20...30 (Кu=R5/R4=240k/9,1k=26,3).
Эти значения коэффициента усиления данного ОУ и амплитуды входного сигнала с микрофона были получены из экспериментальных данных и являются оптимальными. Наибольшая дальность связи обеспечивается максимальной амплитудой сигнала в линии, при которой отсутствуют его искажения. При подаче на вход усилителя сигнала амплитудой 150 мВ на выходе ПУ получался сигнал амплитудой 3,5В. При дальнейшем увеличении входного сигнала начинались заметные искажения. Увеличение же коэффициента усиления ОУ более 30 нецелесообразно, потому что возрастает вероятность самовозбуждения усилителя.
Уровень входного сигнала задается резистором R1, который определяет ток, проходящий через угольный микрофон. Уменьшение сопротивления вызывает увеличение тока через угольный микрофон, а значит, повышение входного напряжения, снимаемого с микрофона и подаваемого на ОУ.
Если будет применяться элекгретный микрофон МКЭ-3 или электродинамический ДЭМШ, то резистор R1 можно исключить и использовать схему включения для применяемого микрофона.
Делитель напряжения из резисторов R2 и R3 позволяет обеспечить однополярное питание. Эти резисторы должны быть по возможности одного номинала, иначе не исключены искажения сигнала на выходе ОУ. Выбор их будет верным, если напряжение, измеренное на выводе 6 ОУ, окажется равным половине напряжения питания.
Резистор R6 - балансный, необходимый для обеспечения дуплексной связи. Он выполняет функцию резистора Rа или Rв (рис. 1).
Резистор R7 позволяет подстроиться под различное сопротивление линии и сопротивление телефонного капсюля, а значит, добиться устранения местного эффекта, когда сигнал со своего микрофона заглушает сигнал, поступающий в свой телефон от собеседника. Если линий и абонентов будет несколько, есть смысл сделать резистор R7 переменными вывести его под оперативную регулировку на корпус.
Для вызова другого абонента достаточно нажать на кнопку S1 "Вызов". При этом обратная связь, образуемая конденсатором С2, превращает ОУ в RC-генератор. Амплитуда сигнала в линии при вызове составляет от 3,5 до 4,5 В, частота следования прямоугольных импульсов - 1 кГц. Мощность, выделяемая в телефонном капсюле собеседника, составляет не менее 150 мВт. Этого достаточно, чтобы услышать вызов.
|
 |
Немного о конструкции и деталях ПУ. Печатная плата (рис.3) для усилителя выполнена из одностороннего фольгированного стеклотексголита толщиной 1,5 мм.
В качестве подстроечного резистора R7 в усилителе использован СП3-1б, возможна замена на СП-4 или переменный резистор, например, СП3-41. Все остальные резисторы - МЛТ-0,125 Вт. Оксидный конденсатор С1 - К56-12 (или К50-35); . С3 - К50-35; конденсатор С2 - МБМ. Вместо микросхемы К140УД7 подойдет КР140УД708, выполненная в прямоугольном пластмассовом корпусе. Выключатель S1 - ПКН2-1В, переключатель S2 - П2К. Телефонный капсюль - сопротивлением 50...60 Ом, микрофон - угольный, электродинамический (ДЭМШ), электретный (МКЭ-3). Источник питания - батарея "Крона", "Корунд", "Ника".
Теперь о настройке. Первое, что нужно сделать, - проверить правильность подпайки выводов микросхемы DA1 (если смотреть на К140УД7 со стороны ножек, то напротив ключа-металлического выступа - будет первая ножка микросхемы и далее по часовой стрелке - вторая, третья и т.д.). Если вас не удовлетворяет качество связи, придется разбираться с ПУ более основательно. Потребуются генератор звуковой частоты, осциллограф и авометр. Дальше можно порекомендовать следующий алгоритм действий. Проверить, есть ли на выводе 6 микросхемы напряжение, равное половине напряжения питания. При необходимости установить заданный режим более точным подбором резисторов R2 и R3.
Подключив осциллограф сначала к микрофону, а затем к выходу ПУ, замерьте в каждом случае амплитуду сигнала, разговаривая перед микрофоном. Если сигнал с микрофона оказывается существенно меньше 50 мВ, поменяйте микрофон. Если других микрофонов под рукой нет, а сигнал с этого больше не развивается при любых подборах R1, попробуйте увеличить коэффициент усиления ОУ увеличением сопротивления резистора R5 или уменьшением R4.
При наблюдении по осциллографу за сигналом с микрофона видно множество гармоник разной частоты и амплитуды, трудно определить и замерить истинную амплитуду сигнала. Поэтому лучше временно отключить микрофон, а вместо него подать с генератора синусоидальный сигнал частотой 1000 Гц. Замерьте с помощью осциллографа амплитуду сигнала на входе (левый по схеме вывод С1) и выходе (вывод 6 ОУ) усилителя, определите коэффициент усиления и, если он окажется меньше 20, займитесь подбором резисторов R4 и R5.
|
 |
Обратите внимание на то, чтобы ваш голос прослушивался в вашем телефоне, но не заглушая голоса собеседника. Для обеспечения этого условия попробуйте подстроиться резистором R7 или подберите балансный резистор R6.
При настройке ПУ старайтесь не допускать паразитной акустической обратной связи между микрофоном и телефоном. Для этого сначала закрепите микрофон и телефонный капсюль в каждой трубке. Затем при проверке прохождения вызова и ответа разнесите трубки в пространстве по возможности дальше друг от друга (здесь вам понадобится помощник).
В режиме "молчания", когда обе трубки выключены, потребляемый ток каждой трубки составляет 1,5 мА. В режиме "Вызова" - одна трубка выключена, другая вкпючена и нажата кнопка S1 - потребляемый ток возрастает до 3,5...4,5 мА. В режиме разговора, когда обе трубки включены, он колеблется от 2,2 до 3,3 мА в зависимости от громкости голоса говорящего.
Д. МАКАРОВ, г.Москва, Радио №10, 1994 г.
|