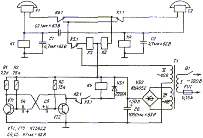
Это устройство работает следующим образом. Допустим, что контакты выключателя Q1 замкнуты, питание подано на элементы устройства, а трубки телефонных аппаратов Е1, Е2 находятся в исходном положении. Контакты рычажных переключателей телефонных аппаратов при этом подключают к зажимам аппаратов последовательно соединенные звонок и конденсатор; сопротивление аппарата постоянному току бесконечно велико, ток в линиях аппаратов отсутствует, и электромагнитные реле К1?К5 обесточены.
Если первый абонент (обладающий телефонным аппаратом Е1) желает вызвать второго абонента, он должен снять трубку аппарата Е1. При этом к линии будет подключено сопротивление аппарата Е1, составляющее несколько сотен ом, и в линии потечет ток по цепи: "плюс" источника питания - обмотка реле КЗ - нормально замкнутые контакты К4.1 - внутреннее сопротивление телефонного аппарата Е1 - обмотка реле К1 - общий провод источника питания. Реле К1 и КЗ сработают. Контакты КЗ.1 замкнут цепь обмотки реле К5, которое начнет срабатывать с частотой 0,5...1 Гц, вырабатываемой симметричным мультивибратором на транзисторах VT1, VT2. Через замыкающие контакты К5.1 на аппарат Е2 будет периодически поступать переменное напряжение 50 Гц, приводящее в действие звонок аппарата. Цепь подачи вызывного напряжения такова: верхний (по схеме) вывод обмотки II трансформатора Т1, замыкающие контакты К5.1 и К 1.1, аппарат Е2, параллельно соединенные обмотка реле К4 и конденсатор СЗ, общин провод, соединенный с нижним (по схеме) выводом обмотки II. Услышав звонок, абонент снимет трубку аппарата Е2. Сработает реле К4. В момент нахождения контактов К5.1 в показанном на схеме положении сработает реле К2 и контактами К2.1 обесточит обмотку реле К5. Реле КЗ также отпустит. Абоненты могут вести разговор. Разговорный ток протекает через обмотки реле Kl, K4, К2, аппараты El, E2, а также через конденсаторы С1-СЗ. В течение разговора под током находятся обмотки реле Kl, К2, K4, а реле K4 и К5 обесточены. После возвращения трубок обоих аппаратов на рычаги все реле отпускают.
Аналогично работает переговорное устройство и при вызове первого абонента вторым.
|
Конденсаторы С1, СЗ предотвращают вибрацию якорей реле Kl, K4 при прохождении вызывного тока, а также замыкают по переменному току цепь вызывного сигнала. Кроме того, эти конденсаторы не позволяют отпускать реле Kl (K4) при переключении контактов К4.1 (К 1.1). Конденсатор С2 замыкает разговорную цепь по переменному току. Помимо этого, наличие конденсатора С2 позволяет контролировать исправность линии вызываемого абонента: если линия исправна, то в трубке вызывающего абонента слышен сигнал вызывного тока (50 Гц).
Диод VD1 гасит импульсы напряжения, возникающие на обмотке реле К5 в момент его переключения. Шунтирование диодами обмоток других реле не требуется, поскольку они не управляются транзисторами.
Постоянное напряжение +50 В получают с помощью выпрямительного моста VD2 и конденсатора Сб.
В качестве транзисторов VT1, VT2 можно использовать транзисторы типов КТ503 (Д,Е), КТ608Б, КТ3117А, КТ815 (В,Г). При замене транзисторов следует иметь в виду, что их предельное рабочее напряжение должно быть не менее 60 В, а статический коэффициент передачи тока базы ? не менее 40. Диод VD1 может быть типов Д220 (А, Б), Д223 (А, Б), Д226, КД102 (А, Б), КД105, КД106; конденсаторы С1-СЗ - К73-17, С4-С6 - К50-24. Можно использовать и другие типы конденсаторов с рабочим напряжением не менее 60 В. Реле К1-К5 - РЭС15, паспорт РС4.591.001. Можно применять реле других типов с рабочим током не более 20 мА. При этом их рабочее напряжение должно быть примерно вдвое меньше напряжения источника питания. Трансформатор Т1 выполнен на ленточном магнитопроводе ШЛ16х25. Обмотка I содержит 2200 витков провода ПЭВ-2 0,08; обмотка II - 410 витков провода ПЭВ-2 0,12; обмотка III - 410 витков провода ПЭВ-2 0,14.
Вес элементы переговорного устройства размещены в корпусе одного из телефонных аппаратов.
В налаживании устройство не нуждается.
|