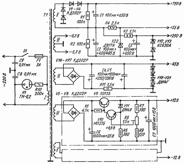
Выпрямитель для питания лампово-полупрсводникового трансивера обеспечивает наряду с низковольтным напряжением для питания микросхем и относительно высокое напряжение для электронных ламп, устанавливаемых в усилителе мощности передатчика.
Схема выпрямителя особенностей не имеет. Трансформатор питания собран на магнитопроводе ШЛ 25 X 32 Обмотка I содержит 950 витков провода ПЭВ-2 - 0,64, обмотка II - 1250 витков ПЭВ-1 - 0,33, обмотка III - 175 витков ПЭВ-1 - 0,25, обмотки IV и V - имеют по 75 витков провода ПЭВ-1 -0,64, обмотка VI состоит из 2 X 31 витков провода ПЭВ-2 - 1,12.
Транзисторы П213Б стабилизатора низковольтного источника - 12 В необходимо разместить на радиаторах площадью не менее 100 см2.
Выпрямитель для питания лампово-полупрсводникового трансивера
Doc
Просмотров: 3962