Двуполярный блок питания предназначен для обеспечения работы разнообразных устройств, собранных на транзисторах
Основные
параметры
Выходное напряжение каждого плеча, В
0,7.. 5,5
Максимальный ток нагрузки, А
2,5
Коэффициент стабилизации
1200
Выходное сопротивление, Ом
при токе нагрузки 0,5 А
0,01
при токе нагрузки 2,5 А
0,015
Двойная амплитуда пульсаций выходного напряжения (при токе
нагрузки 2,5 А), В
2
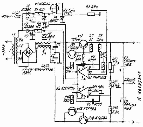
Блок питания состоит из одного общего выпрямителя (V7- У10) и двух взаимно зависимых компенсационных стабилизаторов, выполненных по последовательной схеме (V11, V12, А1 и V13, V14, A2).
Одним стабилизатором управляет сигнал с узла сравнения (V3) выходного и образцового напряжений. Для управления другим стабилизатором используется сумма выходных напряжений стабилизаторов.
Источником образцового напряжения для верхнего (по схеме) стабилизатора служит параметрический стабилизатор на стабилитроне V4 с последовательно включенным токостабилизирующим элементом (полевой транзистор V3). Источником образцового напряжения для нижнего плеча является выходное напряжение верхнего плеча на резисторном делителе R12, R13, R14 и в виде разности абсолютных значений поступает на инвертирующий вход ОУ А2. Усиленный разностный сигнал поступает на регулирующий элемент (V13, V14) и изменяет его сопротивление.
Указанные параметры блока питания можно получить, если использовать ОУ с коэффициентом усиления 10 000 (при разомкнутой цепи обратной связи) и транзисторы со статическим коэффициеятом передачи тока h21э> 50.
Трансформатор Т1 намотан на магнитопроводе Ш 28 X 42. Обмотка I содержит 900 витков провода ПЭВ-1 - 0,15, обмотки II б и II в - по 50 витков ПЭВ-1 - 1,0.
Дроссель L1 выполнен на магнитопроводе Ш16 X 40 без зазора. На каркас наматывают 150 витков в два провода ПЭВ-1 - 1,0 без изоляционных прокладок и включают получившиеся обмотки согласно схеме.