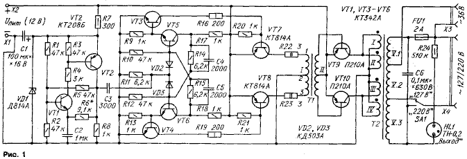
Задающий генератор питается от параметрического стабилизатора напряжения R7VD1 со сглаживающим конденсатором С1, что обеспечивает высокую стабильность частоты — не хуже 2% при изменении питающего напряжения от 8 до 16 В. С выхода задающего генератора (с коллектора транзистора VT2) импульсы напряжения через дифференцирующую цель С3R11 поступают на триггер, который вырабатывает противофазные симметричные импульсы последовательности (вида “меандр”) с частотой 50 Гц.
Благодаря этому исключаются протекание постоянной составляющей тока через первичную обмотку согласующего трансформатора Т1 и перегревание транзисторов /Т7, /Т8. Импульсы напряжения, снимаемые со вторичных обмоток этого трансформатора, управляют мощными транзисторами VT9, VT10, возбуждающими в первичных обмотках I—IV трансформатора Т2 импульсный ток амплитудой 20 А, что обеспечивает необходимую мощность на его вторичной обмотке V. Эта обмотка рассчитана на подключение к ней нагрузок на напряжение 220 и 127 В через разъем Х4 и 36 В через Х3.
Преобразователь смонтирован в прочном металлическом кожухе размерами 320х240х160 мм. Расположение деталей и узлов в кожухе (вид сверху) показано на рис. 2. Детали слаботочных узлов устройства размещены на печатной плате 1 из фольгированного стеклотекстолита толщиной 2 мм. Чертеж платы 1 представлен на рис.3
Вспомогательная плата 2 (рис.2) служит для распайки выводов узлов и деталей, несущих большой ток, — выводов обмоток трансформаторов, транзисторов VT7—VT10, цепей источника питания. Вспомогательная плата выполнена из двустороннего фольгированного стеклотекстолита толщиной 2 мм. На ней симметрично на обеих сторонах сформировано по шесть фольговых площадок (см. рис.4), что позволяет, пропаяв при монтаже выводы с обеих сторон, увеличить сечение соединений. На рис.4 площадки заштрихованы; крестами помечены центры сквозных отверстий.
Входные зажимы “Uпит” Х1, Х2, розетки ХЗ, Х4 для подключения нагрузок, переключатель выходного напряжения “220/ 127 В” SА1, держатели предохранителя FU1 и индикатора выходного напряжения HL1 смонтированы на лицевой панели преобразователя, выполненной из текстолита толщиной 3 мм. В боковых стенках и крышке кожуха просверлены вентиляционные отверстия диаметром 10 мм.
рансформаторы Т1, Т2, теплоотводы транзисторов /Т9, VТ10, печатные платы 1 и 2 установлены на основании устройства, которое изготовлено из фанеры толщиной 10мм. Цепи преобразователя, по которым течет большой ток, следует выполнять медным проводом диаметром не менее 2 мм. Их длина должна быть минимальной. Эти требования следует отнести и к проводам, соединяющим преобразователь с источником питания.
Магнитопровод согласующего трансформатора Т1 набран из пластин Ш16, толщина набора 20 мм. Первичная обмотка I состоит из 2х200 витков провода ПЭВ-1 0,47, а вторичная II — 2х50 витков провода ПЭВ-1 0,72. Трансформатор Т2 выполнен на магнитопроводе Ш40х40. Первичные обмотки I—IV этого трансформатора содержат по 45 витков провода ПЭВ-1 1,88. Обмотки I и II, III и IV соединены попарно параллельно. Секции V.1, V.2 вторичной обмотки V (145+375 витков) намотаны проводом ПЭВ-1, 0,72, а V.3 (380 витков) — проводом ПЭВ-1 0,51. Транзисторы КТ342А (VT1, VT3 - VT6) можно заменить на КТ342Б, КТ315Б, КТ315Г, КТ315Е, КТ3102 с любой буквой; КТ208Б (VТ2) - на КТ208Д, КТ208И, КТ208М, КТ209Д, КТ209Е, КТ209И, КТ209К, КТ361Б, КТ361Е, КТ3107 с любой буквой; КТ814 (VT7, VT8) — на КТ816А, ГТ403Б— ГТ403Д.
место П210А можно использовать транзисторы П210Б, ГТ806А—ГТ806Д, 1Т813А—1Т813В (или на кремниевые (КТ818А, но при этом придеться увеличить число витков вторичной обмотки трансформатора Т1 на 20%). Эффективная площадь поверхности каждого из теплотводов транзисторов VT9, VT10 — не менее 100 см2.
Диоды VD2, VD3 могут быть любыми маломощными, например, из серий КД503, Д218, Д9 и т.д. Конденсаторы C1 - К50-6, К50-16, С2-С5 - КД, КТ, КМ. Частота выходного напряжения преобразователя будет меньше зависеть от температуры окружающей среды, если выбрать более термостабильный конденсатор С2 (например, МБМ). Резисторы — МЛТ. Тумблер SA1 — любого типа.
Правильно собранный преобразователь начинает работать сразу, и налаживание его заключается лишь в подборке резистора R6 для установки частоты, вырабатываемой генератором импульсов, в пределах 100±2 Гц. Ток, потребляемый преобразователем без нагрузки, — примерно 1А.
А.ФИЛИППОВ.
Радио 10/94г.
ЛИТЕРАТУРА
1. Карлащук С., Карлащук В. Преобразователь для электробритвы. — Радио, 1989, N 11, с.69.
2. Нечаев И. Преобразователь напряжения. — Радио, 1992, N 4, с.45,46.
Это устройство незаменимо в тех ситуациях, когда необходимо питать какие-либо механизмы или приборы, рассчитанные на напряжение переменного тока 36, 127, 220 В частотой 50 Гц, например, электронасос “Крот”, электробритву “Микма”, электропаяльник, а единственным источником электроэнергии оказывается аккумуляторная батарея автомобиля.