Бестрансформаторный блок питания

Построение вторичных источников питания с использованием преобразователей выпрямленного сетевого напряжения (без сетевого трансформатора) привлекает внимание разработчиков не только компактностью конструкции. В некоторых случаях такой блок оказывается наиболее рациональным с точки зрения обеспечения электромагнитной совместимости узлов в переносной аппаратуре. Описанный ниже источник питания отличается высокими эксплуатационными характеристиками, что позволяет использовать его в высококачественной аппаратуре.

Основные технические характеристики
Напряжение сети, В ... 220±15%
Потребляемый от сети ток, нА ... 25
Частота преобразования, кГц ... 20
Выходное стабилизированное напряжение при токе
нагрузки до 200 мА и суммарном коэффициенте
пульсации (амплитудное значение) 0,02 %, В ... 2х9
Коэффициент стабилизации ... 2000
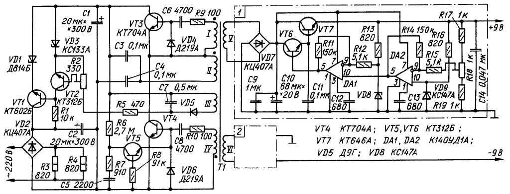
Блок питания состоит из преобразователя, разделительного трансформатора и компенсационного стабилизатора двуполярного напряжения. Выпрямленное диодным мостом VD2 сетевое напряжение перед подачей на преобразователь подвергают предварительной стабилизации. Стабилизатор собран на транзисторах VT1, VT2. Образцовый источник VD3R2, включенный в эмиттерную цепь транзистора VT2 элемента сравнения и усилителя сигнала рассогласования, питается от обмотки III трансформатора Т1 через выпрямитель на диоде VD5.
Преобразователь построен по полумостовой схеме на трансформаторе Т1 (обмотки I, II и IV), конденсаторах С3, С4 и Транзисторах VT3, VT4. RC-цепи R9C6, R10C8 - времязадающие. Эмиттерный переход транзисторов VT3 и VT4 защищен диодом (VD4, VD6). Узел запуска преобразователя представляет собой релаксатор на транзисторе VT5, лавинообразный режим работы которого и параметры запускающего импульса заданы элементами R6-R8, С5.
После включения блока в сеть конденсатор С5 заряжается через резисторы R6, R7, стабилитрон VD1 и открытый транзистор VT1. Когда напряжение на коллекторе транзистора VT5 достигнет 70...90 В, он лавинообразно открывается и конденсатор С5 разряжается через транзистор VT5, эмиттерный переход транзистора VT4 и резистор R7. В результате транзистор VT4 открывается и преобразователь начинает работать. Конденсатор С5 периодически разряжается через транзистор VT5, который открывают импульсы с обмотки IV трансформатора Т1.

 

 

После запуска преобразователя в работу вступает параметрический стабилизатор на стабилитроне VD3 и транзистор VT1 вместе с открывшимся транзистором VT2 переходят в режим стабилизации напряжения. При изменении напряжения сети, например при увеличении, увеличивается напряжение на обмотке III, что приводит к увеличению тока через транзистор VT2 и уменьшению коллекторного тока транзистора VT1 и, следовательно, к уменьшению напряжения питания преобразователя (напряжения на конденсаторе С1). При уменьшении тока нагрузки процесс авторегулирования происходит аналогично.
При изменении сетевого напряжения на ±15% и тока нагрузки от 0 до 200 мА изменение напряжения на входе вторичных стабилизаторов (на выходе моста VD7) не превышает ±1 В при номинальном напряжении 12,5 В (устанавливают резистором R2). При этом падение напряжения на регулирующем элементе сетевого стабилизатора (между плюсовыми выводами конденсаторов С1 и С2) изменяется от 15 до 80 В. Введение сетевого стабилизатора позволяет обеспечить практически номинальный режим работы ОУ в выходных стабилизаторах и обойтись небольшим теплоотводом для регулирующего транзистора VT7 (площадью около 4 см2; при этом площадь теплоотвода для транзистора VT1 равна примерно 8см2).
Выходной компенсационный стабилизатор содержит регулирующий транзистор VT7, эмиттерный повторитель на транзисторе VT6, усилитель постоянного тока на ОУ DA1, DA2 и параметрический стабилизатор на стабилитроне VD8. Каждый ОУ охвачен отрицательной обратной связью (через резисторы R11, R12 и R14, R16), обеспечивающей повышение быстродействия управляющего элемента. Применение быстродействующего усилителя постоянного тока в контуре регулирования позволяет улучшить переходную характеристику стабилизатора и исключить конденсатор большой емкости на его выходе. Для рассматриваемого блока такое техническое решение с использованием конденсатора С11 сравнительно небольшой емкости эквивалентно включению на выходе стабилизатора конденсатора емкостью 1000 мкф.
Следует отметить, что можно обойтись и одним ОУ при незначительном ухудшении характеристик стабилизатора, однако емкость конденсатора С11 необходимо увеличить (была опробована работа с конденсатором емкостью 68 мкФ). При таком упрощении выход ОУ DA2 подключают непосредственно к базе транзистора VT6, а все элементы, относящиеся к ОУ DA1, исключают.
В устройстве использованы постоянные резисторы МЛТ; R2, R18 - СП3-27; конденсаторы C1, C2 - К50-7 на 300/345 В; С3, С4 - К73-17 на 250 В; С5, С6, С8, С12, С13 - КМ-5а; С7, С9, С11 - КМ-6; С10 - К53-1. Транзисторы КТ704А могут быть заменены на КТ940, КТ605 с любым буквенным индексом, КТ312В - на КТ315Б с уменьшением сопротивления резистора R8 до 10 кОм, КТ646А - на КТ602, КТ503, ГТ404 с любым буквенным индексом.
Трансформатор Т1 намотан на кольце типоразмера К28х16х9 из феррита 3000НН. Обмотки I и IV содержат по 12 витков провода ПЭЛШО 0,15, обмотка II - 240 витков провода ПЭВ-2 0,25, обмотка III - 15 витков провода ПЭЛШО 0,15, обмотки V и VI - по 34 витка провода ПЭВ-2 0,35.
Элементы, относящиеся к собственно преобразователю, необходимо экранировать.
Правильно смонтированный источник обычно начинает работать сразу. В том случае, когда не запускается преобразователь, необходимо проверить правильность подключения обмоток и узел запуска, работа которого может быть проверена путем контроля на экране осциллографа (с закрытым входом) формы сигнала на коллекторе транзистора VT5 - сигнал должен иметь вид последовательности пилообразных импульсов с частотой несколько сотен герц.
Налаживание сетевого стабилизатора заключается (при номинальных напряжении сети и токе нагрузки) в установке резистором R2 падения напряжения между плюсовыми выводами конденсаторов C1, C2 равным 40...45 В, напряжение на коллекторе транзистора VT5 при этом должно быть около 12,5 В. Выходное напряжение 2х9 В устанавливают резисторами R18.


В. КАРЛАЩУК, С. КАРЛАЩУК, г. Москва, Радио №7, 1987 г., стр.56

Обсудить эту статью на форуме (0 ответов).
Вся информация, предоставленная на данном ресурсе разрешена к ознакомлению детям школьного возраста. Все практическое использование может быть связана с повышенной электрической опасностью и разрешено детям только под присмотром взрослых.