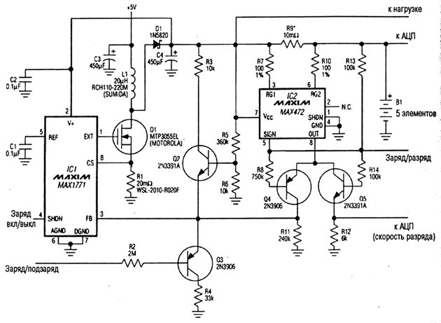
На микросхеме IC1 собран импульсный повышающий стабилизированный преобразователь напряжения, который увеличивает напряжение VIN (номинально 5 В) до уровня, необходимого для поддержания соответствующих тока заряда и тока нагрузки. Источник питания 5 В должен быть снабжен схемой защиты от короткого замыкания. IC2 - усилитель-датчик тока положительной шины, который отслеживает ток заряда. Процессор может выдавать устройству команды ЗАРЯД ВКЛ./ВЫКЛ. и БЫСТРЫЙ/КОМПЕНСАЦИОННЫЙ ЗАРЯД.
Микросхема IC2 формирует выходной ток (вывод OUT) равный 10-4 от тока через датчик на резисторе R9. Транзисторы Q3 и Q4 в режиме быстрого заряда включены, так что выходной ток микросхемы IC2 течет через параллельное соединение резисторов R11 и R4 (если не учитывать ток базы транзистора Q3). В результате сигнал обратной связи, поступающий на микросхему IC1 (вывод 3), поддерживает ток быстрого заряда, протекающий через R9, на уровне 500 мА. Эта обратная связь также позволяет стабилизатору выдавать ток до 500 мА в дополнительную нагрузку помимо стабильного тока заряда равного 500 мА.
Транзистор Q2 ограничивает напряжение на батарее на уровне 10В (по 2 В на элемент). В режиме быстрого заряда внешний процессор и многоканальный аналого-цифровой преобразователь отслеживают напряжение на клеммах батареи. Когда с помощью АЦП определяется изменение скорости нарастания напряжения на батарее, процессор выключает режим быстрого заряда, подавая высокий уровень на линию БЫСТРЫЙ/КОМПЕНСАЦИОННЫЙ ЗАРЯД.
Транзистор Q3 выключается, вызывая увеличение напряжения на выводе обратной связи (FB), что приводит к уменьшению тока заряда до уровня тока компенсационного заряда (примерно 60 мА). Если микросхема IC1 выключается или суммарный ток нагрузки и заряда превышает допустимый для IC1 уровень, направление тока резистора R9 изменяется на противоположное, поскольку ток начинает течь от батареи. Микросхема IC2 отрабатывает изменение направления тока изменением состояния на выходе с открытым коллектором SIGN, на котором за счет резистора R13 появляется напряжение высокого уровня, выключая транзистор Q4 и включая транзистор Q5. В таком случае ток через резистор R12 создает напряжение, пропорциональное току разряда батареи (ток 5 А через R9 вызывает появление на резисторе R12 напряжения равного 3 В). Интегрируя это напряжение по времени (измеряя его через фиксированные промежутки и умножая на длительность интервала), аналого-цифровой процессор отслеживает энергию, потребленную от батареи. По полученным данным и по замерам напряжения на батарее процессор может затем вновь включить режим быстрого заряда установкой низкого уровня на линии БЫСТРЫЙ/КОМПЕНСАЦИОННЫЙ ЗАРЯД вплоть до того момента, когда батарея полностью выработает свой ресурс.
Источник тока на базе высокоэффективного импульсного преобразователя LT1511 разработан с целью применения в зарядных устройствах для аккумуляторов портативной аппаратуры. Зарядное устройство на LT1511 имеет выходную характеристику «стабильное напряжение/стабильный ток», необходимую для за-i ряда литий-ионных батарей. Им можно заряжать и никель-кадмиевые, и никель-металлгидридные (NiMH) батареи, но при использовании внешней цепи функции окончания заряда. Максимальный ток заряда может программироваться как резисторами, так и с помощью ЦАП. Цепь контроля входного тока в LT1511 позволяет одновременно использовать аппаратуру и подзаряжать батареи, не перегружая сетевой адаптер. В таком случае ток заряда автоматически понижается, чтобы поддерживать ток сетевого адаптера на номинальном уровне