Импульсный блок питания устройств памяти

Предлагаемый стабилизатор напряжения блока питания устройств памяти разработан с учетом требований к источнику питания компьютера, и практически свободен от некоторых недостатков, присущих аналогичным устройствам. Связь выхода блока с входом - трансформаторная, что исключает возможность повышения выходного напряжения при выходе из строя ключевого транзистора. Высокий КПД стабилизатора (более 75 %) упрощает проблему отвода тепла.
Устройство не содержит дефицитных деталей и не критично к их параметрам. В связи с тем, что на некоторые микросхемы памяти запрещено подавать питание +5 В без напряжения -5 В, в описываемом стабилизаторе предусмотрена возможность блокировки его при пропадании входного напряжения -5 В.
Стабилизатор позволяет устанавливать выходное напряжение в пределах 2...40 В.
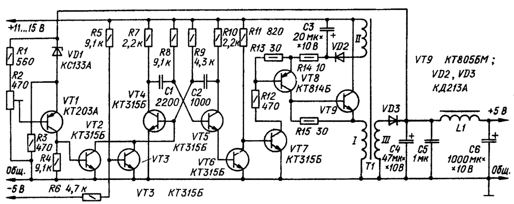
Устройство (рис.1) образуют мультивибратор на транзисторах VT4 и VT5 с регулятором скважности импульсов на транзисторе VT2; усилитель тока на транзисторах VT6 и VT7; узел вольтодобавки, состоящий из обмотки П трансформатора Т1, диода VD2, резистора R14 и конденсатора С3; выходной узел, включающий в себя обмотку III трансформатора Т1, выпрямитель на диоде VD3, выходной фильтр L1C4-C6; узел сравнения на транзисторе VT1, стабилитроне VD1 и резисторах R1-R4.

Основные технические характеристики стабилизатора
Напряжение источника питания, В . . . 11..15
Выходное напряжение, В . . . 5
Напряжение пульсаций, В, не более . . . 0,25
Выходной ток, А . . . 0,5..1,6
КПД, % . . . 75..85
Частота преобразования, кГц . . . 8..40

 

принципиальная схема

принципиальная схема

 

печатная плата

печатная плата

 

Стабилизатор может работать и при токе нагрузки, меньшем указанного, однако при этом уровень пульсаций может превысить 0,25 В. Это происходит из-за уменьшения частоты преобразования стабилизатора. Уменьшить пульсации можно заменой конденсаторов фильтра С4-С6 другими, с большей емкостью. К увеличению уровня пульсаций приводит и повышение напряжения питания стабилизатора.
При подаче питания на блок и наличии напряжения - 5 В транзисторы VT1, VT2 и VT3 закрыты, поэтому мультивибратор начинает работать на некоторой частоте. Импульсы мультивибратора фиксированной длительности, усиленные по току транзисторами VT6 и VT7, открывают ключевые транзисторы VT8, VT9, и через них начинает протекать ток в обмотку I импульсного трансформатора Т1. После закрывания ключевых транзисторов напряжение самоиндукции трансформатора, снимаемое с обмоток II и III, через диоды VD2 и VD3 заряжает соответственно конденсаторы C3 и C4.
В случае повышения напряжения на конденсаторе C6 более 5 В открываются транзисторы VT1 и VT2, что приводит к увеличению скважности импульсов мультивибратора и, следовательно, уменьшению выходного напряжени блока.
Обмотка II импульсного трансформатора совмесно с диодом VD2 и конденсатором C3 образуют источник вольтодобавки - постоянного напряжения 2…3 В, которое не позволяет транзистору VT8 входить в насыщение и тем самым увеличивает быстродействие ключевой ступени и КПД устройства в целом.
Узел блокировки, выключающий питание устройства памяти в случае пропадания напряжения -5 В, образуют транзистор VT3 я резисторы R5, R6. При пропадании этого напряжения тут же полностью открывается транзистор VT3 и малым сопротивлением шунтирует цепь базы транзистора VT4, блокируя работу мультивибратора стабилизатора.
Постоянные резисторы блока - МЛТ, подстроечный R1 - СП5-16; конденсаторы - КМ-5, КМ-6. К50-6. Транзистор VT9 и диод VD3 установлены на одной общей медной теплоотводящей пластике размерами 135х50х2 мм через слюдяные прокладки.
Импульсный трансформатор Т1 намотан на броневом магнитопроводе Б36 из феррита 2000НМ с бумажной прокладкой толщиной 0,2 мм между чашками. Обмотки I и III выполнены жгутом из 10 проводов ПЭВ-2 0,2 и содержат соответственно 10 и 6 витков. Обмотка II - 3 витка провода ПЭВ-2 0,2.
Дроссель L1 намотан на кольце типоразмера К20х10х6 из феррита 2000ММ. Обмотка содержит 20 витков провода ПЭВ-2 0,5.


С. Швецов, г. Санкт-Петербург, Радио №10, 1991 г., стр.37

Обсудить эту статью на форуме (0 ответов).
Вся информация, предоставленная на данном ресурсе разрешена к ознакомлению детям школьного возраста. Все практическое использование может быть связана с повышенной электрической опасностью и разрешено детям только под присмотром взрослых.