Источник питания для измерительных приборов

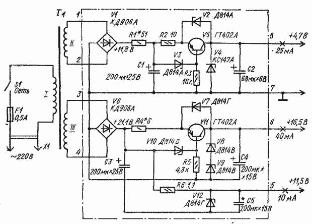
Современные измерительные приборы могут быть собраны на транзисторах, операционных усилителях и цифровых микросхемах. Для питания таких приборов необходимо иметь источник напряжения, обеспечивающий минимум три напряжения: 5; 12 и 20 В. Один из вариантов такого источника питания обеспечивает близкие к упомянутым значениям напряжения.

Стабилизаторы на транзисторах V5 и VII снабжены защитой от короткого замыкания посредством стабилитро нов V2 и V7. При коротком замыкании стабилитроны открываются и ограничивают коллекторный ток транзисторов. После устранения короткого замыкания устройство автоматически возвращается в рабочий режим.

В схеме использован готовый трансформатор ТВК-110ЛМ-К (выходной трансформатор кадровой развертки от телевизоров). Диодные матрицы VI и V6 можно заменить диодами Д226, Д237 и др.

Налаживают блок питания подбором резисторов RI и R4 до получения номинального тока в нагрузке.

Обсудить эту статью на форуме (0 ответов).
Вся информация, предоставленная на данном ресурсе разрешена к ознакомлению детям школьного возраста. Все практическое использование может быть связана с повышенной электрической опасностью и разрешено детям только под присмотром взрослых.