Е. КОНОВАЛОВ, г. Мариуполь, Украина
Автор этой статьи рассказывает о весьма перспективном виде преобразователя напряжение - квазирезонансном. Описываемое устройство обеспечивает исключительно высокий КПД преобразования, допускает регулирование выходного напряжения и его стабилизацию, устойчиво работает при вариации мощности нагрузки.
В современных сетевых блоках питания - различной аппаратуры широко используют транзисторные преобразователи напряжения. Их преимущества перед трансформаторными блоками общеизвестны - меньшие габариты и снижение расхода меди при той же отдаваемой мощности, что с лихвой окупает их сложность, особенно в серийном производстве.
Чем больше рабочая частота преобразования, тем выше его экономические показатели. Однако с увеличением частоты переключения транзисторов увеличиваются и коммутационные потери и соответственно снижается КПД преобразователя.
Значение коммутационных потерь любого преобразователя определяют в основном два фактора - наличие сквозного тока и значительное время закрывания мощных переключательных транзисторов при большом коллекторном токе. Время их открывания, как правило, в семь-десять раз меньше и существенного влияния на КПД не оказывает.
Сквозной ток возникает при переключении транзисторов в мостовых и полумостовых преобразователях. Он протекает в то время, когда транзистор одного плеча преобразователя уже открыт, а другого еще не успел закрыться.
Для устранения этого явления процесс переключения разбивают на два этапа. Сначала обеспечивают закрывание транзистора в одном из плеч, а затем, через 3...5 мкс (типовое время закрывания мощных транзисторов), - открывание в другом. Этот способ используют в преобразователях с внешним возбуждением, но он неприменим в автогенераторных. Длительное закрывание при большом коллекторном токе приводит к тому, что в это время на закрываемом транзисторе выделяется бесполезная мощность, среднее значение которой выражает формула: P=Im*Um*F*tзакр/6,
где Im - коллекторный ток транзистора к началу его закрывания;
Um- напряжение на коллекторе после закрывания;
F - рабочая частота преобразователя;
tзакр - время закрывания транзистора.
Существуют различные схемные решения, позволяющие форсировать процесс закрывания, однако они требуют дополнительных энергетических затрат и уменьшают время закрывания, в лучшем случае не более чем в два раза от паспортного, а зачастую лишь помогают удержаться на уровне этого значения.
Кроме коммутационных, есть потери мощности из-за падения напряжения на открытом транзисторе, но они зависят лишь от выбора транзисторов и в сетевых преобразователях не превышают 0,5...1 % от преобразуемой мощности.
Все разнообразие существующих преобразователей напряжения, как с внешним возбуждением, так и автогенераторных, можно условно разбить на несколько видов по характеру коллекторного тока и напряжения в момент коммутации. Первый и наиболее распространенный - импульсный, для которого характерен максимальный коллекторный ток к моменту закрывания транзисторов и максимальное коллекторное напряжение после.
В таком преобразователе действуют обе составляющие коммутационных потерь, поэтому при рабочей частоте 15...25 кГц на них приходится 8...15 % преобразуемой мощности. Несмотря на это, импульсные преобразователи наиболее распространены благодаря простоте реализации и гибкости управления выходным напряжением, что позволяет совмещать преобразование напряжения с его стабилизацией.
Второй вид - резонансный преобразователь. Упрощенным его примером может служить обычный LC-генератор с трансформаторной обратной связью и цепью автоматического смещения. Реактивные элементы коллекторной цепи рассчитывают так, чтобы либо перед закрыванием транзистора его коллекторный ток уменьшался почти до нуля, либо сразу после закрывания коллекторное напряжение было очень мало. Это позволяет снизить общие потери на переключательных транзисторах до 1 ...2 % от преобразуемой мощности и уменьшить уровень радиопомех по сравнению с импульсным преобразователем.
Интересен и незаслуженно мало распространен третий вид - квазирезонансный, который в значительной мере избавлен от недостатков обоих предыдущих. Идея создания такого преобразователя не нова, но практическая реализация стала целесообразной сравнительно недавно, после появления мощных высоковольтных транзисторов, допускающих значительный импульсный ток коллектора при напряжении насыщения около 1,5 В.
Главная отличительная особенность и основное преимущество этого вида источника питания - высокий КПД преобразователя напряжения, достигающий 97...98 % без учета потерь на выпрямителе вторичной цепи, которые в основном определяет ток нагрузки.
Высокий КПД в ряде случаев вообще избавляет от необходимости применять теплоотводы для мощных транзисторов преобразователя, что позволяет значительно уменьшить размеры аппаратуры, не говоря уже о прочих преимуществах экономического характера.
От обычного импульсного преобразователя, у которого к моменту закрывания переключательных транзисторов ток, протекающий через них, максимален, квазирезонансный отличается тем, что к моменту закрывания транзисторов их коллекторный ток близок к нулю. Причем уменьшение тока к моменту закрывания обеспечивают реактивные элементы устройства.
От резонансного он отличается тем, что частота преобразования не определяется резонансной частотой коллекторной нагрузки. Благодаря этому можно регулировать выходное напряжение изменением частоты преобразования и реализовывать стабилизацию этого напряжения.
Более подробно принцип работы полумостового квазирезонансного преобразователя поясним по упрощенной схеме, представленной на рис. 1,а. Диаграммы тока и напряжения в характерных точках в установившемся режиме работы показаны на рис. 1,б. Для простоты предположим, что время переключения транзисторов бесконечно мало; это упрощение, как показала практика, не влияет на достоверность диаграмм.
Предположим также, что значения параметров элементов удовлетворяют соотношениям: LТ>>L1 и Fпт
Рассмотрение начнем с момента to, когда открывается транзистор VT1 и через него, а также через дроссель L1 и первичную обмотку трансформатора Т1 начинает заряжаться конденсатор С1. В этот момент напряжение на конденсаторе С2 и нагрузке Rн меньше напряжения (Uпит-Uc1)n-UD, где Uc1 - напряжение на конденсаторе С1; n - коэффициент трансформации трансформатора Т1; UD - прямое падение напряжения на выпрямительном диоде VD1 (или VD2). При этом диод VD1 открыт и через него проходит ток зарядки конденсатора С2.
Заряжаясь, конденсатор С2 шунтирует вторичную обмотку трансформатора Т1, поэтому скорость зарядки конденсатора С1 определяется его собственной емкостью и малой индуктивностью дросселя L1 и не зависит от индуктивности первичной обмотки трансформатора. Так как по мере зарядки конденсатора напряжение на первичной обмотке уменьшается, а на конденсаторе С2 увеличивается, то в момент t, диод VD1 закрывается и в цепь зарядки конденсатора С1 включается большая индуктивность первичной обмотки ненагруженного трансформатора Т1. При этом ток через открытый транзистор VT1 скачком уменьшается до значения тока в первичной обмотке, к этому моменту еще незначительного, так как Lт>>L1.
Таким образом, с момента t1 и до момента переключения транзисторов t2 увеличение коллекторного тока определено индуктивностью первичной обмотки ненагруженного трансформатора, которую выбирают довольно большой. Фактически состояние цепи к моменту переключения соответствует режиму холостого хода. В реальных цепях роль дросселя L1 может выполнять индуктивность рассеяния трансформатора.
После закрывания транзистора VT1 и открывания VT2 происходит разрядка конденсатора С1. Ток через дроссель и обмотку I трансформатора протекает в противоположном направлении, но процессы идут по тем же законам. Необходимое условие существования описанного режима - скорость уменьшения напряжения на конденсаторе С2 при его разрядке через сопротивление нагрузки после закрывания диодов должна быть меньше скорости уменьшения напряжения на первичной обмотке трансформатора в этот же период времени, тогда выпрямительные диоды остаются закрытыми до очередного переключения транзисторов.
Для обеспечения минимальных потерь мощности прямое падение напряжения на открытом транзисторе должно быть минимальным при любом допустимом рабочем токе коллектора. Однако поддерживать для этого максимальный ток
базы на протяжении всего полупериода работы этого транзистора энергетически невыгодно, да и необходимости в этом нет. Достаточно обеспечить пропорциональность базового тока коллекторному; такое управление называют пропорционально-токовым.
Общий КПД блока, %................... 92
Напряжение на выходе, В, при сопротивлении нагрузки 8 Ом........ 18
Рабочая частота преобразователя, кГц............................. 20
Максимальная выходная мощность, Вт...................................55
Максимальная амплитуда пульсации выходного напряжения с рабочей частотой, В.................... 1,5
Поскольку к моменту закрывания транзистора реактивные элементы снижают до минимума ток коллектора, базовый ток также будет минимальным и, следовательно, время закрывания транзистора уменьшается до значения времени его открывания. Таким образом полностью снимается проблема сквозного тока, возникающего при переключении.
Иначе говоря, использование квазирезонансного режима совместно с пропорционально-токовым управлением позволяет практически полностью избавиться от коммутационных потерь.
Ниже описаны два практических варианта сетевого блока питания с квазирезонансным преобразователем и пропорционально-токовым управлением. Изготовление этих блоков не вызовет больших затруднений у радиолюбителей и позволит оценить все преимущества преобразователя. Стабилизированный блок уже более двух лет работает в высокочастотном частотомере и нареканий не вызывает.
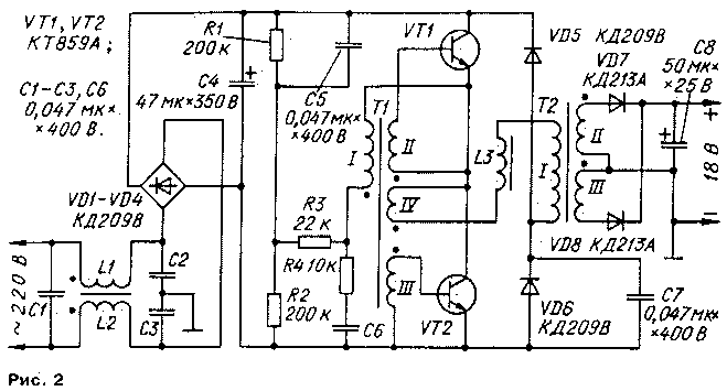
На рис. 2 показана принципиальная схема автогенераторного нестабилизированного блока питания.
Основная доля потерь мощности в блоке падает на нагревание выпрямительных диодов вторичной цепи, а КПД самого преобразователя таков, что нет необходимости в теплоотводах для транзисторов. Мощность потерь на каждом из них не превышает 0,4 Вт. Специального отбора транзисторов по каким-либо параметрам также не требуется. При замыкании выхода или превышении максимальной выходной мощности генерация срывается, защищая транзисторы от перегревания и пробоя.
Фильтр, состоящий из конденсаторов С1-С3 и дросселя L1L2, предназначен для защиты питающей сети от высокочастотных помех со стороны преобразователя. Запуск автогенератора обеспечивает цепь R4C6 и конденсатор С5. Генерация колебаний происходит в результате действия положительной ОС через трансформатор Т1, а частоту их определяют индуктивность первичной обмотки этого трансформатора и сопротивление резистора R3 (при увеличении сопротивления частота увеличивается).
Обмотка IV трансформатора Т1 предназначена для пропорционально-токового управления транзисторами. Легко видеть, что мощный разделительный трансформатор Т2 и цепи управления переключательными транзисторами (трансформатор Т1) разделены, что позволяет значительно ослабить влияние паразитных емкости и индуктивности трансформатора Т2 на формирование базового тока транзисторов. Диоды VD5 и VD6 ограничивают напряжение на конденсаторе С7 в момент запуска преобразователя, пока конденсатор С8 заряжается до рабочего напряжения.
При налаживании устройства необходимо удостовериться в том, что преобразователь работает в квазирезонансном режиме. Для этого последовательно с конденсатором С7 включают временный резистор сопротивлением 1 ...3 Ом мощностью 2 Вт и, подав сигнал с этого резистора на вход осциллографа, наблюдают на экране форму импульсов коллекторного тока обоих транзисторов при максимальной нагрузке.
Это должны быть разнополярно чередующиеся неперекрывающиеся по времени импульсы колоколообразной формы. Если они перекрываются, необходимо уменьшить индуктивность дросселя L3, отмотав 10...15 % витков, или уменьшить частоту генерации преобразователя подборкой резистора R3. Заметим здесь, что не все осциллографы допускают проведение измерений в цепях, гальванически не развязанных от электрической сети.
Дроссель L1L2 и трансформатор Т1 наматывают на одинаковых кольцевых магнитопроводах К12х8х3 из феррита 2000НМ. Обмотки дросселя выполняют одновременно, "в два провода", проводом ПЭЛШО 0,25; число витков - 20. Обмотка I трансформатора Т1 содержит 200 витков провода ПЭВ-2 0.1, намотанных внавал, равномерно по всему кольцу. Обмотки II и III намотаны "в два провода" - 4 витка провода ПЭЛШО 0,25; обмотка IV представляет собой виток такого же провода.
Для трансформатора Т2 использован кольцевой магнитопровод К28х16х9 из феррита 3000НН. Обмотка I содержит 130 витков провода ПЭЛШО 0,25, уложенных виток к витку. Обмотки II и III - по 25 витков провода ПЭЛШО 0,56; намотка - "в два провода", равномерно по кольцу. Дроссель L3 содержит 20 витков провода ПЭЛШО 0,25, намотанных на двух, сложенных вместе кольцевых магнитопроводах К12х8х3 из феррита 2000НМ.
Диоды VD7, VD8 необходимо установить на теплоотводы площадью рассеяния не менее 2 см2 каждый.
Номинальное выходное напряжение, В....................................5
Максимальный выходной ток, А......... 2
Максимальная амплитуда
пульсации, мВ....................... 50
Изменение выходного напряжения, мВ, не более, при изменении тока нагрузки от 0,5 до 2 А и напряжения сети от 190 до 250 В..................... 150
Максимальная частота преобразования, кГц.............................. 20
Описанное устройство было разработано для использования совместно с аналоговыми стабилизаторами на различные значения напряжения, поэтому потребности в глубоком подавлении пульсации на выходе блока не возникало. Пульсации можно уменьшить до необходимого уровня, воспользовавшись обычными в таких случаях LC-фильтрами, как, например, в описанном ниже блоке.
Схема стабилизированного блока питания на основе квазирезонансного преобразователя представлена на рис. 3. Выходное напряжение стабилизируется соответствующим изменением рабочей частоты преобразователя.
Как и в предыдущем блоке, мощные транзисторы VT1 и VT2 в теплоотводах не нуждаются. Симметричное управление этими транзисторами реализовано с помощью отдельного задающего генератора импульсов, собранного на микросхеме DD1.
Триггер DD1.1 работает в собственно генераторе. Импульсы имеют постоянную длительность, заданную цепью R7C12. Период же изменяется цепью ОС, в которую входит оптрон U1, так что напряжение на выходе блока поддерживается постоянным. Минимальный период задает цепь R8C13.
Триггер DD1.2 делит частоту следования этих импульсов на два, и напряжение формы "меандр" подается с прямого выхода на транзисторный усилитель тока VT4VT5. Далее усиленные по току управляющие импульсы дифференцирует цепь R2C7, а затем, уже укороченные до длительности примерно 1 мкс, они поступают через трансформатор Т1 в базовую цепь транзисторов VT1, VT2 преобразователя.
Эти короткие импульсы служат лишь для переключения транзисторов - закрывания одного из них и открывания другого. Базовый ток открытого управляющим импульсом транзистора поддерживает действие положительной ОС по току через обмотку IV трансформатора Т1. Резистор R2 служит также для демпфирования паразитных колебаний, возникающих в момент закрывания выпрямительных диодов вторичной цепи, в контуре, образованном межвитковой емкостью первичной обмотки трансформатора Т1, дросселем L3 и конденсатором С8. Эти паразитные колебания могут вызывать неуправляемое переключение транзисторов VT1, VT2.
Описанный вариант управления преобразователем позволяет сохранить пропорционально-токовое управление транзисторами и в то же время регулировать частоту их переключения с целью стабилизации выходного напряжения. Кроме того, основная мощность от генератора возбуждения потребляется только в моменты переключения мощных транзисторов, поэтому средний ток, потребляемый им, мал - не превышает 3 мА с учетом тока стабилитрона VD5. Это и позволяет питать его от первичной цепи через гасящий резистор R1.
Транзистор VT3 работает как усилитель напряжения сигнала управления подобно тому, как в компенсационном стабилизаторе. Коэффициент стабилизации выходного напряжения блока прямо пропорционален статическому коэффициенту передачи тока этого транзистора.
Применение транзисторного оптрона U1 обеспечивает надежную гальваническую развязку вторичной цепи от сети и высокую помехозащищенность по входу управления задающего генератора. После очередного переключения транзисторов VT1, VT2 начинает подзаряжаться конденсатор С10 и напряжение на базе транзистора VT3 начинает увеличиваться, коллекторный ток тоже увеличивается. В результате открывается транзистор оптрона, поддерживая в разряженном состоянии конденсатор С13 задающего генератора.
После закрывания выпрямительных диодов VD8, VD9 конденсатор С10 начинает разряжаться на нагрузку и напряжение на нем падает. Транзистор VT3 закрывается, в результате чего начинается зарядка конденсатора С13 через резистор R8. Как только конденсатор зарядится до напряжения переключения триггера DD1.1, на его прямом выходе установится высокий уровень напряжения. В этот момент происходит очередное переключение транзисторов VT1, VT2, а также разрядка конденсатора С13 через открывшийся транзистор оптрона. Начинается очередной процесс подзарядки конденсатора С10, а триггер DD1.1 через 3...4 мкс снова вернется в нулевое состояние благодаря малой постоянной времени цепи R7C12, после чего весь цикл управления повторяется, независимо от того, какой из транзисторов - VT1 или VT2 - открыт в текущий полупериод.
При включении источника, в начальный момент, когда конденсатор С10 полностью разряжен, тока через светодиод оптрона нет, частота генерации максимальна и определена в основном постоянной времени цепи R8C13 (постоянная времени цепи R7C12 в несколько раз меньше). При указанных на схеме номиналах этих элементов эта частота будет около 40 кГц, а после ее деления триггером DD1.2 - 20 кГц.
После зарядки конденсатора С10 до рабочего напряжения в работу вступает стабилизирующая петля ОС на элементах VD10, VT3, U1, после чего и частота преобразования уже будет зависеть от входного напряжения и тока нагрузки. Колебания напряжения на конденсаторе С10 сглаживает фильтр L4C9.
Дроссели L1L2 и L3 - такие же, как в предыдущем блоке. Трансформатор Т1 выполнен на двух сложенных вместе кольцевых магнитопроводах К12х8х3 из феррита 2000НМ. Первичная обмотка намотана внавал равномерно по всему кольцу и содержит 320 витков провода ПЭВ-2 0,08. Обмотки II и III содержат по 40 витков провода ПЭЛШО 0,15; их наматывают "в два провода". Обмотка IV состоит из 8 витков провода ПЭЛШО 0,25.
Трансформатор Т2 выполнен на кольцевом магнитопроводе К28х16х9 из феррита 3000НН. Обмотка 1-120 витков провода ПЭЛШО 0,15, а II и III - по 6 витков провода ПЭЛШО 0,56, намотанных "в два провода".
Вместо провода ПЭЛШО можно использовать провод ПЭВ-2 соответствующего диаметра, но при этом между обмотками необходимо прокладывать два- три слоя лакоткани.
Дроссель L4 содержит 25 витков провода ПЭВ-2 0,56, намотанных на кольцевой магнитопровод К12х6х4,5 из феррита 100НН1. Подойдет также любой готовый дроссель индуктивностью 30...60 мкГн на ток насыщения не менее 3 А и рабочую частоту 20 кГц.
Все постоянные резисторы - МЛТ. Резистор R4- подстроечный, любого типа. Конденсаторы С1-С4, С8 - К73-17, С5, С6, С9, С10-К50-24, остальные-КМ-6. Стабилитрон КС212К можно заменить на КС212Ж или КС512А. Диоды VD8, VD9 необходимо установить на радиаторы площадью рассеяния не менее 20 см2 каждый.
Для налаживания блока необходимо подключить параллельно резистору R1 временный резистор сопротивлением 1 кОм мощностью 0,25-1 Вт и, не подключая нагрузку, подать на вход блока постоянное или переменное напряжение амплитудой 15...20 В, а на выход - постоянное напряжение 5 В в соответствующей полярности. Движок резистора R4 установить в нижнее по схеме положение.
Вход Y осциллографа подключают к коллектору и эмиттеру транзистора VT2. На экране должны быть видны прямоугольные импульсы со скважностью 2 ("меандр") амплитудой 14...19 В и частотой 20 кГц. Если при перемещении движка резистора R4 вверх происходит уменьшение частоты, а затем срыв колебаний, то узел стабилизации работает нормально.
Установив резистором R4 частоту в пределах 3...5 кГц, отключают питание от входа и выхода, снимают временный резистор. К выходу блока подключают эквивалент нагрузки, а вход - к сети, и устанавливают резистором R4 выходное напряжение.
КПД обоих блоков можно повысить, если вместо диодов КД213А использовать диоды Шотки, например, любые из серии КД2997. В этом случае теплоотводы для диодов не потребуются.
ЛИТЕРАТУРА
1. Электронная техника в автоматике. Под ред. Ю.И. Конева. Вып. 17. - М.: Радио и связь, 1986.
2. Афонин Л. Н., Бочарников М. Я., Грибачов А. П. и др. Мощные высоковольтные переключающие транзисторы в схемах вторичных источников питания с бестрансформаторным входом. - Электронная техника, сер. 2. Полупроводниковые приборы,1982, вып.3 (154).
Радио N2, 1996г. стр 53.
Обсудить эту статью
Вся информация, предоставленная на данном ресурсе разрешена к ознакомлению детям школьного возраста. Все практическое использование может быть связана с повышенной электрической опасностью и разрешено детям только под присмотром взрослых.