Тиристорный преобразователь тока предназначен для преобразования постоянного тока в переменный. Например, для питания от бортовой сети автомобиля устройств, рассчитанных на эксплуатацию от 127-220 В. На рис VIII.26 изображена схема такого преобразователя релаксационного типа. 
При подключении питания тринисторы V2, V3 попеременно открываются, создавая пульсирующий ток в первичной обмотке трансформатора Т1. На вторичной обмотке появляется напряжение, от которого питается нагрузка.
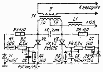
Емкость конденсатора С1 выбирают в зависимости от тока через тринисторы. Так, например, при токе 0,5 А достаточно емкости 2 мкФ, а при токе 2 А - емкость 20 мкФ. Конденсатор должен допускать работу при изменении полярности напряжения с амплитудой, в два раза превышающей напряжение питания.
Работоспособность устройства сохраняется при изменении напряжения питания от 12 до 24 В. В данном устройстве использован трансформатор Т1, со бранный на Тиагнитопроводе Ш20 X 30 Обмотка I содержит 2 X 160 витков провода ПЭВ-2 - 0,35, обмотка II, рассчитанная на напряжение 60 В,- 780 вит ков провода ПЭВ-2 - 0,25. Если необходимо получить со вторичной обмотки напряжение 220 В, число витков ее следует увеличить до 2860. Дроссель L1 содержит 350 витков провода ПЭВ 2 - 0,25, намотанных на таком же магнитопроводе, что и трансформатор.
Рабочая частота преобразователя с номиналами, указанными на схеме, 50 Гц, а выходная мощность около 10 Вт. Мощность преобразователя можно увеличить, заменив тринистор КУ201 на КУ202 и использовав Для обмотки трансформатора более толстый провод.