Экономичный стабилизатор с системой защиты

 Стабилизаторы напряжения с падающей характеристикой системы защиты обладают способностью автоматически возвращаться в режим стабилизации напряжения после устранения причины перегрузки, на регулирующем элементе в режиме замыкания нагрузки рассеивается сравнительно небольшая мощность.
Такой стабилизатор обычно содержит источник образцового напряжения, дифференциальный усилитель, систему защиты и регулирующий элемент на составном транзисторе. В систему защиты входят устройство ограничения тока нагрузки и цепь со стабилитроном, включенным параллельно регулирующему элементу. Эта цепь формирует падающий участок нагрузочной характеристики. Ограничитель тока нагрузки построен на токоизмерительном резисторе, включенном между базой и эмиттером транзистора, шунтирующего эмиттериые переходы регулирующего элемента.
Недостаток этих стабилизаторов - значительная разность между входным и выходным напряжениями, необходимая для нормальной работы устройства. Она состоит из падения напряжения на источнике тока в коллекторной цепи дифференциального усилителя и эмиттерных переходах составного транзистора регулирующего элемента и равна примерно 3 В. Столь большое значение не позволяет достичь высокого КПД устройства, особенно при низком выходном напряжении. Например, пятивольтовый стабилизатор, выполненный по подобной схеме, будет иметь КПД около 60 %.
Падение напряжения на стабилизаторе может быть снижено до 1... 1,5 В, если в источнике тока в коллекторной цепи дифференциального усилителя использовать германиевый транзистор, а в регулирующем элементе - составной транзистор с дополнительной симметрией.
Еще больше повысить КПД стабилизатора позволяет его построение по схеме "с малым напряжением потерь". Составной регулирующий транзистор должен быть включен здесь по схеме с общим эмиттером по отношению к нагрузке, поэтому для управления регулирующим элементом используют инвертирующий выход дифференциального усилителя. В этом случае необходимость в источнике тока отпадает, так как коллекторный ток с этого выхода дифференциального усилителя непосредственно служит базовым током составного транзистора регулирующего элемента. Минимальная разность между входным и выходным напряжениями, достаточная для нормальной работы стабилизатора, равна падению напряжения на токоизмерительном резисторе плюс напряжение насыщения выходного транзистора и не превышает 1 В.
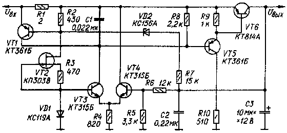
Добиться дальнейшего уменьшения напряжения потерь на стабилизаторе можно только одним путем - снижением падения напряжения на токоизмерительном резисторе. Эта возможность реализована в стабилизаторе, схема которого показана на рис.1. Резистор R2 устройства защиты включен в цепь источника тока, выполненного на полевом транзисторе VT2. Максимальный выходной ток Imax стабилизатора определяется выражением Imax ~ (0,6-UR2)/R1, где UR2 - падение напряжения на резисторе R2.
Подборкой резистора R3 устанавливают ток через резистор R2 равным 1 мА. Таким образом, максимальное падение напряжения на резисторе R1 примерно равно 0,2 В.

Основные технические характеристики стабилизатора
Коэффициент стабилизации . . . 500
Выходное сопротивление, Ом . . . 0,5
Максимальный ток нагрузки, мА . . . 100
Входное напряжение, В . . . 9,3...15
Выходное напряжение, В . . . 9
Коэффициент подавления пульсации, дБ . . . 55
КПД при входном напряжении 9,3 В, % . . . 93
Температурный коэффициент выходного напряжения, %/° С ~ -0,35 Вид нагрузочной характеристики стабилизатора при различных значениях входного напряжения показан на рис.2.
ределы изменения входного напряжения можно расширить в сторону увеличения использованием стабилитрона VD2 с более высоким напряжением стабилизации. При этом, однако, нагрузочная характеристика несколько изменится.
Стабилизатор обладает определенной универсальностью. Выходное напряжение можно изменять подборкой резистора R6 в пределах от Uo6p+(2…3) В до максимально допустимого напряжения Uкэ используемых транзисторов (Uобр - образцовое напряжение). Эти 2...3 В необходимы для работы источника тока, собранного на транзисторе VT2. Необходимой формы нагрузочной характеристики добиваются подборкой элементов VD2 и R7. Максимальный ток нагрузки устанавливают подборкой резистора R1. Без каких-либо изменений стабилизатор может работать при токе нагрузки до 1 А. При еще большем токе составной регулирующий транзистор должен быть уже не двойным, а тройным - придется добавить еще более мощный транзистор.
В стабилизаторе можно использовать и другие маломощные кремниевые транзисторы соответствующей структуры, подходящие по напряжению. Транзистор КТ814А также может быть заменен на другой, структуры p-n-n, рассчитанный на соответствующую рассеиваемую мощность. Следует использовать транзисторы с малым напряжением насыщения.
Описанный стабилизатор может быть рекомендован к использованию а устройствах, где требования к стабильности выходного напряжения умеренные, а главными факторами являются высокий КПД и наличие защиты от перегрузок и замыканий в нагрузке с автоматическим возвращением в рабочий режим после устранения перегрузки.

Обсудить эту статью на форуме (0 ответов).
Вся информация, предоставленная на данном ресурсе разрешена к ознакомлению детям школьного возраста. Все практическое использование может быть связана с повышенной электрической опасностью и разрешено детям только под присмотром взрослых.