Генератор H11887 DDS на AVR

dds ph1After all the installation, connect the power supply,right adjust the resistance 10K and you will see the character. Adjust the characterdds ph2 to clear type.

This signal generator has two outputs - one for DDS signal and another for high speed [1,2,4,8MHz] square signal - which may be used for reliving microcontrollers with wrong fuse settings or for other purposes as well. High speed (HS) signal is direct output from Atmega16 OC1A(PD5) pin. DDS output is used for all other signals that are generated via R2R resistor network and is adjusted via LM358N offset and amplitude regulating circuits. Offset and amplitude can be regulated by two potentiometers. Offset can be regulated in range +5V..-5V while amplitude in range 0..10V. DDS frequency range is from 1 to 65535Hz that is more than enough for testing audio circuits and other tasks.

Main AVR DDS signal generator features:

  • Simple circuit with easily accessible and cheap components;
  • Dedicated high speed (HS) signal output up to 8MHz;
  • DS signal with variable amplitude and offset;
  • DDS signals: sine, square, saw, rev saw, triangle, ECG and noise.
  • 2×16 LCD menu; · Intuitive 5 button keypad.
  • Frequency adjusting steps: 1, 10, 100, 1000, 10000Hz;

Restoring last configuration after power up. In the block diagram you may see logical structure of signal gdds pow

dds pow
enerator:

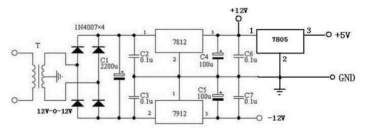
As you can see device requires several voltages: +5V, -12V, +12V, GND. -12V and +12V are used for offset and amplitude control. In this case power supply is constructed by using simple transformer and few voltagere gulators, et:7812,7912,7805.

LCD menu control All actions can be viewed in LCD menu. Menu can be controlled with 5DDS stuk buttons that are next to LCD module.

Up and down arrow buttons are used for browsing menu while right and left arrow buttons are used for changing frequency value. When middle button is pressed - signal generating starts. Press middle button again to stop signal generator.

Important to notice, that there is a separate menu for changing frequency step. This is convenient if you need to change generator frequencies in wide range. This allows to set any frequency with relatively few button clicks. Noise generation don’t have frequency setting. It uses simple rand function where results are continuously output to DDS output.

High speed signal hDDS shem

DDS shem
as four frequencies available: 1, 2, 4 and 8MHz.

Circuit diagram of DDS generator is very simple with easy accessible components. It uses following parts:

  • AVR Atmega16 microcontroller clocked with 16MHz external crystal;
  • Standard HD44780-based 2×16 LCD module;
  • R2R DAC made of simple resistors(1% tol);
  • LM358N low power dual op amplifier;
  • Two potentiometers;
  • 5 buttons;
  • several connectors and sockets.

We offer a programmed IC and all components in the suite.

dds lay2

dds lay2

dds lay1
dds lay1

 

Обсудить эту статью на форуме (0 ответов).
Вся информация, предоставленная на данном ресурсе разрешена к ознакомлению детям школьного возраста. Все практическое использование может быть связана с повышенной электрической опасностью и разрешено детям только под присмотром взрослых.